TOP
|
特許
|
意匠
|
商標
特許ウォッチ
Twitter
他の特許を見る
10個以上の画像は省略されています。
公開番号
2025146232
公報種別
公開特許公報(A)
公開日
2025-10-03
出願番号
2024046902
出願日
2024-03-22
発明の名称
ワイヤハーネス
出願人
株式会社オートネットワーク技術研究所
,
住友電装株式会社
,
住友電気工業株式会社
代理人
個人
,
個人
主分類
H02G
15/10 20060101AFI20250926BHJP(電力の発電,変換,配電)
要約
【課題】組立作業性を向上できるワイヤハーネスを提供する。
【解決手段】ワイヤハーネス10が備える第1シールド電線11および第2シールド電線12の各々は、芯線11a,12aと、芯線11a,12aの外周を覆う絶縁被覆11b,12bと、絶縁被覆11b,12bの外周を覆うシールド部材11c,12cと、を有する。ワイヤハーネス10は、芯線11a,12a同士が接続された芯線接続部15と、芯線接続部15の外周を覆う絶縁部材20と、を備える。ワイヤハーネス10は、絶縁部材20の外周を覆うとともに第1シールド電線11および第2シールド電線12の外周を覆う導電性のケース30と、ケース30と第1シールド電線11および第2シールド電線12との間をシールする接着剤60と、を備える。ケース30は、複数のシールド部材11c,12cの各々と電気的に接続される接続部34,38を有する。
【選択図】図2
特許請求の範囲
【請求項1】
複数のシールド電線を備えるワイヤハーネスであって、
前記複数のシールド電線の各々は、芯線と、前記芯線の外周を覆う絶縁被覆と、前記絶縁被覆の外周を覆うシールド部材と、を有し、
前記ワイヤハーネスは、
前記複数のシールド電線の前記芯線同士が接続された芯線接続部と、
前記芯線接続部の外周を覆う絶縁部材と、
前記絶縁部材の外周を覆うとともに前記複数のシールド電線の外周を覆う導電性のケースと、
前記ケースと前記複数のシールド電線との間をシールするシール部材と、を備え、
前記ケースは、複数の前記シールド部材の各々と電気的に接続される接続部を有する、ワイヤハーネス。
続きを表示(約 1,500 文字)
【請求項2】
前記ケースは、互いに合体可能に形成された複数の分割体と、前記複数の分割体を合体状態に固定する固定部材と、を有し、
前記ケースは、前記複数の分割体が合体されることにより、前記絶縁部材の外周と前記複数のシールド電線の外周とを包囲する筒状に形成されている、請求項1に記載のワイヤハーネス。
【請求項3】
前記複数の分割体は、第1分割体と、前記第1分割体に合体可能に形成された第2分割体と、を有し、
前記第1分割体は、前記第1分割体の周方向の端部から前記ケースの径方向外方に向かって突出する第1重ね合わせ部を有し、
前記第2分割体は、前記第2分割体の周方向の端部から前記径方向外方に向かって突出する第2重ね合わせ部を有し、
前記第1重ね合わせ部は、前記第2重ね合わせ部に対向する第1対向面と、前記第1対向面のうち前記径方向外方の端部に形成された第1面取部と、を有し、
前記第2重ね合わせ部は、前記第1対向面と重ね合わされた第2対向面と、前記第2対向面のうち前記径方向外方の端部に形成された第2面取部と、を有し、
前記ケースは、前記第1面取部と前記第2面取部とによって形成された溝部を有し、
前記ワイヤハーネスは、前記溝部に充填される接着剤を有し、
前記接着剤は、前記シール部材を構成している、請求項2に記載のワイヤハーネス。
【請求項4】
前記接着剤は、前記シール部材を構成するとともに、前記固定部材を構成している、請求項3に記載のワイヤハーネス。
【請求項5】
前記第1分割体と前記第2分割体とは、互いに同一の構造を有する、請求項3に記載のワイヤハーネス。
【請求項6】
前記複数のシールド電線の各々は、前記シールド部材の外周を被覆するシースを更に有し、
前記シールド部材の端部は、前記シースの端部から露出されるとともに、前記シースの端部の外周を包囲するように折り返された露出部を有し、
前記接続部は、前記露出部の外周を包囲する筒状に形成されており、
前記接続部の内周面が前記露出部の外周面に接触している、請求項1に記載のワイヤハーネス。
【請求項7】
前記接続部の内周と前記露出部の外周との間に締め代が設けられている、請求項6に記載のワイヤハーネス。
【請求項8】
前記シースの外周面と前記露出部の内周面との間に設けられた下敷きリングを更に有し、
前記露出部は、前記下敷きリングと前記接続部とによって挟み込まれた状態で前記接続部と接続されている、請求項6に記載のワイヤハーネス。
【請求項9】
前記複数のシールド電線は、1以上の第1シールド電線と、2以上の第2シールド電線とを有し、
前記1以上の第1シールド電線と前記2以上の第2シールド電線とは、前記芯線接続部を基点に互いに反対方向に延びており、
前記ケースは、前記1以上の第1シールド電線を収容する第1収容部と、前記2以上の第2シールド電線を収容する第2収容部と、前記絶縁部材を収容する第3収容部と、を有し、
前記第2収容部は、前記2以上の第2シールド電線を個別に収容する2以上の収容筒部と、隣り合う前記収容筒部の間に設けられた仕切壁とを有する、請求項1に記載のワイヤハーネス。
【請求項10】
前記ケースは、アルミダイキャスト製である、請求項1に記載のワイヤハーネス。
発明の詳細な説明
【技術分野】
【0001】
本開示は、ワイヤハーネスに関するものである。
続きを表示(約 2,100 文字)
【背景技術】
【0002】
従来、ワイヤハーネスとしては、芯線とその芯線の外周を覆うシールド部材とを有する複数のシールド電線と、芯線同士が接続された接続部と、接続部の外周を覆う絶縁部材とを備えるものがある(例えば、特許文献1参照)。この種のワイヤハーネスは、絶縁部材の外周を覆うとともに複数のシールド部材が外周面に接続された電磁シールドパイプと、電磁シールドパイプの外周を覆う防水部材とを備えている。防水部材は、電磁シールドパイプの外周を覆う樹脂パイプと、樹脂パイプの内周面とシールド電線の外周面との間を塞ぐゴム栓とを有している。
【先行技術文献】
【特許文献】
【0003】
特開2021-106210号公報
【発明の概要】
【発明が解決しようとする課題】
【0004】
ところで、上記ワイヤハーネスにおいては、組立作業性の向上が望まれている。
本開示の目的は、組立作業性を向上できるワイヤハーネスを提供することにある。
【課題を解決するための手段】
【0005】
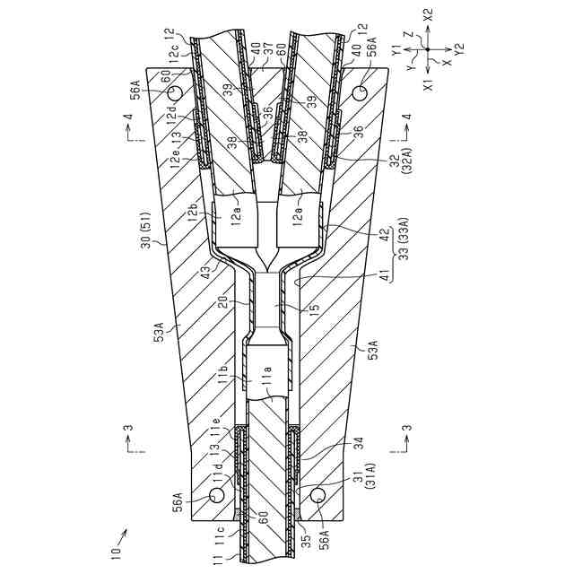
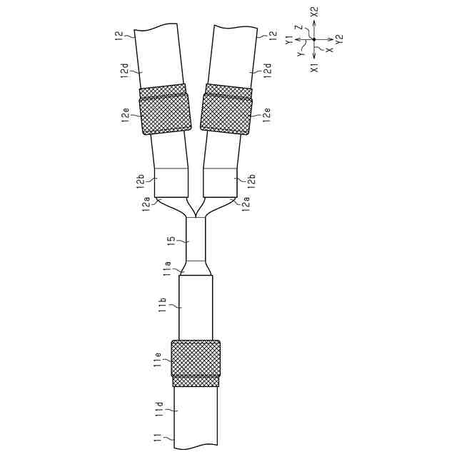
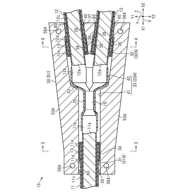
本開示のワイヤハーネスは、複数のシールド電線を備えるワイヤハーネスであって、前記複数のシールド電線の各々は、芯線と、前記芯線の外周を覆う絶縁被覆と、前記絶縁被覆の外周を覆うシールド部材と、を有し、前記ワイヤハーネスは、前記複数のシールド電線の前記芯線同士が接続された芯線接続部と、前記芯線接続部の外周を覆う絶縁部材と、前記絶縁部材の外周を覆うとともに前記複数のシールド電線の外周を覆う導電性のケースと、前記ケースと前記複数のシールド電線との間をシールするシール部材と、を備え、前記ケースは、複数の前記シールド部材の各々と電気的に接続される接続部を有する。
【発明の効果】
【0006】
本開示のワイヤハーネスによれば、組立作業性を向上できるという効果を奏する。
【図面の簡単な説明】
【0007】
図1は、一実施形態のワイヤハーネスを示す斜視図である。
図2は、一実施形態のワイヤハーネスを示す断面図である。
図3は、一実施形態のワイヤハーネスを示す断面図(図2における3-3線断面図)である。
図4は、一実施形態のワイヤハーネスを示す断面図(図2における4-4線断面図)である。
図5は、一実施形態のワイヤハーネスを示す分解斜視図である。
図6は、一実施形態のワイヤハーネスの製造方法を示す平面図である。
図7は、一実施形態のワイヤハーネスの製造方法を示す平面図である。
図8は、一実施形態のワイヤハーネスの製造方法を示す斜視図である。
図9は、一実施形態のワイヤハーネスの製造方法を示す斜視図である。
図10は、一実施形態のワイヤハーネスの製造方法を示す斜視図である。
【発明を実施するための形態】
【0008】
[本開示の実施形態の説明]
最初に本開示の実施形態を列挙して説明する。
[1]本開示のワイヤハーネスは、複数のシールド電線を備えるワイヤハーネスであって、前記複数のシールド電線の各々は、芯線と、前記芯線の外周を覆う絶縁被覆と、前記絶縁被覆の外周を覆うシールド部材と、を有し、前記ワイヤハーネスは、前記複数のシールド電線の前記芯線同士が接続された芯線接続部と、前記芯線接続部の外周を覆う絶縁部材と、前記絶縁部材の外周を覆うとともに前記複数のシールド電線の外周を覆う導電性のケースと、前記ケースと前記複数のシールド電線との間をシールするシール部材と、を備え、前記ケースは、複数の前記シールド部材の各々と電気的に接続される接続部を有する。
【0009】
この構成によれば、芯線接続部の外周が導電性を有するケースによって覆われ、そのケースが複数のシールド部材の各々と電気的に接続される。これにより、ケースを、芯線接続部からの電磁波(電磁ノイズ)の放射を抑制する電磁シールド部材として機能させることができる。また、シール部材によって、ケースと複数のシールド電線との間がシールされる。これにより、ケースおよびシール部材を、芯線接続部の被水を抑制する防水部材として機能させることができる。このように、ケースを、電磁シールド部材として機能させることができるとともに、防水部材としても機能させることができる。したがって、電磁シールド部材と防水部材とが別部品により構成される場合に比べて、ワイヤハーネスの部品点数を減らすことができる。この結果、ワイヤハーネスの組み立て工程を減らすことができるため、ワイヤハーネスの組立作業性を向上させることができる。
【0010】
[2]上記[1]において、前記ケースは、互いに合体可能に形成された複数の分割体と、前記複数の分割体を合体状態に固定する固定部材と、を有し、前記ケースは、前記複数の分割体が合体されることにより、前記絶縁部材の外周と前記複数のシールド電線の外周とを包囲する筒状に形成されていてもよい。
(【0011】以降は省略されています)
この特許をJ-PlatPat(特許庁公式サイト)で参照する
関連特許
個人
電源装置
20日前
個人
バッテリ内蔵直流電源
19日前
株式会社FUJI
制御盤
9日前
西部電機株式会社
充電装置
1日前
西部電機株式会社
充電装置
1日前
日本精機株式会社
サージ保護回路
1日前
オムロン株式会社
電源回路
13日前
オムロン株式会社
電源回路
13日前
オムロン株式会社
電源回路
13日前
トヨタ自動車株式会社
回転子
5日前
トヨタ自動車株式会社
回転子
20日前
個人
連続ガウス加速器形磁力増幅装置
1日前
東京応化工業株式会社
発電装置
13日前
ミサワホーム株式会社
居住設備
9日前
大豊工業株式会社
モータ
19日前
東京瓦斯株式会社
通信装置
今日
株式会社ミツバ
ブラシレスモータ
今日
株式会社リコー
拡張アンテナ装置
12日前
カヤバ株式会社
筒型リニアモータ
今日
トヨタ自動車株式会社
ロータ
7日前
日産自動車株式会社
ステータ
6日前
ニチコン株式会社
AC入力検出回路
5日前
ユタカ電業株式会社
ケーブルダクト
9日前
株式会社大林組
可搬式充電設備
6日前
NTN株式会社
モータユニット
9日前
東京瓦斯株式会社
給電システム
今日
株式会社正興電機製作所
地絡確認装置
12日前
株式会社ミツバ
巻線装置
12日前
株式会社ダイヘン
電力システム
1日前
株式会社デンソー
電力変換装置
5日前
株式会社ダイヘン
電力変換装置
1日前
株式会社アイシン
回転電機
5日前
株式会社デンソー
インバータ装置
21日前
カヤバ株式会社
アクチュエータユニット
19日前
株式会社豊田自動織機
車両用機器
9日前
志幸技研工業株式会社
ケーブル布設工法
19日前
続きを見る
他の特許を見る