TOP
|
特許
|
意匠
|
商標
特許ウォッチ
Twitter
他の特許を見る
10個以上の画像は省略されています。
公開番号
2025146456
公報種別
公開特許公報(A)
公開日
2025-10-03
出願番号
2024047255
出願日
2024-03-22
発明の名称
制御装置および送水装置
出願人
株式会社笑農和
代理人
個人
主分類
A01G
25/00 20060101AFI20250926BHJP(農業;林業;畜産;狩猟;捕獲;漁業)
要約
【課題】送水部の送水を制御でき、操作部が駆動により回転しなくなっても容易に短時間で仕切を開閉できる制御装置等を提供する。
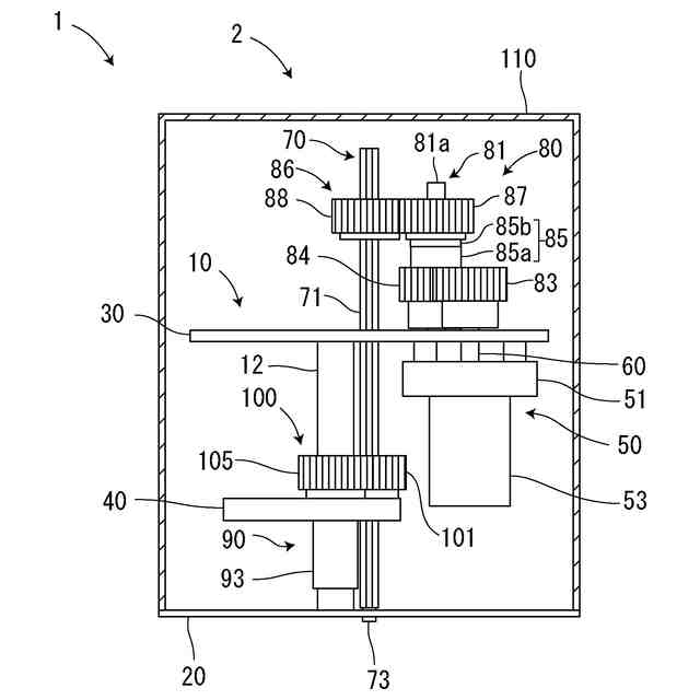
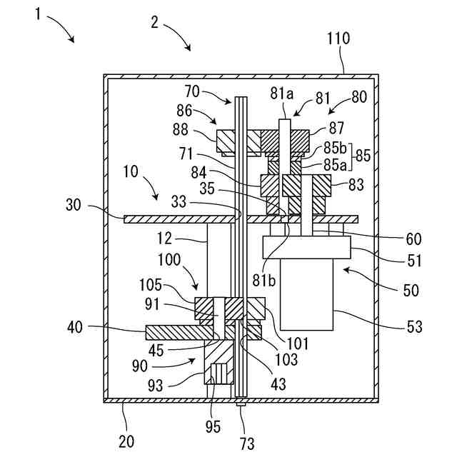
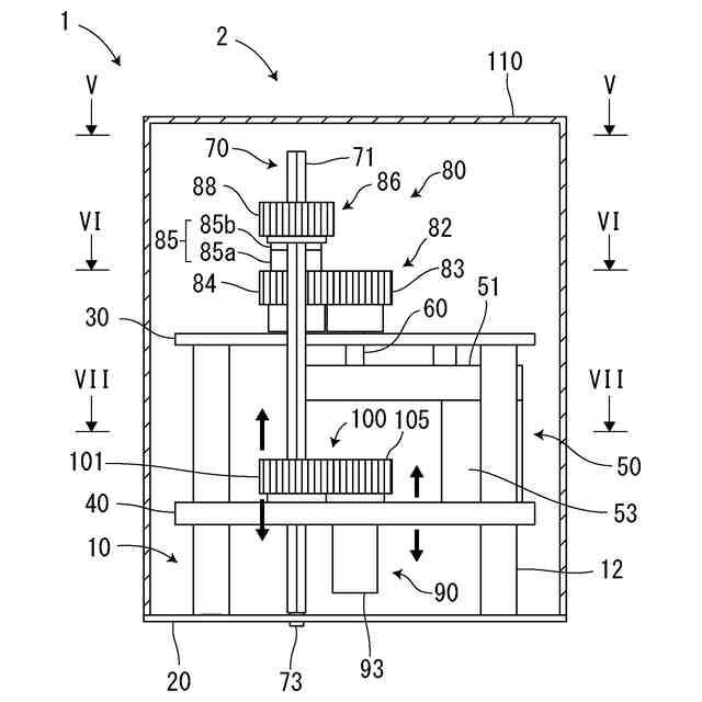
【解決手段】制御装置は、仕切に連結する操作部を回転させて仕切が送水路を開閉する送水部の操作部を回転させる装置であって、基部と、駆動部と、駆動部の駆動を制御する制御部と、軸が所定の方向に平行であり、駆動部の駆動により軸回りに回転する駆動シャフトと、軸が所定の方向に平行であり、軸回りに回転可能に基部に設けられる従動シャフトと、駆動シャフトおよび従動シャフトの一方の回転に伴って他方を回転させる第1伝達部と、所定の方向に移動可能に基部に設けられる移動部と、操作部に着脱可能であり、所定の方向回りに回転可能に移動部に設けられる出力部と、従動シャフトおよび出力部の一方の回転に伴って他方を回転させる第2伝達部と、を備え、出力部、移動部および第2伝達部が、所定の方向に一緒に移動する。
【選択図】図1
特許請求の範囲
【請求項1】
仕切に連結する操作部を回転させることにより前記仕切が送水路を開閉する送水部の前記操作部を回転させる制御装置であって、
基部と、
前記基部に設けられる駆動部と、
前記駆動部の駆動を制御する制御部と、
軸が所定の方向に平行であり、前記駆動部の駆動により軸回りに回転する駆動シャフトと、
軸が前記所定の方向に平行であり、軸回りに回転可能に前記基部に設けられる従動シャフトと、
前記駆動シャフトおよび前記従動シャフトの一方の回転に伴って他方を回転させる第1伝達部と、
前記所定の方向に移動可能に前記基部に設けられる移動部と、
前記操作部に着脱可能であり、前記所定の方向回りに回転可能に前記移動部に設けられる出力部と、
前記従動シャフトおよび前記出力部の一方の回転に伴って他方を回転させる第2伝達部と、
を備え、
前記出力部、前記移動部および前記第2伝達部が、前記所定の方向に一緒に移動する制御装置。
続きを表示(約 1,500 文字)
【請求項2】
前記第1伝達部は、
軸が前記所定の方向に平行であり、軸回りに回転可能に前記基部に設けられる中間シャフトと、
前記駆動シャフトおよび前記中間シャフトの一方の回転に伴って他方を回転させる第1中間伝達部と、
前記中間シャフトおよび前記従動シャフトの一方の回転に伴って他方を回転させる第2中間伝達部と、
所定のトルクを超えるトルクが作用した場合に、前記駆動シャフトと前記従動シャフトとの間における回転の伝達を遮断するトルクリミッタと、
を備える請求項1に記載の制御装置。
【請求項3】
前記トルクリミッタは、前記中間シャフトに設けられ、
前記第1中間伝達部は、互いに噛み合う歯車であって、前記駆動シャフトに設けられる駆動歯車と、前記中間シャフトに設けられる第1中間歯車と、を備え、
前記第2中間伝達部は、互いに噛み合う歯車であって、前記トルクリミッタに設けられる第2中間歯車と、前記従動シャフトに設けられる従動歯車と、を備え、
所定のトルクを超えるトルクが前記トルクリミッタに作用すると、前記トルクリミッタが前記第2中間歯車から前記中間シャフトへの回転の伝達を遮断する請求項2に記載の制御装置。
【請求項4】
前記第2伝達部は、互いに噛み合う歯車であって、移動歯車と、出力歯車と、を備え、
前記移動歯車は、前記移動部の移動に伴って移動可能であるとともに、前記従動シャフトの回転に伴って回転可能に前記従動シャフトに設けられ、
前記出力歯車は、前記出力部に設けられる請求項1に記載の制御装置。
【請求項5】
前記第1伝達部は、
軸が前記所定の方向に平行であり、前記所定の方向に移動可能であるとともに軸回りに回転可能に前記基部に設けられる中間シャフトと、
前記駆動シャフトに設けられる歯車である駆動歯車と、
前記中間シャフトに設けられる歯車である第1中間歯車と、
前記従動シャフトに設けられる歯車である従動歯車と、
を備え、
前記第1伝達部は、前記中間シャフトの移動により、前記第1中間歯車が前記駆動歯車および前記従動歯車に噛み合う状態と、前記第1中間歯車が前記駆動歯車に噛み合わず前記従動歯車に噛み合う状態と、に切り替えられる請求項1に記載の制御装置。
【請求項6】
前記基部に対する前記中間シャフトの位置を位置決めする位置決め部を備え、
前記位置決め部は、
前記中間シャフトの周方向において環状に設けられる溝部と、
前記基部に設けられるプランジャと、
を備え、
前記プランジャは、先端部と、弾性体と、を有し、前記所定の方向に直交する方向において前記弾性体により前記先端部が外側に付勢され、
前記先端部は前記溝部に嵌ることが可能な請求項5に記載の制御装置。
【請求項7】
前記溝部は、前記第1中間歯車が前記駆動歯車および前記従動歯車に噛み合う状態において前記プランジャの前記先端部が嵌る位置と、前記第1中間歯車が前記駆動歯車に噛み合わず前記従動歯車に噛み合う状態において前記プランジャの前記先端部が嵌る位置と、に設けられている請求項6に記載の制御装置。
【請求項8】
請求項1~7のいずれか1項に記載の制御装置と、
前記送水部と、
を備え
前記出力部が、前記操作部に装着される送水装置。
【請求項9】
外部機器と通信する通信部を備え、
前記制御部が前記外部機器からの指示に基づいて前記駆動部の駆動を制御する請求項8に記載の送水装置。
発明の詳細な説明
【技術分野】
【0001】
本発明は、送水部の送水を制御する制御装置およびこれを備える送水装置に関する。
続きを表示(約 1,700 文字)
【背景技術】
【0002】
圃場の送水に関して、送水路を仕切る仕切に連結する操作部を手動で回転させることにより送水路の送水(流量)を調節する送水装置(送水部)が用いられている。
特許文献1には、このような送水装置の操作部を駆動部により回転駆動させるとともに駆動部を制御する制御装置およびこれを備える送水装置が開示されている。
【先行技術文献】
【特許文献】
【0003】
特開2021-122240号公報
【発明の概要】
【発明が解決しようとする課題】
【0004】
上記制御装置および送水装置は、操作部が何らかの要因で駆動部の駆動により回転しなくなった場合、送水部の送水を調節するには、制御装置を送水部から取り外し、送水部の操作部を手動で回転させて仕切を開閉し、制御装置を送水部に再度装着する必要があるため、その作業には手間と時間がかかる。
【0005】
本発明は、送水部の送水を制御することができるとともに、操作部が駆動により回転しなくなっても容易に短時間で仕切を開閉できる制御装置およびこれを備える送水装置を提供することを目的とする。
【課題を解決するための手段】
【0006】
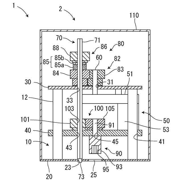
制御装置は、仕切に連結する操作部を回転させることにより仕切が送水路を開閉する送水部の操作部を回転させる装置であって、基部と、基部に設けられる駆動部と、駆動部の駆動を制御する制御部と、軸が所定の方向に平行であり、駆動部の駆動により軸回りに回転する駆動シャフトと、軸が所定の方向に平行であり、軸回りに回転可能に基部に設けられる従動シャフトと、駆動シャフトおよび従動シャフトの一方の回転に伴って他方を回転させる第1伝達部と、所定の方向に移動可能に基部に設けられる移動部と、操作部に着脱可能であり、所定の方向回りに回転可能に移動部に設けられる出力部と、従動シャフトおよび出力部の一方の回転に伴って他方を回転させる第2伝達部と、を備え、出力部、移動部および第2伝達部が、所定の方向に一緒に移動する。
【0007】
第1伝達部は、軸が所定の方向に平行であり、軸回りに回転可能に基部に設けられる中間シャフトと、駆動シャフトおよび中間シャフトの一方の回転に伴って他方を回転させる第1中間伝達部と、中間シャフトおよび従動シャフトの一方の回転に伴って他方を回転させる第2中間伝達部と、所定のトルクを超えるトルクが作用した場合に、駆動シャフトと従動シャフトとの間における回転の伝達を遮断するトルクリミッタと、を備える。
【0008】
トルクリミッタは、中間シャフトに設けられ、第1中間伝達部は、互いに噛み合う歯車であって、駆動シャフトに設けられる駆動歯車と、中間シャフトに設けられる第1中間歯車と、を備え、第2中間伝達部は、互いに噛み合う歯車であって、トルクリミッタに設けられる第2中間歯車と、従動シャフトに設けられる従動歯車と、を備え、所定のトルクを超えるトルクがトルクリミッタに作用すると、トルクリミッタが第2中間歯車から中間シャフトへの回転の伝達を遮断する。
【0009】
第2伝達部は、互いに噛み合う歯車であって、移動歯車と、出力歯車と、を備え、移動歯車は、移動部の移動に伴って移動可能であるとともに、従動シャフトの回転に伴って回転可能に従動シャフトに設けられ、出力歯車は、出力部に設けられる。
【0010】
制御装置は、第1伝達部が、軸が所定の方向に平行であり、所定の方向に移動可能であるとともに軸回りに回転可能に前記基部に設けられる中間シャフトと、駆動シャフトに設けられる歯車である駆動歯車と、中間シャフトに設けられる歯車である第1中間歯車と、従動シャフトに設けられる歯車である従動歯車とを備えるものであってもよい。この場合、第1伝達部は、中間シャフトの移動により、第1中間歯車が駆動歯車および従動歯車に噛み合う状態と、第1中間歯車が駆動歯車に噛み合わず従動歯車に噛み合う状態と、に切り替えられる。
(【0011】以降は省略されています)
この特許をJ-PlatPat(特許庁公式サイト)で参照する
関連特許
個人
虫捕り器
11日前
個人
刈込鋏保持具
7日前
個人
飼育容器
21日前
個人
後付巻降ろし器
11日前
株式会社丹勝
緑化工法
8日前
個人
イカ釣り用ヤエン
11日前
井関農機株式会社
作業車両
1日前
井関農機株式会社
作業車両
11日前
株式会社シマノ
釣竿
11日前
井関農機株式会社
作業車両
1日前
井関農機株式会社
作業車両
9日前
井関農機株式会社
作業車両
11日前
個人
水耕栽培システム
21日前
大栄工業株式会社
捕獲器
1日前
井関農機株式会社
作業車両
21日前
井関農機株式会社
作業車両
7日前
個人
伸縮する草刈り機の可動装置。
11日前
個人
妻面トラス梁付き園芸用ハウス
23日前
松山株式会社
農作業機
7日前
松山株式会社
農作業機
21日前
トヨタ自動車株式会社
育苗装置
8日前
個人
飼育水槽用の浄化装置
15日前
スガノ農機株式会社
圃場作業装置
8日前
株式会社小川農具製作所
穴明け装置
2日前
グローブライド株式会社
釣竿
2日前
井関農機株式会社
コンバイン
8日前
株式会社デンソー
農業用装置
3日前
グローブライド株式会社
釣竿
1日前
グローブライド株式会社
魚釣用リール
23日前
高知県種苗緑化協同組合
幼齢木保護具
21日前
グローブライド株式会社
釣用のルアー
3日前
株式会社サンメイト
動物用排尿処理材
21日前
株式会社クボタ
コンバイン
2日前
日東製網株式会社
養殖用網
11日前
株式会社和コーポレーション
石灰散布機
14日前
株式会社クボタ
コンバイン
2日前
続きを見る
他の特許を見る