TOP
|
特許
|
意匠
|
商標
特許ウォッチ
Twitter
他の特許を見る
公開番号
2025144980
公報種別
公開特許公報(A)
公開日
2025-10-03
出願番号
2024044937
出願日
2024-03-21
発明の名称
農作業機
出願人
松山株式会社
代理人
個人
,
個人
主分類
A01B
63/16 20060101AFI20250926BHJP(農業;林業;畜産;狩猟;捕獲;漁業)
要約
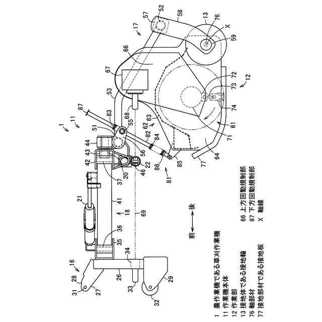
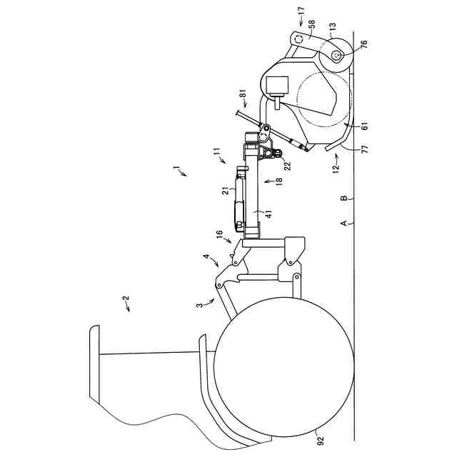
【課題】作業部の姿勢を一定に維持できる草刈作業機を提供する。
【解決手段】草刈作業機1は、トラクタの3点リンク部に連結する作業機本体11と、左右方向の軸線Xを中心として回転可能な左右一対の接地輪13を有する作業部12とを備える。そして、作業部12は、作業機本体11に対して左右方向の軸線Xを中心として上下方向に回動可能となっている。
【選択図】図1
特許請求の範囲
【請求項1】
走行車に連結されて使用される農作業機であって、
所定の作業をする作業部を備え、
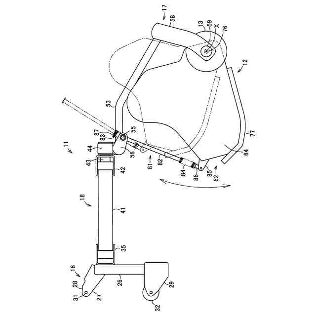
前記作業部は、所定の軸線を中心として回転可能な接地体を有し、かつ、前記所定の軸線を中心として上下方向に回動可能である
ことを特徴とする農作業機。
続きを表示(約 520 文字)
【請求項2】
走行車に連結されて使用される農作業機であって、
前記走行車に連結される作業機本体と、
前記作業機本体に設けられ、所定の軸線を中心として回転可能な接地体を有する作業部とを備え、
前記作業部は、前記所定の軸線を中心として上下方向に回動可能である
ことを特徴とする農作業機。
【請求項3】
作業部の接地体は、所定の軸線が軸芯を通る左右方向の軸部材を中心として回転可能であり、
前記作業部は、前記軸部材を中心として上下方向に回動可能である
ことを特徴とする請求項1又は2記載の農作業機。
【請求項4】
作業部は、
前記作業部の上方回動を規制する上方回動規制部と、
前記作業部の下方回動を規制する下方回動規制部とを有する
ことを特徴とする請求項1又は2記載の農作業機。
【請求項5】
作業部は、接地部材を有する
ことを特徴とする請求項1又は2記載の農作業機。
【請求項6】
作業部は、少なくともオフセット状態で草刈作業可能である
ことを特徴とする請求項1又は2記載の農作業機。
発明の詳細な説明
【技術分野】
【0001】
本発明は、農作業機に関するものである。
続きを表示(約 900 文字)
【背景技術】
【0002】
従来、例えば下記の特許文献1に記載された農作業機が知られている。
【0003】
この従来の農作業機は、例えば走行車の後部に連結される作業機本体と、この作業機本体に設けられた作業部とを備え、この作業部は、作業時に作業面(作業対象面)に接地する回転可能なゲージローラ等の接地体を有している。
【先行技術文献】
【特許文献】
【0004】
特開2020-99286号公報
【発明の概要】
【発明が解決しようとする課題】
【0005】
しかし、上記従来の農作業機では、例えば走行車が走行する走行面と作業部の接地体が接地する作業面とに高低差があると、作業部の姿勢が変化してしまう。
【0006】
すなわち例えば、作業面が走行面よりも高い場合には作業部が前傾姿勢となり、逆に、作業面が走行面よりも低い場合には作業部が後傾姿勢となる。
【0007】
そこで、本発明の実施形態の課題の一つは、作業部の姿勢を一定に維持できる農作業機を提供することにある。
【課題を解決するための手段】
【0008】
本発明の実施形態に係る農作業機は、走行車に連結されて使用される農作業機であって、所定の作業をする作業部を備え、前記作業部は、所定の軸線を中心として回転可能な接地体を有し、かつ、前記所定の軸線を中心として上下方向に回動可能であるものである。
【0009】
また、本発明の実施形態に係る農作業機は、走行車に連結されて使用される農作業機であって、前記走行車に連結される作業機本体と、前記作業機本体に設けられ、所定の軸線を中心として回転可能な接地体を有する作業部とを備え、前記作業部は、前記所定の軸線を中心として上下方向に回動可能であるものである。
【発明の効果】
【0010】
本発明の実施形態によれば、作業部の姿勢を一定に維持できる。
【図面の簡単な説明】
(【0011】以降は省略されています)
この特許をJ-PlatPat(特許庁公式サイト)で参照する
関連特許
松山株式会社
農作業機
3日前
松山株式会社
農作業機
17日前
松山株式会社
農作業機
1か月前
松山株式会社
農作業機
1か月前
松山株式会社
農作業機
1か月前
松山株式会社
草刈作業機
2か月前
松山株式会社
スタンド装置
3か月前
松山株式会社
農作業機用制御システム
27日前
松山株式会社
農作業機用高さ制御システム
3か月前
松山株式会社
農作業機用制御システム及び農作業方法
1か月前
個人
虫捕り器
7日前
個人
巻糸係止具
28日前
個人
刈込鋏保持具
3日前
個人
植物栽培用培地
1か月前
個人
飼育容器
17日前
個人
虫の生け捕り具
1か月前
個人
後付巻降ろし器
7日前
個人
イカ釣り用ヤエン
7日前
個人
植木鉢用台
1か月前
個人
釣り仕掛け処理具
1か月前
株式会社丹勝
緑化工法
4日前
井関農機株式会社
作業車両
7日前
株式会社シマノ
釣竿
7日前
井関農機株式会社
作業車両
7日前
岡部株式会社
浮魚礁
1か月前
井関農機株式会社
作業車両
5日前
井関農機株式会社
圃場作業機
28日前
個人
水耕栽培システム
17日前
個人
苔玉スタンド
1か月前
中国電力株式会社
巣撤去具
1か月前
井関農機株式会社
作業車両
3日前
井関農機株式会社
作業車両
17日前
株式会社シマノ
ルアー
1か月前
個人
妻面トラス梁付き園芸用ハウス
19日前
松山株式会社
農作業機
17日前
松山株式会社
農作業機
1か月前
続きを見る
他の特許を見る