TOP
|
特許
|
意匠
|
商標
特許ウォッチ
Twitter
他の特許を見る
公開番号
2025148661
公報種別
公開特許公報(A)
公開日
2025-10-08
出願番号
2024048896
出願日
2024-03-26
発明の名称
釣竿
出願人
グローブライド株式会社
代理人
個人
,
個人
主分類
A01K
87/06 20060101AFI20251001BHJP(農業;林業;畜産;狩猟;捕獲;漁業)
要約
【課題】元竿杆に固定されるグリップとリールシートとの間にリング部材を装着した釣竿において、リング部材の配設部分に隙間が生じることのない釣竿を提供する。
【解決手段】本発明の釣竿は、元竿杆2の外側にグリップ20及びリールシート10が隣接して配設され、グリップ20とリールシート10との間にリング部材30が設けられている。リールシート10には、グリップ20と隣接する端面に軸方向に突出する延長部10aが設けられており、グリップ20の一部は、延長部10aと径方向外方位置で重なっており、リング部材30は、延長部10a上でリールシート10とグリップ20の一部との間に介在して固定されている。
【選択図】 図2
特許請求の範囲
【請求項1】
元竿杆の外側にグリップ及びリールシートが隣接して配設され、前記グリップとリールシートとの間にリング部材を設けた釣竿において、
前記リールシートには、前記グリップと隣接する端面に軸方向に突出する延長部が設けられており、
前記グリップの一部は、前記延長部と径方向外方位置で重なっており、前記リング部材は、前記延長部上で前記リールシートと前記グリップの一部との間に介在して固定されていることを特徴とする。
続きを表示(約 670 文字)
【請求項2】
前記グリップのリールシート側の端面には、環状凹部が形成されており、
前記延長部は、前記環状凹部を形成する壁部の内面に固定され、
前記リング部材は、前記リールシートと前記壁部の端面との間に介在されていることを特徴とする請求項1に記載の釣竿。
【請求項3】
前記壁部のリールシート側には、段部が形成されており、前記リング部材は、前記段部上に固定されていることを特徴とする請求項2に記載の釣竿。
【請求項4】
前記リング部材には、軸方向に延出する突起が形成されており、
前記突起は、前記延長部とグリップの一部に介在していることを特徴とする請求項1に記載の釣竿。
【請求項5】
前記延長部は、先端からの軸方向長さが4.5mm以上確保され、
前記延長部の先端から前記リング部材が前記グリップの一部に当て付く位置までの軸方向の長さは、前記延長部の軸方向の長さ以下で3.5mm以上であることを特徴とする請求項1に記載の釣竿。
【請求項6】
前記リング部材の外径は、隣接する前記リールシートの外径及び前記グリップの外径以下であることを特徴とする請求項1に記載の釣竿。
【請求項7】
前記元竿杆とリールシートとの間には、スペーサが介在されており、
前記スペーサは、その端面と前記グリップの端面と前記延長部の内面とで囲まれた隙間が生じるように配設されていることを特徴とする請求項1から6のいずれか1項に記載の釣竿。
発明の詳細な説明
【技術分野】
【0001】
本発明は釣竿に関し、詳細には、実釣時に握持されるグリップ部分に特徴を備えた釣竿に関する。
続きを表示(約 1,700 文字)
【背景技術】
【0002】
釣竿には、例えば、特許文献1に開示されているように、竿杆(元竿杆)の外周面に、リールシートとグリップとを隣接して固定したものが知られている。通常、前記リールシートは硬質の樹脂で形成され、グリップは柔らかい素材(EVA、コルクなど)で形成されており、両部材の間には、装飾用のリング部材が介在されている。前記特許文献1に開示されているリールシートには、グリップ側の端面に、軸方向に延出する環状の突起が形成されており、この突起上に前記リング部材が外嵌、固定されている。
【先行技術文献】
【特許文献】
【0003】
特開2020-48451号
【発明の概要】
【発明が解決しようとする課題】
【0004】
上記した釣竿は、実釣時において、大きく湾曲する(撓む)という特性がある。このように、釣竿が大きく湾曲すると、リールシートに対して曲げ剛性が低いグリップ部分も竿杆に追従して湾曲しようとするため、剛性の高いリールシートと柔らかいグリップとの間に隙間が生じてしまう。そして、このような隙間が生じると、水分が侵入したり、手当たりが悪化する等の問題が生じる。
【0005】
本発明は、上記した問題に着目してなされたものであり、元竿杆に固定されるグリップとリールシートとの間にリング部材を装着した釣竿において、リング部材の配設部分に隙間が生じることのない釣竿を提供することを目的とする。
【課題を解決するための手段】
【0006】
上記した目的を達成するために、本発明に係る釣竿は、元竿杆の外側にグリップ及びリールシートが隣接して配設され、前記グリップとリールシートとの間にリング部材を設けた構成において、前記リールシートには、前記グリップと隣接する端面に軸方向に突出する延長部が設けられており、前記グリップの一部は、前記延長部と径方向外方位置で重なっており、前記リング部材は、前記延長部上で前記リールシートと前記グリップの一部との間に介在して固定されていることを特徴とする。
【0007】
上記した構成の釣竿では、リールシートのグリップと隣接する端面に、軸方向に延出するように延長部が形成されている。前記グリップの一部は、前記延長部と径方向外方位置で重なっており、前記リールシートとグリップの一部との間に介在されるリング部材は、前記延長部と重なる径方向外方位置で当て付いた状態にある。このため、元竿杆が大きく湾曲して、グリップ部分が追従して湾曲しようとしても、曲げ剛性の高いリールシートの延長部によって湾曲することが抑えられ、延長部に設けられているリング部材がグリップから離反して隙間が生じることが防止される。
【発明の効果】
【0008】
本発明によれば、元竿杆に固定されるグリップとリールシートとの間にリング部材を装着した釣竿において、リング部材の配設部分に隙間が生じることのない釣竿が得られる。
【図面の簡単な説明】
【0009】
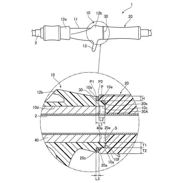
本発明に係る釣竿の第1の実施形態を示し、元竿杆部分に装着されるリールシート及びグリップ部分を示す斜視図。
図1に示す元竿杆部分を示す側面図、及び、主要部を拡大した断面図。
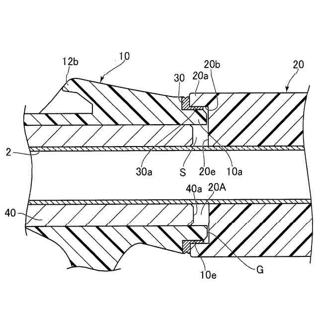
本発明に係る釣竿の第2の実施形態を示す図であり、リールシート、グリップ、リング部材の配設状態を示した断面図。
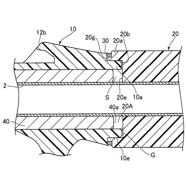
本発明に係る釣竿の第3の実施形態を示す図であり、リールシート、グリップ、リング部材の配設状態を示した断面図。
【発明を実施するための形態】
【0010】
以下、本発明に係る釣竿の実施形態について説明する。
図1及び図2は、本発明に係る釣竿の第1の実施形態を示す図であり、図1は、釣竿の元竿杆部分に装着されるリールシート及びグリップ部分を示す斜視図、図2は、元竿杆部分の側面図、及び、主要部を拡大した断面図である。
(【0011】以降は省略されています)
この特許をJ-PlatPat(特許庁公式サイト)で参照する
関連特許
個人
虫捕り器
11日前
個人
刈込鋏保持具
7日前
個人
後付巻降ろし器
11日前
個人
飼育容器
21日前
個人
イカ釣り用ヤエン
11日前
株式会社丹勝
緑化工法
8日前
井関農機株式会社
作業車両
11日前
井関農機株式会社
作業車両
1日前
井関農機株式会社
作業車両
1日前
井関農機株式会社
作業車両
11日前
株式会社シマノ
釣竿
11日前
井関農機株式会社
作業車両
9日前
個人
水耕栽培システム
21日前
大栄工業株式会社
捕獲器
1日前
井関農機株式会社
作業車両
7日前
松山株式会社
農作業機
7日前
個人
伸縮する草刈り機の可動装置。
11日前
トヨタ自動車株式会社
育苗装置
8日前
個人
飼育水槽用の浄化装置
15日前
スガノ農機株式会社
圃場作業装置
8日前
井関農機株式会社
コンバイン
8日前
グローブライド株式会社
釣竿
2日前
株式会社デンソー
農業用装置
3日前
株式会社小川農具製作所
穴明け装置
2日前
グローブライド株式会社
釣竿
1日前
グローブライド株式会社
釣用のルアー
3日前
株式会社サンメイト
動物用排尿処理材
21日前
株式会社笑農和
制御装置および送水装置
7日前
株式会社和コーポレーション
石灰散布機
14日前
日東製網株式会社
養殖用網
11日前
株式会社クボタ
コンバイン
2日前
大和ハウス工業株式会社
栽培装置
11日前
株式会社クボタ
コンバイン
2日前
個人
装飾品及び装飾品の製造方法
7日前
個人
塩ビパイプでつくる両側入口のネズミ捕獲器
7日前
株式会社クボタ
コンバイン
2日前
続きを見る
他の特許を見る