TOP
|
特許
|
意匠
|
商標
特許ウォッチ
Twitter
他の特許を見る
10個以上の画像は省略されています。
公開番号
2025146478
公報種別
公開特許公報(A)
公開日
2025-10-03
出願番号
2024047288
出願日
2024-03-22
発明の名称
高周波モジュール及び通信装置
出願人
株式会社村田製作所
代理人
弁理士法人北斗特許事務所
主分類
H04B
1/38 20150101AFI20250926BHJP(電気通信技術)
要約
【課題】低背化と小型化とを両立させる。
【解決手段】高周波モジュール100では、外部シールド層2は、第1シールド部21と、第2シールド部22と、を有する。第1シールド部21は、実装基板1の厚さ方向D1において実装基板1の主面101と離隔している。第2シールド部22は、第1シールド部21に接続され実装基板1の外周面103の少なくとも一部を覆っている。パワーアンプ3は、第1主面31及び第2主面32を有する。パワーアンプ3は、実装基板1の厚さ方向D1において実装基板1の主面101と離隔し第2主面32が第1シールド部21に接している。複数の導体部材4は、パワーアンプ3と実装基板1とを接続している。複数の導体部材4は、パワーアンプ3の厚さH3よりも大きな長さを有し互いに離隔している。
【選択図】図1
特許請求の範囲
【請求項1】
主面を有する実装基板と、
前記実装基板の厚さ方向において前記実装基板の前記主面と離隔している第1シールド部と、前記第1シールド部に接続され前記実装基板の外周面の少なくとも一部を覆っている第2シールド部と、を有する外部シールド層と、
第1主面及び第2主面を有し、前記実装基板の前記厚さ方向において前記実装基板の前記主面と離隔し前記第2主面が前記第1シールド部に接しているパワーアンプと、
前記パワーアンプと前記実装基板とを接続しており、前記パワーアンプの厚さよりも大きな長さを有し互いに離隔している複数の導体部材と、を備える、
高周波モジュール。
続きを表示(約 1,400 文字)
【請求項2】
前記パワーアンプは、前記複数の導体部材が接続される複数の端子を有し、
前記複数の端子が前記実装基板の前記主面に対向している、
請求項1に記載の高周波モジュール。
【請求項3】
前記複数の導体部材の各々は、線状のワイヤであり、
前記複数の導体部材は、前記複数の端子と一対一に対応し、
前記複数の導体部材の各々は、前記複数の端子のうち対応する端子に接続されている、
請求項2に記載の高周波モジュール。
【請求項4】
前記実装基板の前記主面に配置されており、前記実装基板の前記厚さ方向において前記実装基板と前記パワーアンプとの間に位置している電子部品を更に備え、
前記パワーアンプは、前記実装基板の前記厚さ方向において前記電子部品と離隔している、
請求項2又は3に記載の高周波モジュール。
【請求項5】
前記電子部品は、前記パワーアンプの出力端子に接続されている整合素子又はトランスである、
請求項4に記載の高周波モジュール。
【請求項6】
前記パワーアンプの前記複数の端子に含まれる出力端子に接続されるトランスを更に備え、
前記実装基板は、前記主面である第1主面とは異なる第2主面を有し、
前記電子部品は、前記パワーアンプの前記出力端子に接続されている整合素子であり、
前記トランスは、前記実装基板内又は前記実装基板の前記第2主面に配置されている、
請求項4に記載の高周波モジュール。
【請求項7】
前記実装基板の前記厚さ方向からの平面視で、前記トランスは、前記パワーアンプと重なる、
請求項6に記載の高周波モジュール。
【請求項8】
前記実装基板の前記主面に配置されている樹脂層を更に備え、
前記樹脂層は、前記電子部品と、前記パワーアンプの前記第1主面と、前記パワーアンプの外周面と、前記複数の導体部材と、を覆っており、
前記パワーアンプの前記第2主面は、前記樹脂層から露出し、前記第1シールド部に接している、
請求項4に記載の高周波モジュール。
【請求項9】
前記複数の導体部材と前記複数の端子とを接続している複数の再配線部を更に備え、
前記樹脂層は、
前記実装基板の前記主面と前記パワーアンプとの間に位置しており、主面を有する第1樹脂層と、
前記第1樹脂層に積層されている第2樹脂層と、を含み、
前記複数の再配線部は、前記第1樹脂層の前記主面に配置されており、
前記第2樹脂層は、前記複数の再配線部と前記パワーアンプの外周面とを覆っており、
前記パワーアンプの前記第2主面は、前記第2樹脂層から露出し、前記第1シールド部に接している、
請求項8に記載の高周波モジュール。
【請求項10】
前記複数の再配線部の各々は、前記複数の導体部材のうち対応する導体部材が接続されるパッドを有し、
前記実装基板の前記厚さ方向からの平面視で、前記複数の導体部材の各々の前記パッドは、前記複数の導体部材のうち前記パッドに接続される導体部材との接続面積よりも大きい、
請求項9に記載の高周波モジュール。
(【請求項11】以降は省略されています)
発明の詳細な説明
【技術分野】
【0001】
本発明は、一般に高周波モジュール及び通信装置に関し、より詳細には、パワーアンプを備える高周波モジュール、及び、その高周波モジュールを備える通信装置に関する。
続きを表示(約 1,800 文字)
【背景技術】
【0002】
特許文献1は、実装基板と、パワーアンプと、コントローラと、シールド層と、ボンディングワイヤと、を備える高周波モジュールを開示している。実装基板は、互いに対向する第1主面及び第2主面を有する。パワーアンプは、実装基板の第1主面に実装されている。コントローラは、パワーアンプの上に配置されている。また、特許文献1に開示された高周波モジュールは、コントローラの外部電極と実装基板とを接続しているボンディングワイヤを備える。
【0003】
また、特許文献1に開示された高周波モジュールは、実装基板は、実装基板の厚さ方向においてパワーアンプに重なる領域に、実装基板の厚さ方向に沿って形成された放熱用導体を有する。
【先行技術文献】
【特許文献】
【0004】
国際公開第2022/138514号
【発明の概要】
【発明が解決しようとする課題】
【0005】
特許文献1に開示された高周波モジュールでは、高周波モジュールの低背化と小型化との両立が難しい場合がある。
【0006】
本発明の目的は、低背化と小型化とを両立させることが可能な高周波モジュール及び通信装置を提供することにある。
【課題を解決するための手段】
【0007】
本発明の一態様に係る高周波モジュールは、実装基板と、外部シールド層と、パワーアンプと、複数の導体部材と、を備える。前記実装基板は、主面を有する。前記外部シールド層は、第1シールド部と、第2シールド部と、を有する。前記第1シールド部は、前記実装基板の厚さ方向において前記実装基板の前記主面と離隔している。前記第2シールド部は、前記第1シールド部に接続され前記実装基板の外周面の少なくとも一部を覆っている。前記パワーアンプは、第1主面及び第2主面を有する。前記パワーアンプは、前記実装基板の前記厚さ方向において前記実装基板の前記主面と離隔し前記第2主面が前記第1シールド部に接している。前記複数の導体部材は、前記パワーアンプと前記実装基板とを接続している。前記複数の導体部材は、前記パワーアンプの厚さよりも大きな長さを有し互いに離隔している。
【0008】
本発明の一態様に係る通信装置は、上記一態様の高周波モジュールと、信号処理回路と、を備える。前記信号処理回路は、前記高周波モジュールに接続されている。
【発明の効果】
【0009】
本発明の上記態様に係る高周波モジュール及び通信装置は、低背化と小型化とを両立させることが可能となる。
【図面の簡単な説明】
【0010】
図1は、実施形態1に係る高周波モジュールの断面図である。
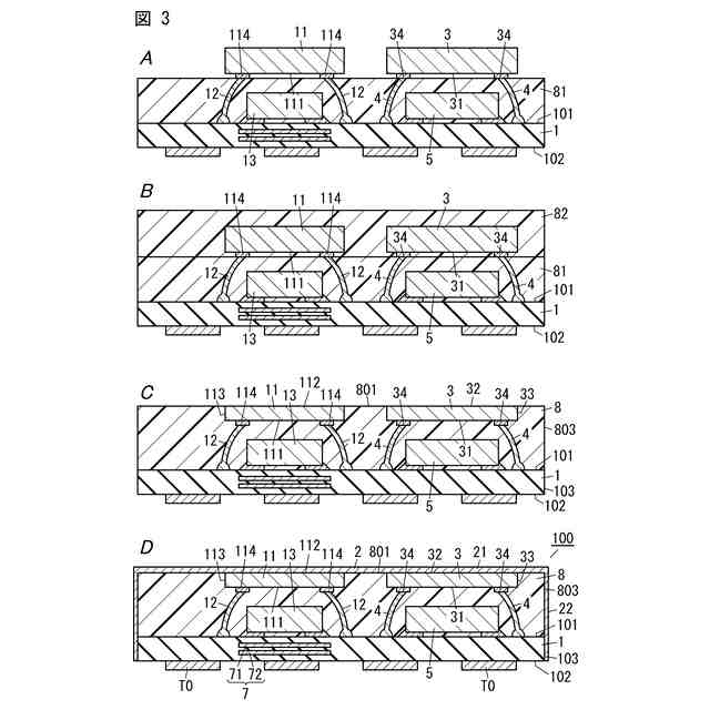
図2A~2Dは、同上の高周波モジュールの製造方法を説明するための工程断面図である。
図3A~3Dは、同上の高周波モジュールの製造方法を説明するための工程断面図である。
図4は、同上の高周波モジュールを備える通信装置の回路ブロック図である。
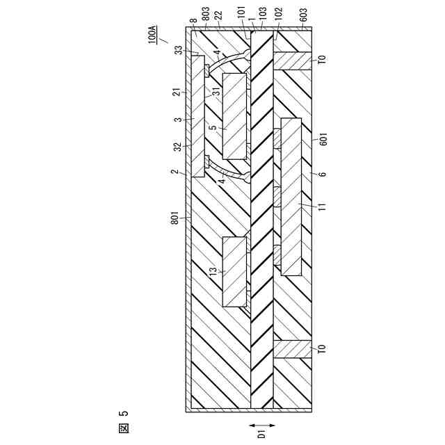
図5は、実施形態2に係る高周波モジュールの断面図である。
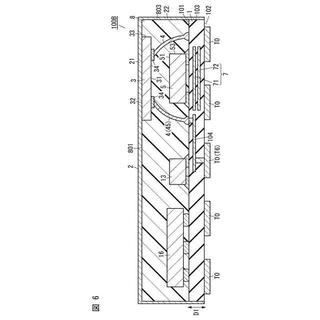
図6は、実施形態3に係る高周波モジュールの断面図である。
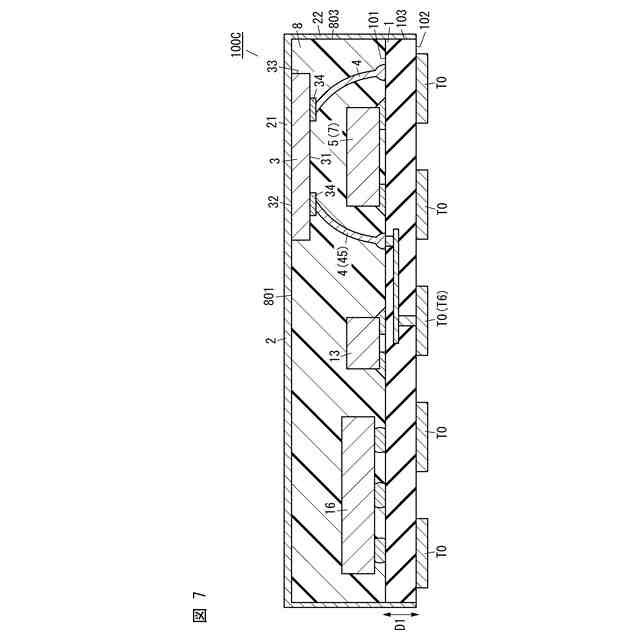
図7は、実施形態4に係る高周波モジュールの断面図である。
図8は、実施形態5に係る高周波モジュールの断面図である。
図9は、実施形態6に係る高周波モジュールの断面図である。
図10は、実施形態7に係る高周波モジュールの要部平面図である。
図11は、同上の高周波モジュールに関し、図10のXI-XI線断面に対応する断面図である。
図12は、実施形態8に係る高周波モジュールの要部断面図である。
図13は、実施形態9に係る高周波モジュールの断面図である。
図14は、実施形態10に係る高周波モジュールの断面図である。
図15A~15Dは、同上の高周波モジュールの製造方法を説明するための工程断面図である。
図16A~16Dは、同上の高周波モジュールの製造方法を説明するための工程断面図である。
【発明を実施するための形態】
(【0011】以降は省略されています)
この特許をJ-PlatPat(特許庁公式サイト)で参照する
関連特許
株式会社村田製作所
電子部品
9日前
株式会社村田製作所
測定装置
4日前
株式会社村田製作所
移相回路
2日前
株式会社村田製作所
電子聴診器
2日前
株式会社村田製作所
噴霧ノズル
11日前
株式会社村田製作所
高周波回路
3日前
株式会社村田製作所
コイル部品
2日前
株式会社村田製作所
コイル部品
2日前
株式会社村田製作所
電池パック
4日前
株式会社村田製作所
ネブライザ
2日前
株式会社村田製作所
フィルタ回路
13日前
株式会社村田製作所
フィルタ装置
3日前
株式会社村田製作所
圧力センサ装置
4日前
株式会社村田製作所
複合型電子部品
9日前
株式会社村田製作所
積層インダクタ
13日前
株式会社村田製作所
電池モジュール
2日前
株式会社村田製作所
呼吸検出システム
13日前
株式会社村田製作所
電子部品包装装置
4日前
株式会社村田製作所
ファブリペロー干渉計
3日前
株式会社村田製作所
コンデンサモジュール
2日前
株式会社村田製作所
造粒粉及びインダクタ
3日前
株式会社村田製作所
積層セラミック電子部品
9日前
株式会社村田製作所
積層セラミック電子部品
10日前
株式会社村田製作所
積層セラミック電子部品
3日前
株式会社村田製作所
積層セラミック電子部品
10日前
株式会社村田製作所
積層セラミック電子部品
3日前
株式会社村田製作所
積層セラミック電子部品
3日前
株式会社村田製作所
光学的パターン表示物品
9日前
株式会社村田製作所
濾過装置および濾過方法
3日前
株式会社村田製作所
積層セラミックコンデンサ
10日前
株式会社村田製作所
タブおよび電池モジュール
9日前
株式会社村田製作所
積層セラミックコンデンサ
11日前
株式会社村田製作所
タブおよび電池モジュール
9日前
株式会社村田製作所
積層セラミックコンデンサ
13日前
株式会社村田製作所
積層インダクタの製造方法
9日前
株式会社村田製作所
電池および電池の製造方法
9日前
続きを見る
他の特許を見る