TOP
|
特許
|
意匠
|
商標
特許ウォッチ
Twitter
他の特許を見る
公開番号
2025147001
公報種別
公開特許公報(A)
公開日
2025-10-03
出願番号
2025129111,2023184667
出願日
2025-08-01,2020-11-17
発明の名称
端末装置、情報処理方法及び端末装置用プログラム
出願人
パイオニア株式会社
代理人
弁理士法人インテクト国際特許事務所
,
個人
主分類
H04M
1/72454 20210101AFI20250926BHJP(電気通信技術)
要約
【課題】端末装置が装着される車載機との関係において端末装置としての動作態様を切り換えることが可能な端末装置等を提供する。
【解決手段】被装着装置Mへ装着され且つ当該被装着装置Mとの間で通信を行う端末装置Tにおいて、被装着装置Mへの装着状態と、被装着装置Mとの間の通信状態と、に基づいて、端末装置Tとしての動作態様を切り換える切換手段1を備える。
【選択図】図1
特許請求の範囲
【請求項1】
被装着装置へ装着され且つ当該被装着装置との間で通信を行う端末装置において、
前記被装着装置への装着状態と、前記被装着装置との間の通信状態と、に基づいて、当該端末装置としての動作態様を切り換える切換手段を備えることを特徴とする端末装置。
発明の詳細な説明
【技術分野】
【0001】
本願は、端末装置、情報処理方法及び端末装置用プログラムの技術分野に属する。より詳細には、被装着装置に対して装着可能な端末装置、当該端末装置において実行される情報処理及び当該端末装置用のプログラムの技術分野に属する。
続きを表示(約 1,500 文字)
【背景技術】
【0002】
近年、いわゆるスマートフォンやタブレット型PC(Personal Computer)等の携帯端末を、例えば車両に据え付けられている車載機と連携させることで、携帯端末が備えるディスプレイを用いた表示機能や、ナビゲーション機能又はコンテンツの再生機能等を利用して、車載型AV(Audio Visual)システムを安価に構成することが行われている。このような従来技術を開示している先行技術文献としては、例えば下記特許文献1が挙げられる。
【0003】
この特許文献1には、車両等の内装部分に固定された車載機と、その車載機に対して着脱自在に装着された状態での当該車載機との近距離無線通信により当該車載機に音声信号を送信しつつ画像表示を行う携帯端末と、を備える車載システムが開示されている。そして、特許文献1に開示されている車載システムでは、近距離無線通信による音声信号の送受信における遅延状態を取得して、表示画像と出力音声との間のタイムラグの抑制処理を行う構成とされている。
【先行技術文献】
【特許文献】
【0004】
特開2015-58894号公報
【発明の概要】
【発明が解決しようとする課題】
【0005】
一方携帯端末は、車両内で使用される他に、車両の外で、例えば使用者の歩行中に使用される場合が考えられる。また、車両内での使用であっても、運転者により使用される場合以外にも、運転者以外の搭乗者により使用される場合が想定される。従って、このように種々の使用態様が想定される携帯端末としては、それぞれの使用態様に合わせてその動作や機能が変更できることが好ましい。
【0006】
しかしながら、上記特許文献1に開示されている携帯端末には、上記のような要請に対応する構成については、何ら言及されていない。従って、上記特許文献1に開示されている技術では、当該要請に応じることはできない。
【0007】
そこで本願は、上記の要請に鑑みて為されたもので、その課題の一例は、端末装置が装着される車載機との関係において端末装置としての動作態様を切り換えることが可能な端末装置、当該端末装置において実行される情報処理及び当該端末装置用のプログラムを提供することにある。
【課題を解決するための手段】
【0008】
上記の課題を解決するために、請求項1に記載の発明は、被装着装置へ装着され且つ当該被装着装置との間で通信を行う端末装置において、前記被装着装置への装着状態と、前記被装着装置との間の通信状態と、に基づいて、当該端末装置としての動作態様を切り換える切換手段を備える。
【0009】
上記の課題を解決するために、請求項7に記載の発明は、被装着装置へ装着されると共に当該被装着装置との間で通信を行い、且つ切換手段を備える端末装置において実行される情報処理方法において、前記被装着装置への装着状態と、前記被装着装置との間の通信状態と、に基づいて、当該端末装置としての動作態様を前記切換手段により切り換える切換工程を含む。
【0010】
上記の課題を解決するために、請求項8に記載の発明は、被装着装置へ装着され且つ当該被装着装置との間で通信を行う端末装置に備えられたコンピュータを、前記被装着装置への装着状態と、前記被装着装置との間の通信状態と、に基づいて、当該端末装置としての動作態様を切り換える切換手段として機能させる。
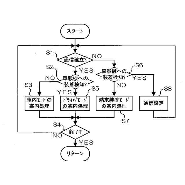
【図面の簡単な説明】
(【0011】以降は省略されています)
この特許をJ-PlatPat(特許庁公式サイト)で参照する
関連特許
パイオニア株式会社
情報処理装置
12日前
パイオニア株式会社
情報処理装置
12日前
パイオニア株式会社
情報処理装置
12日前
パイオニア株式会社
情報処理装置
12日前
パイオニア株式会社
ルームミラー装置
12日前
パイオニア株式会社
ルームミラー装置
12日前
パイオニア株式会社
検索装置、検索方法、及びプログラム
12日前
パイオニア株式会社
制御装置、制御方法、及びプログラム
12日前
パイオニア株式会社
情報処理装置、情報処理方法及びプログラム
2日前
パイオニア株式会社
情報処理装置、情報処理方法、及びプログラム
12日前
パイオニア株式会社
情報処理装置、情報処理方法、及びプログラム
12日前
パイオニア株式会社
車両監視装置、車両監視方法、及びプログラム
12日前
パイオニア株式会社
車両監視装置、車両監視方法、及びプログラム
8日前
パイオニア株式会社
情報処理装置、情報処理方法、及びプログラム
2日前
パイオニア株式会社
情報処理装置、制御方法、プログラム及び記憶媒体
1日前
パイオニア株式会社
情報処理装置、制御方法、プログラム及び記憶媒体
1日前
パイオニア株式会社
経路探索装置、経路探索方法、プログラム及び記憶媒体
12日前
パイオニア株式会社
経路探索装置、経路探索方法、プログラム及び記憶媒体
12日前
パイオニア株式会社
経路探索装置、経路探索方法、プログラム及び記憶媒体
12日前
パイオニア株式会社
情報処理装置、情報処理方法および情報処理プログラム
1日前
パイオニア株式会社
情報処理装置、情報処理方法および情報処理プログラム
1日前
パイオニア株式会社
情報処理装置、情報処理方法および情報処理プログラム
1日前
パイオニア株式会社
情報処理装置、情報処理方法および情報処理プログラム
1日前
パイオニア株式会社
情報処理装置、情報処理方法および情報処理プログラム
1日前
パイオニア株式会社
情報処理装置、情報処理方法および情報処理プログラム
1日前
パイオニア株式会社
情報処理装置、情報処理方法および情報処理プログラム
1日前
パイオニア株式会社
情報処理装置、情報処理方法、および情報処理プログラム
1日前
パイオニア株式会社
入力装置
8日前
パイオニア株式会社
情報処理システム、情報処理方法、プログラム及び記録媒体
2日前
パイオニア株式会社
表示制御装置
12日前
パイオニア株式会社
車載装置、制御方法及びプログラム
12日前
パイオニア株式会社
通報装置、通報方法、及びプログラム
4日前
パイオニア株式会社
情報処理装置、方法、プログラム及び記憶媒体
11日前
パイオニア株式会社
情報送信装置、方法、プログラム及び記憶媒体
8日前
パイオニア株式会社
情報処理装置、方法、プログラム及び記憶媒体
8日前
パイオニア株式会社
端末装置、情報処理方法及び端末装置用プログラム
8日前
続きを見る
他の特許を見る