TOP
|
特許
|
意匠
|
商標
特許ウォッチ
Twitter
他の特許を見る
10個以上の画像は省略されています。
公開番号
2025150801
公報種別
公開特許公報(A)
公開日
2025-10-09
出願番号
2024051899
出願日
2024-03-27
発明の名称
情報処理システム、情報処理方法、プログラム及び記録媒体
出願人
パイオニア株式会社
代理人
弁理士法人レクスト国際特許事務所
主分類
G06F
16/55 20190101AFI20251002BHJP(計算;計数)
要約
【課題】移動体の移動中において、ユーザの好みの被写体や情景が写る画像を自動で記憶可能な情報処理システム、情報処理方法、プログラム及び記録媒体を提供する。
【解決手段】
移動体と共に移動する撮像部によって撮像された時間的に連続する画像を取得する画像取得部と、画像取得部が取得した画像の美しさを示す美的評価値を算出する美的評価値算出部と、複数の美的評価値の時系列値を平滑化して時間的に連続する平滑化評価値を生成する平滑化評価値生成部と、画像取得部が取得した画像のうち平滑化評価値が所定の基準を満たすタイミングに対応する画像を特定する特定部と、を有する。
【選択図】図4
特許請求の範囲
【請求項1】
移動体と共に移動する撮像部によって撮像された時間的に連続する画像を取得する画像取得部と、
前記画像取得部が取得した画像の美しさを示す美的評価値を算出する美的評価値算出部と、
複数の美的評価値の時系列値を平滑化して時間的に連続する平滑化評価値を生成する平滑化評価値生成部と、
前記画像取得部が取得した画像のうち前記平滑化評価値が所定の基準を満たすタイミングに対応する画像を特定する特定部と、
を有することを特徴とする情報処理システム。
続きを表示(約 1,300 文字)
【請求項2】
前記特定部は、前記時間的に連続する画像のうち前記時間的に連続する平滑化評価値の極大値に対応したタイミングに対応する画像を特定することを特徴とする請求項1に記載の情報処理システム。
【請求項3】
前記特定部は、前記時間的に連続する画像のうち前記時間的に連続する平滑化評価値が所定の閾値を超えた期間に対応する画像を特定することを特徴とする請求項1に記載の情報処理システム。
【請求項4】
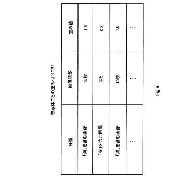
前記美的評価値算出部は、ユーザの操作またはユーザの好みに基づいて設定された被写体別又は情景別の重み値を用いて前記1の画像の美的評価値を補正し、
前記判定部は、当該補正後の美的評価値に基づいて前記1の画像を記憶すべきか否かを判定することを特徴とする請求項1に記載の情報処理システム。
【請求項5】
前記美的評価値算出部は、不特定多数の人が投稿した投稿画像及び前記投稿画像に付されたコメントの内容に基づいて算出される前記投稿画像の美的評価値を前記投稿画像と結び付けて学習したモデルを用いて前記1の画像の美的評価値を算出することを特徴とする請求項1に記載の情報処理システム。
【請求項6】
前記平滑化評価値生成部は、経験モード分解法により前記時間的に連続する平滑化評価値を生成することを特徴とする請求項1乃至5のいずれか1つに記載の情報処理システム。
【請求項7】
前記特定部が特定した画像を記憶部に記憶させる記憶制御部を備えることを特徴とする請求項1乃至5のいずれか1つに記載の情報処理システム。
【請求項8】
前記記憶制御部によって前記記憶部に記憶された複数の画像のうち少なくとも2以上の画像を、比較可能な態様で表示部に表示させる表示制御部を備えることを特徴とする請求項7に記載の情報処理システム。
【請求項9】
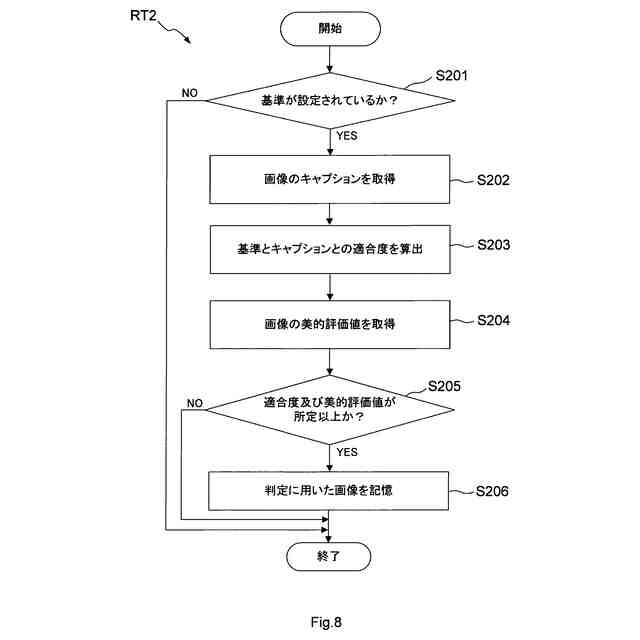
ユーザから入力された言語に基づいて、記憶すべき画像の基準を設定する基準設定部と、
前記画像取得部が取得した1の画像の前記基準に対する適合度を算出する適合度算出部と、
前記1の画像についての前記適合度に基づいて前記1の画像を記憶すべきか否かを判定する判定部と、
を有することを特徴とする請求項1乃至5のいずれか1つに記載の情報処理システム。
【請求項10】
情報処理システムが実行する情報処理方法であって、
移動体と共に移動する撮像部によって撮像された時間的に連続する画像を取得する画像取得ステップと、
前記画像取得ステップにおいて取得した画像の美しさを示す美的評価値を算出する美的評価値算出ステップと、
複数の美的評価値の時系列値を平滑化して時間的に連続する平滑化評価値を生成する平滑化評価値生成ステップと、
前記画像取得ステップにおいてが取得した画像のうち前記平滑化評価値が所定の基準を満たすタイミングに対応する画像を特定する特定ステップと、
を有することを特徴とする情報処理方法。
(【請求項11】以降は省略されています)
発明の詳細な説明
【技術分野】
【0001】
本発明は、情報処理システム、情報処理方法、プログラム及び記録媒体に関する。
続きを表示(約 2,400 文字)
【背景技術】
【0002】
車両の乗員の好みに合った被写体を撮影する車載装置が開示されている。例えば、特許文献1には、車両の乗員がSNSにアップロードした画像を収集し、当該収集した画像から乗員の好みの被写体を推定し、当該推定した被写体と同じ自然物や人工物を車外風景の撮影中に認識した場合に、当該自然物や人工物が写る画像をディスプレイに表示する画像撮影装置が開示されている。
【先行技術文献】
【特許文献】
【0003】
特開2019-114875号公報
【発明の概要】
【発明が解決しようとする課題】
【0004】
特許文献1に開示されている画像撮影装置においては、予めSNSにアップロードされた画像のみから自動で乗員の好みの被写体が推定される。従って、例えば今まで撮影したことのない被写体は例え乗員が興味を持ったとしても撮影されないなど、乗員が被写体を自由に指定できないという問題点が挙げられる。
【0005】
本発明は、上記した課題を解決するものであって、移動体の移動中において、ユーザの好みの被写体や情景が写る画像を自動で記憶可能な情報処理システム、情報処理方法、プログラム及び記録媒体を提供することを目的とする。
【課題を解決するための手段】
【0006】
請求項1に記載の情報処理システムは、移動体と共に移動する撮像部によって撮像された時間的に連続する画像を取得する画像取得部と、画像取得部が取得した画像の美しさを示す美的評価値を算出する美的評価値算出部と、複数の美的評価値の時系列値を平滑化して時間的に連続する平滑化評価値を生成する平滑化評価値生成部と、画像取得部が取得した画像のうち平滑化評価値が所定の基準を満たすタイミングに対応する画像を特定する特定部と、を有することを特徴としている。
【0007】
請求項10に記載の情報処理方法は、情報処理システムが実行する情報処理方法であって、
移動体と共に移動する撮像部によって撮像された時間的に連続する画像を取得する画像取得ステップと、画像取得ステップにおいて取得した画像の美しさを示す美的評価値を算出する美的評価値算出ステップと、複数の美的評価値の時系列値を平滑化して時間的に連続する平滑化評価値を生成する平滑化評価値生成ステップと、画像取得ステップにおいてが取得した画像のうち平滑化評価値が所定の基準を満たすタイミングに対応する画像を特定する特定ステップと、を有することを特徴としている。
【0008】
請求項11に記載のプログラムは、コンピュータに実行させるためのプログラムであって、移動体と共に移動する撮像部によって撮像された時間的に連続する画像を取得する画像取得ステップと、画像取得ステップにおいて取得した画像の美しさを示す美的評価値を算出する美的評価値算出ステップと、複数の美的評価値の時系列値を平滑化して時間的に連続する平滑化評価値を生成する平滑化評価値生成ステップと、画像取得ステップにおいてが取得した画像のうち平滑化評価値が所定の基準を満たすタイミングに対応する画像を特定する特定ステップと、をコンピュータに実行させることを特徴としている。
【0009】
請求項12に記載の記録媒体は、情報処理システムに設けられたコンピュータに、移動体と共に移動する撮像部によって撮像された時間的に連続する画像を取得する画像取得ステップと、画像取得ステップにおいて取得した画像の美しさを示す美的評価値を算出する美的評価値算出ステップと、複数の美的評価値の時系列値を平滑化して時間的に連続する平滑化評価値を生成する平滑化評価値生成ステップと、画像取得ステップにおいてが取得した画像のうち平滑化評価値が所定の基準を満たすタイミングに対応する画像を特定する特定ステップと、を実行させるプログラムを記録した記録媒体である。
【図面の簡単な説明】
【0010】
実施例1に係る自動撮影システムの構成を示す図である。
実施例1に係る車両の前席部分の構成及び車両内の様子を示す図である。
実施例1に係る車載装置の構成の一例を示すブロック図である。
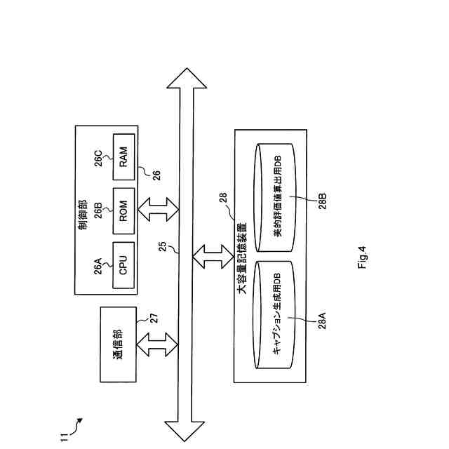
実施例1に係るサーバ装置の構成の一例を示すブロック図である。
実施例1に係るサーバ装置によってなされる画像のキャプション生成の一例を示す図である。
実施例1に係るサーバ装置によってなされる画像の美的評価値算出の一例を示す図である。
実施例1に係る車載装置によって実行される制御ルーチンのフローチャートの一例を示す図である。
実施例1に係る車載装置によって実行される制御ルーチンのフローチャートの一例を示す図である。
実施例1の変形例1に係るサーバ装置に記憶された被写体ごとの重み付けを示す表である。
実施例1の変形例2に係る自動撮影システムにおけるSNSへの投稿画像及び投稿画像についてのコメントの例を示す図である。
実施例1の変形例3に係る車載装置によって実行される制御ルーチンのフローチャートの一例を示す図である。
実施例2に係る車両の前席部分の構成及び車両内の様子を示す図である。
実施例3に係る自動撮影システムにおける美的評価値の波形及び当該波形が平滑化された波形の一例を示す図である。
実施例3の変形例4に係るタッチパネルディスプレイに表示される画像の比較態様の例を示す図である。
実施例3に係る自動撮影システムにおける美的評価値の波形及び当該波形が平滑化された波形の一例を示す図である。
【発明を実施するための形態】
(【0011】以降は省略されています)
この特許をJ-PlatPat(特許庁公式サイト)で参照する
関連特許
個人
QRコードの彩色
1日前
個人
地球保全システム
10日前
個人
冷凍食品輸出支援構造
1か月前
個人
為替ポイント伊達夢貯
1か月前
個人
表変換編集支援システム
1か月前
個人
残土処理システム
3日前
個人
知財出願支援AIシステム
1か月前
個人
知的財産出願支援システム
4日前
個人
結婚相手紹介支援システム
1か月前
個人
パスワード管理支援システム
1か月前
個人
AIによる情報の売買の仲介
1か月前
個人
行動時間管理システム
1か月前
株式会社キーエンス
受発注システム
9日前
株式会社キーエンス
受発注システム
9日前
日本精機株式会社
施工管理システム
1か月前
個人
パスポートレス入出国システム
1か月前
株式会社キーエンス
受発注システム
9日前
株式会社アジラ
進入判定装置
1か月前
個人
食品レシピ生成システム
9日前
個人
AIキャラクター制御システム
1か月前
個人
システム及びプログラム
23日前
個人
海外支援型農作物活用システム
22日前
個人
帳票自動生成型SaaSシステム
4日前
個人
音声対話型帳票生成支援システム
1か月前
個人
SaaS型勤務調整支援システム
1か月前
個人
未来型家系図構築システム
22日前
個人
食事受注会計処理システム
1か月前
個人
音声・通知・再配達UX制御構造
4日前
個人
冷凍加工連携型農場運用システム
1か月前
個人
社会還元・施設向け供給支援構造
1か月前
サクサ株式会社
中継装置
1か月前
個人
人格進化型対話応答制御システム
1か月前
キヤノン株式会社
表示システム
9日前
大阪瓦斯株式会社
住宅設備機器
1か月前
大同特殊鋼株式会社
疵判定方法
16日前
中部電力株式会社
学習装置
22日前
続きを見る
他の特許を見る