TOP
|
特許
|
意匠
|
商標
特許ウォッチ
Twitter
他の特許を見る
10個以上の画像は省略されています。
公開番号
2025147367
公報種別
公開特許公報(A)
公開日
2025-10-07
出願番号
2024047586
出願日
2024-03-25
発明の名称
系統評価装置、系統評価システム、系統評価方法、及びプログラム
出願人
三菱電機株式会社
代理人
個人
,
個人
,
個人
,
個人
主分類
H02J
3/00 20060101AFI20250930BHJP(電力の発電,変換,配電)
要約
【課題】平均的でない状況である、本当に発生しうる過酷断面まで考慮した上で、系統構成の是非を適切に評価することができ、精度よく系統の設備形成計画を策定する。
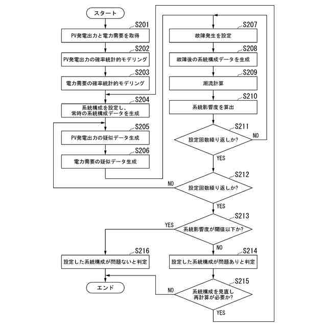
【解決手段】系統評価装置は、評価対象の電力系統である対象系統に接続されている発電機の発電出力に基づいて、前記発電出力の母集団の確率分布モデルを生成し、前記対象系統の電力需要に基づいて、前記電力需要の母集団の確率分布モデルを生成するモデル生成部と、前記モデル生成部が生成した前記発電出力の母集団の確率分布モデル及び前記電力需要の母集団の確率分布モデルに基づいて、それぞれの疑似データを生成する疑似データ生成部と、前記疑似データ生成部が生成した前記疑似データにより、前記対象系統の設備の故障又は事故が発生した異常時における影響度である系統影響度を算出し、前記系統影響度に基づいて、前記対象系統を評価する系統評価部とを備える。
【選択図】図2
特許請求の範囲
【請求項1】
評価対象の電力系統である対象系統に接続されている発電機の発電出力に基づいて、前記発電出力の母集団の確率分布モデルを生成し、前記対象系統の電力需要に基づいて、前記電力需要の母集団の確率分布モデルを生成するモデル生成部と、
前記モデル生成部が生成した前記発電出力の母集団の確率分布モデル及び前記電力需要の母集団の確率分布モデルに基づいて、それぞれの疑似データを生成する疑似データ生成部と、
前記疑似データ生成部が生成した前記疑似データにより、前記対象系統の設備の故障又は事故が発生した異常時における影響度である系統影響度を算出し、前記系統影響度に基づいて、前記対象系統を評価する系統評価部と
を備える系統評価装置。
続きを表示(約 1,700 文字)
【請求項2】
前記系統影響度には、前記対象系統の異常時における供給支障量及び過負荷量が含まれ、
前記系統評価部は、前記供給支障量及び前記過負荷量の少なくとも一方に基づいて、前記対象系統を評価する
請求項1に記載の系統評価装置。
【請求項3】
前記対象系統の流通設備の故障率及び系統事故の発生率の少なくとも一方に基づいて、前記対象系統の構成に、前記流通設備の故障又は前記系統事故を発生させた前記異常時の系統構成を反映させた潮流計算用の入力データを生成する系統異常模擬部と、
前記系統異常模擬部が生成した前記潮流計算用の入力データと、前記それぞれの疑似データとに基づいて、潮流計算を実行する潮流計算部と、
前記潮流計算部が前記潮流計算を実行した潮流計算結果に基づいて、前記供給支障量及び前記過負荷量を、前記系統影響度として算出する系統影響度算出部と
を備え、
前記系統評価部は、前記系統影響度算出部が算出した前記供給支障量及び前記過負荷量の少なくとも一方に基づいて、前記対象系統を評価する
請求項2に記載の系統評価装置。
【請求項4】
前記発電出力には、再生可能エネルギーの発電出力が含まれ、
前記系統異常模擬部は、前記再生可能エネルギーの出力抑制量が最小になる最適潮流計算用の入力データを生成し、
前記潮流計算部は、前記最適潮流計算用の入力データと、前記それぞれの疑似データとに基づいて、再生可能エネルギーの出力抑制量が最小になるように、最適潮流計算を実行し、
前記系統影響度には、前記潮流計算部が前記最適潮流計算を実行した最適潮流計算結果における前記再生可能エネルギーの出力抑制量が含まれ、
前記系統評価部は、前記最適潮流計算結果における前記再生可能エネルギーの出力抑制量に基づいて、前記対象系統を評価する
請求項3に記載の系統評価装置。
【請求項5】
前記系統評価部は、前記系統影響度と、前記系統影響度の許容閾値とに基づいて、前記対象系統を評価する
請求項3又は請求項4に記載の系統評価装置。
【請求項6】
前記発電出力には、太陽光発電出力が含まれ、
前記モデル生成部は、複数の時刻各々における前記太陽光発電出力を、対応する時刻における大気外の理論日射強度を用いて正規化し、正規化した前記太陽光発電出力を用いて前記太陽光発電出力の確率分布モデルを生成する
請求項1から請求項4のいずれか一項に記載の系統評価装置。
【請求項7】
前記モデル生成部は、統計学的推定手法を用いて前記発電出力の確率分布モデルを生成する
請求項1から請求項4のいずれか一項に記載の系統評価装置。
【請求項8】
前記統計学的推定手法は、ノンパラメトリック手法である
請求項7に記載の系統評価装置。
【請求項9】
前記電力需要の疑似データ及び前記発電出力の疑似データは、予め決められた複数の時刻各々おける複数のケースを含む
請求項1から請求項4のいずれか一項に記載の系統評価装置。
【請求項10】
評価対象の電力系統である対象系統に接続されている発電機の発電出力に基づいて、前記発電出力の母集団の確率分布モデルを生成し、前記対象系統の電力需要に基づいて、前記電力需要の母集団の確率分布モデルを生成するモデル生成部と、
前記モデル生成部が生成した前記発電出力の母集団の確率分布モデル及び前記電力需要の母集団の確率分布モデルに基づいて、それぞれの疑似データを生成する疑似データ生成部と、
前記疑似データ生成部が生成した前記疑似データにより、前記対象系統の設備の故障又は事故が発生した異常時における影響度である系統影響度を算出し、前記系統影響度に基づいて、前記対象系統を評価する系統評価部と
を備える系統評価システム。
(【請求項11】以降は省略されています)
発明の詳細な説明
【技術分野】
【0001】
本開示は、系統評価装置、系統評価システム、系統評価方法、及びプログラムに関する。
続きを表示(約 2,200 文字)
【背景技術】
【0002】
近年、一般送配電事業者では、レベニューキャップ制度(託送料金制度)の導入により、設備の保守、保全コストの低減と共に、「低炭素化」、「レジリエンス向上」など、電力系統を次世代化するための投資を計画的、効率的に実施することが求められている。
【0003】
特許文献1では、電力系統の設備の更新の優先度を算出する優先度算出装置が開示されている。この優先度算出装置は、電力系統の系統構成情報を用いて、評価対象の設備が故障した場合の系統構成を示す故障後データを作成する。そして、該優先度算出装置は、該故障後データを用いた潮流計算を行い、該潮流計算の結果から得られた他設備への影響の度合いを評価対象の設備の更新の優先度としている。
【0004】
また、非特許文献1、2では、需要家における消費から太陽光発電(PV、Photovoltaic)による発電を差し引いた残余需要に基づき、電力需要と、太陽光発電出力とを推定する手法が開示されている。
【先行技術文献】
【特許文献】
【0005】
特開2021-191112号公報
【非特許文献】
【0006】
安並一浩:「スマートメータを利用した太陽光発電出力推定手法」, 電学論C, Vol.141, No.12, pp.1484-1491 (2021-12)
安並一浩:「積算電力量と日射強度を利用した過積載PVの発電出力推定手法」、電力技術・電力系統技術・半導体電力変換合同研究会、PE-23-065、PSE-23-071、SPC-23-121、分冊 3、pp.101-107 (2023-3)
【発明の概要】
【発明が解決しようとする課題】
【0007】
しかしながら、特許文献1のような従来技術では、平均的な電力需要又は発電出力に基づき、設備更新の優先度を算出している。そのため、従来技術では、平均的でない状況である過酷断面における系統影響度が優先度に反映されずに、本当に発生しうる過酷断面を評価できない可能性があった。なお、電力会社では、設備更新又は設備形成計画を策定する際には、過酷断面で評価を行ってきている。例えば、夏季(8月頃)、あるいは、冬季(2月頃)に現れる電力需要(負荷)のピーク時に、電力系統(送電線、配電線)を流れる潮流(電力潮流)値もピーク(ピーク潮流)になることが多かったことから、従来、電力会社は、これらの断面で評価、検討を行ってきた。しかし、近年、太陽光発電、風力発電(WF;Wind Farm)などに代表される再生可能エネルギー電源(再エネ)が、電力系統に大量に導入(連系)されてきているため、電力潮流の変動は激しく、また、複雑化してきている。このような状況下では、過酷断面(ピーク潮流)が、1年間のうちのどの断面で現れるのかを把握することが難しくなってきている。また、従来技術では、将来断面における現在の系統構成の是非を評価すること、又は適切な設備の新設、増設、除却まで対象とする「設備形成計画」を精度よく策定することが困難であった。
【0008】
本開示は、上記問題を解決すべくなされたもので、その目的は、平均的でない状況である過酷断面により系統構成の是非を適切に評価することができ、精度よく系統の設備形成計画を策定することができる系統評価装置、系統評価システム、系統評価方法、及びプログラムを提供することにある。
【課題を解決するための手段】
【0009】
上記問題を解決するために、本開示の一態様は、評価対象の電力系統である対象系統に接続されている発電機の発電出力に基づいて、前記発電出力の母集団の確率分布モデルを生成し、前記対象系統の電力需要に基づいて、前記電力需要の母集団の確率分布モデルを生成するモデル生成部と、前記モデル生成部が生成した前記発電出力の母集団の確率分布モデル及び前記電力需要の母集団の確率分布モデルに基づいて、それぞれの疑似データを生成する疑似データ生成部と、前記疑似データ生成部が生成した前記疑似データにより、前記対象系統の設備の故障又は事故が発生した異常時における影響度である系統影響度を算出し、前記系統影響度に基づいて、前記対象系統を評価する系統評価部とを備える系統評価装置である。
【0010】
また、本開示の一態様は、評価対象の電力系統である対象系統に接続されている発電機の発電出力に基づいて、前記発電出力の母集団の確率分布モデルを生成し、前記対象系統の電力需要に基づいて、前記電力需要の母集団の確率分布モデルを生成するモデル生成部と、前記モデル生成部が生成した前記発電出力の母集団の確率分布モデル及び前記電力需要の母集団の確率分布モデルに基づいて、それぞれの疑似データを生成する疑似データ生成部と、前記疑似データ生成部が生成した前記疑似データにより、前記対象系統の設備の故障又は事故が発生した異常時における影響度である系統影響度を算出し、前記系統影響度に基づいて、前記対象系統を評価する系統評価部とを備える系統評価システムである。
(【0011】以降は省略されています)
この特許をJ-PlatPat(特許庁公式サイト)で参照する
関連特許
三菱電機株式会社
回転電機
14日前
三菱電機株式会社
回転電機
24日前
三菱電機株式会社
照明装置
24日前
三菱電機株式会社
加熱調理器
17日前
三菱電機株式会社
半導体装置
18日前
三菱電機株式会社
半導体装置
24日前
三菱電機株式会社
半導体装置
4日前
三菱電機株式会社
車両制御装置
26日前
三菱電機株式会社
貯湯式給湯機
14日前
三菱電機株式会社
空気調和装置
25日前
三菱電機株式会社
給湯システム
17日前
三菱電機株式会社
ネジ取出機構
25日前
三菱電機株式会社
照明システム
4日前
三菱電機株式会社
電力変換装置
24日前
三菱電機株式会社
送電線保護装置
24日前
三菱電機株式会社
非常用照明装置
17日前
三菱電機株式会社
電動機制御装置
10日前
三菱電機株式会社
照明制御システム
24日前
三菱電機株式会社
換気空調システム
14日前
三菱電機株式会社
変圧器の診断方法
1か月前
三菱電機株式会社
風力発電システム
14日前
三菱電機株式会社
照明制御システム
11日前
三菱電機株式会社
空気清浄システム
17日前
三菱電機株式会社
ウエハテスト装置
24日前
三菱電機株式会社
電流切替型DAC
4日前
三菱電機株式会社
コントロールセンタ
24日前
三菱電機株式会社
照明器具及び照明装置
24日前
三菱電機株式会社
半導体装置の製造方法
1か月前
三菱電機株式会社
室外機および空気調和装置
24日前
三菱電機株式会社
冷蔵庫及び冷蔵庫システム
26日前
三菱電機株式会社
制御システムおよび学習装置
24日前
三菱電機株式会社
半導体装置及びヒートシンク
18日前
三菱電機株式会社
半導体装置及びその製造方法
17日前
三菱電機株式会社
給湯システムおよび学習装置
1か月前
三菱電機株式会社
コントローラ及び送風システム
14日前
三菱電機株式会社
監視装置、および監視システム
5日前
続きを見る
他の特許を見る