TOP
|
特許
|
意匠
|
商標
特許ウォッチ
Twitter
他の特許を見る
10個以上の画像は省略されています。
公開番号
2025147456
公報種別
公開特許公報(A)
公開日
2025-10-07
出願番号
2024047710
出願日
2024-03-25
発明の名称
電気光学装置および電子機器
出願人
セイコーエプソン株式会社
代理人
個人
,
個人
,
個人
主分類
H10K
50/844 20230101AFI20250930BHJP()
要約
【課題】発光層からの出射光の利用効率を高める。
【解決手段】電気光学装置10は、画素電極131および共通電極133で発光層132が挟持され、当該発光層132が画素分離層151の開口領域Arにおいて接する発光素子130と、発光素子130および共通電極133を平面視で囲む隔壁161と、絶縁性および透過性を有し、発光素子130および隔壁161を覆う絶縁性の封止層152と、絶縁性および透過性を有し、封止層152を覆い、封止層152よりも屈折率が高い平坦化層153と、を含み、平面視で開口領域における封止層12のうち、平坦化層153に向かう面は、断面視で凹面である。
【選択図】図6
特許請求の範囲
【請求項1】
第1電極および第2電極と、前記第1電極および前記第2電極の間に設けられた発光層と、を有する発光素子と、
前記発光素子を平面視で囲む隔壁と、
前記第1電極の周縁を覆い、前記第1電極と平面視で重なる開口領域を有する第1絶縁層と、
絶縁性および透過性を有し、前記発光素子および前記隔壁を覆う絶縁性の第2絶縁層と、
絶縁性および透過性を有し、前記第2絶縁層を覆い、前記第2絶縁層より屈折率が高い第3絶縁層と、
を含み、
前記開口領域において、前記第1電極と前記発光層とが接し、
平面視で、前記開口領域における前記第2絶縁層のうち、前記第3絶縁層に向かう面は、凹面である
電気光学装置。
続きを表示(約 500 文字)
【請求項2】
前記第3絶縁層は、
無機材料から構成される
請求項1に記載の電気光学装置。
【請求項3】
前記第3絶縁層において前記第2絶縁層と反対側に着色層が設けられる
請求項1に記載の電気光学装置。
【請求項4】
前記第3絶縁層と前記着色層との間に、絶縁性および透過性を有する第4絶縁層が設けられる
請求項3に記載の電気光学装置。
【請求項5】
前記第4絶縁層は、
有機材料から構成される
請求項4に記載の電気光学装置。
【請求項6】
平面視で、前記開口領域の開口端における前記第1電極と前記第2絶縁層との距離は、前記開口領域の中心における前記第1電極と前記第2絶縁層との距離よりも長い
請求項1に記載の電気光学装置。
【請求項7】
前記隔壁の上面において、断面視で前記隔壁からせり出して設けられる上部と、を含む
請求項1に記載の電気光学装置。
【請求項8】
請求項1乃至7のいずれかに記載の電気光学装置を有する電子機器。
発明の詳細な説明
【技術分野】
【0001】
本発明は、電気光学装置および電子機器に関する。
続きを表示(約 2,200 文字)
【背景技術】
【0002】
発光素子として、例えば、OLEDを用いた電気光学装置が知られている。OLEDは、Organic Light Emitting Diodeの略である。このような発光素子は、画素電極と共通電極とで発光層が挟持された構成である。このような電気光学装置において、基板と、基板上に複数設けられた発光素子と、複数の発光素子の上方に設けられた複数のフィルタ(着色層)と、各着色層を平面視で囲む壁部と、を有し、各着色層は、表示面側に凹面を持たせた技術が知られている(例えば、特許文献1参照)。
【先行技術文献】
【特許文献】
【0003】
国際公開第2023/068227号
【発明の概要】
【発明が解決しようとする課題】
【0004】
近年では画素サイズが小さい電気光学装置において、正面方向の輝度および光の利用効率を高めて、低消費電力で発光層の長寿命化を図ることが望まれている。
【課題を解決するための手段】
【0005】
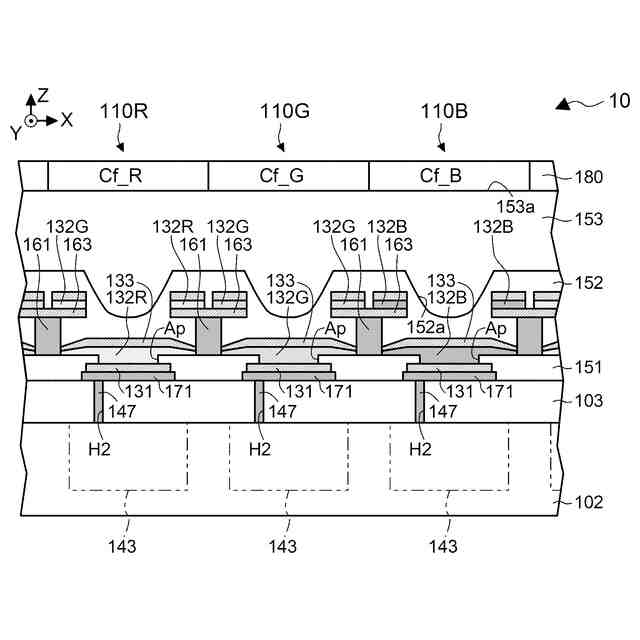
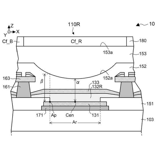
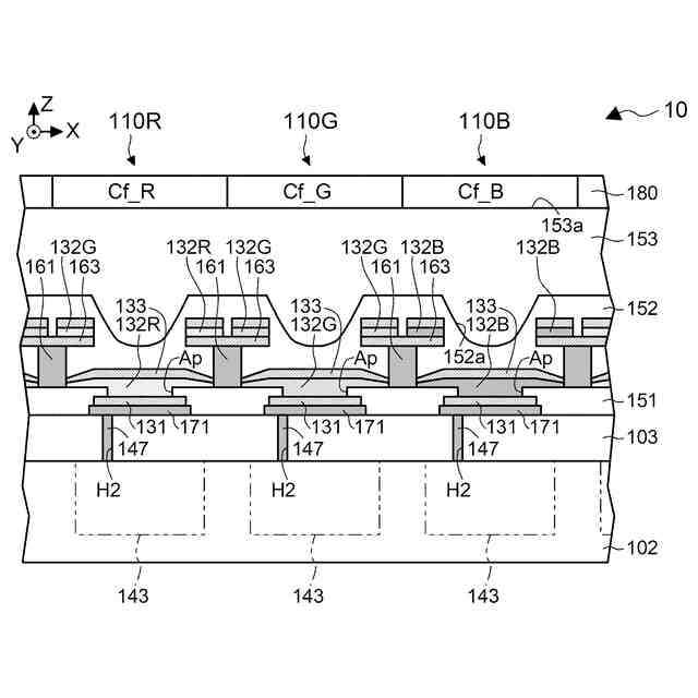
上記課題を解決するために、本開示の一態様に係る電気光学装置は、第1電極および第2電極と、前記第1電極および前記第2電極の間に設けられた発光層と、を有する発光素子と、前記発光素子を平面視で囲む隔壁と、前記第1電極の周縁を覆い、前記第1電極と平面視で重なる開口領域を有する第1絶縁層と、絶縁性および透過性を有し、前記発光素子および前記隔壁を覆う絶縁性の第2絶縁層と、絶縁性および透過性を有し、前記第2絶縁層を覆い、前記第2絶縁層より屈折率が高い第3絶縁層と、を含み、前記開口領域において、前記第1電極と前記発光層とが接し、平面視で、前記開口領域における前記第2絶縁層のうち、前記第3絶縁層に向かう面は、凹面である。
【図面の簡単な説明】
【0006】
第1実施形態に係る電気光学装置の構成を示す斜視図である。
電気光学装置の電気的な構成を示す図である。
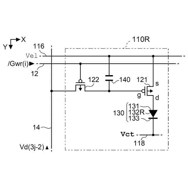
電気光学装置における画素回路の構成を示す図である。
電気光学装置の動作を説明するための図である。
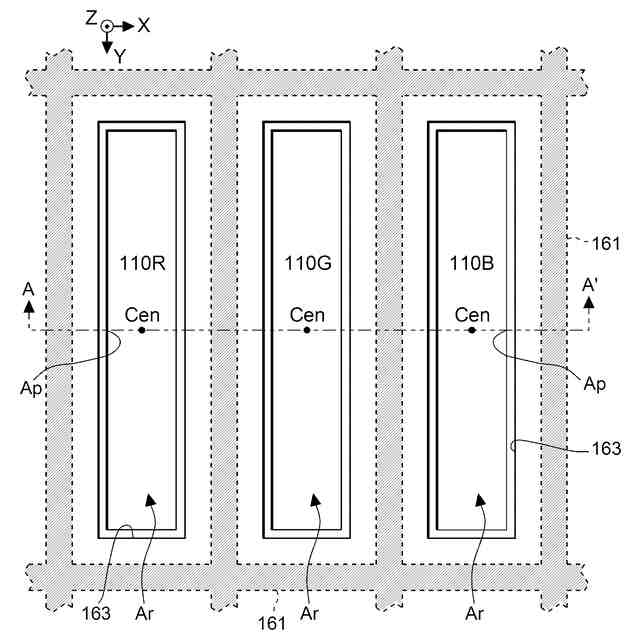
電気光学装置における画素部の要部を示す平面図である。
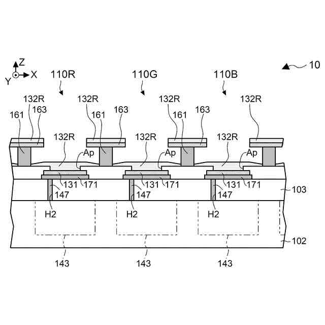
電気光学装置を模式的に示す部分断面図である。
電気光学装置を説明するための部分断面図である。
電気光学装置を説明するための部分断面図である。
電気光学装置を説明するための部分拡大断面図である。
電気光学装置の出射光の経路を説明するための部分拡大断面図である。
第2実施形態に係る電気光学装置を説明するための部分拡大断面図である。
電気光学装置の出射光の経路を説明するための部分拡大断面図である。
第1応用例に係る電気光学装置を説明するための部分断面図である。
第2応用例に係る電気光学装置を説明するための部分断面図である。
実施形態等に係る電気光学装置を用いたヘッドマウントディスプレイを示す斜視図である。
ヘッドマウントディスプレイの光学構成を示す図である。
比較例に係る電気光学装置の出射光の経路を説明するための部分拡大断面図である。
【発明を実施するための形態】
【0007】
以下、実施形態に係る電気光学装置について図面を参照して説明する。なお、各図において、各部の寸法および縮尺は、実際のものと適宜に異ならせてある。また、以下に述べる実施の形態は、好適な具体例であるから、技術的に好ましい種々の限定が付されているが、本開示の範囲は、以下の説明において特に本開示を限定する旨の記載がない限り、これらの形態に限られるものではない。
【0008】
図1は、第1実施形態に係る電気光学装置10を示す斜視図であり、図2は、電気光学装置10の電気的な構成を示すブロック図である。
電気光学装置10は、例えば、ヘッドマウントディスプレイなどにおいてカラー画像を表示するマイクロ・ディスプレイ・パネルである。電気光学装置10は、複数の画素部や当該画素部を駆動する駆動回路などを含む。当該画素部および当該駆動回路は半導体基板に集積化される。半導体基板は、典型的にはシリコン基板であるが、他の半導体基板であってもよい。
【0009】
電気光学装置10は、表示領域100で開口する枠状のケース192に収納される。電気光学装置10には、FPC基板194の一端が接続される。なお、FPCとは、Flexible Printed Circuitsの略称である。FPC基板194の他端には、図示省略されたホスト装置を接続するための複数の端子196が設けられる。複数の端子196がホスト装置に接続されると、電気光学装置10には、当該ホスト装置から、FPC基板194を介して、映像データや同期信号などが供給される。
【0010】
図2に示されるように、電気光学装置10は、制御回路30、データ信号出力回路50、表示領域100および走査線駆動回路120を含む。
表示領域100では、m行の走査線12がX方向に沿って設けられ、(3n)列のデータ線14が、Y方向に沿って、かつ、各走査線12と互いに電気的に絶縁を保つように設けられる。なお、mは2以上の整数であり、nは2以上の整数である。
(【0011】以降は省略されています)
この特許をJ-PlatPat(特許庁公式サイト)で参照する
関連特許
個人
半導体装置
1日前
東レ株式会社
太陽電池モジュール
1日前
エイブリック株式会社
半導体装置
7日前
富士電機株式会社
半導体装置
28日前
富士電機株式会社
半導体装置
10日前
ローム株式会社
半導体装置
2日前
富士通株式会社
半導体装置
今日
AGC株式会社
太陽電池モジュール
13日前
三菱電機株式会社
半導体装置
今日
株式会社半導体エネルギー研究所
半導体装置
29日前
ミツミ電機株式会社
半導体装置
7日前
日亜化学工業株式会社
発光素子
今日
キヤノン株式会社
有機発光素子
20日前
日亜化学工業株式会社
発光素子
8日前
TDK株式会社
圧電素子
今日
日亜化学工業株式会社
発光装置
28日前
ローム株式会社
窒化物半導体装置
28日前
株式会社東芝
熱電変換装置
8日前
ローム株式会社
半導体装置
8日前
ローム株式会社
TVSダイオード
8日前
ローム株式会社
TVSダイオード
8日前
住友電気工業株式会社
半導体装置
20日前
住友電気工業株式会社
半導体装置
20日前
TDK株式会社
光検知装置
7日前
デクセリアルズ株式会社
受光装置
6日前
サンケン電気株式会社
半導体装置
6日前
株式会社カネカ
太陽電池モジュール
8日前
株式会社カネカ
太陽光発電システム
29日前
キオクシア株式会社
記憶装置
6日前
三菱電機株式会社
半導体装置
14日前
内山工業株式会社
太陽電池
6日前
沖電気工業株式会社
発光装置及び表示装置
1日前
キオクシア株式会社
半導体装置
14日前
日本電気株式会社
超伝導量子回路装置
今日
国立大学法人東京科学大学
半導体装置
29日前
一般財団法人電力中央研究所
熱化学電池
1日前
続きを見る
他の特許を見る