TOP
|
特許
|
意匠
|
商標
特許ウォッチ
Twitter
他の特許を見る
10個以上の画像は省略されています。
公開番号
2025147559
公報種別
公開特許公報(A)
公開日
2025-10-07
出願番号
2024047861
出願日
2024-03-25
発明の名称
表示制御プログラム、表示制御方法および情報処理装置
出願人
富士通株式会社
代理人
弁理士法人扶桑国際特許事務所
主分類
H04L
67/55 20220101AFI20250930BHJP(電気通信技術)
要約
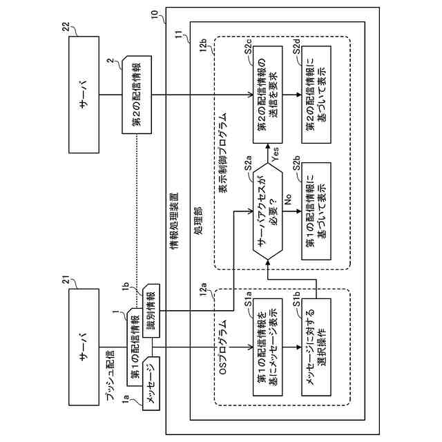
【課題】プッシュ通知の実行に伴うサーバへのアクセス負荷を軽減する。
【解決手段】情報処理装置10の処理部11は、サーバ21からプッシュ配信された、メッセージ1aとサーバアクセスの要否を示す識別情報1bとを含む第1の配信情報1を受信した場合に、識別情報1bに基づいてサーバアクセスの要否を判定する。処理部11は、サーバアクセスが不要と判定した場合、メッセージ1aを表示装置に表示させる。一方、処理部11は、サーバアクセスが必要と判定した場合、第1の配信情報1に対応する第2の配信情報2の送信をサーバ22に要求し、サーバ22から第2の配信情報2を受信すると、第2の配信情報2に基づく表示情報を表示装置に表示させる。
【選択図】図1
特許請求の範囲
【請求項1】
コンピュータに、
第1のサーバからプッシュ配信された、メッセージとサーバアクセスの要否を示す識別情報とを含む第1の配信情報を前記コンピュータが受信した場合に、前記識別情報に基づいてサーバアクセスの要否を判定し、
サーバアクセスが不要と判定した場合、前記メッセージを前記コンピュータの表示装置に表示させ、
サーバアクセスが必要と判定した場合、前記第1の配信情報に対応する第2の配信情報の送信を第2のサーバに要求し、前記第2のサーバから前記第2の配信情報を受信すると、前記第2の配信情報に基づく表示情報を前記表示装置に表示させる、
処理を実行させる表示制御プログラム。
続きを表示(約 1,400 文字)
【請求項2】
前記コンピュータが前記第1の配信情報を受信して前記メッセージの少なくとも一部を前記表示装置に表示させた状態で、前記メッセージに対する選択操作が行われたときに、前記識別情報に基づく前記判定を実行する、
請求項1記載の表示制御プログラム。
【請求項3】
前記メッセージに対する前記選択操作が行われたことを契機として実行された前記判定によってサーバアクセスが不要と判定した場合には、前記メッセージの全体を前記表示装置に表示させる、
請求項2記載の表示制御プログラム。
【請求項4】
前記コンピュータに、
前記表示制御プログラムが起動すると、前記第2のサーバにアクセスして、前記表示制御プログラムに対応付けられたユーザのログイン処理を実行し、
前記ログイン処理に成功した後、前記表示制御プログラムが前記メッセージに対する前記選択操作に応じて起動したかを判定し、
前記選択操作に応じて起動した場合には、前記識別情報に基づいてサーバアクセスの要否を判定する、
処理をさらに実行させる請求項2記載の表示制御プログラム。
【請求項5】
前記表示制御プログラムに対応する表示画面が前記表示装置において最前面に表示されている状態において、前記コンピュータが前記第1の配信情報を受信したときに、前記識別情報に基づく前記判定を実行する、
請求項1記載の表示制御プログラム。
【請求項6】
前記メッセージはテキスト情報を含み、
前記第2の配信情報に基づく前記表示情報は、指定されたネットワークアドレスに対するリンク情報を含む、
請求項1記載の表示制御プログラム。
【請求項7】
前記メッセージはテキスト情報を含み、
前記第2の配信情報に基づく前記表示情報は、ユーザから選択のための操作を受け付ける選択操作部を含む、
請求項1記載の表示制御プログラム。
【請求項8】
コンピュータが、
第1のサーバからプッシュ配信された、メッセージとサーバアクセスの要否を示す識別情報とを含む第1の配信情報を受信した場合に、前記識別情報に基づいてサーバアクセスの要否を判定し、
サーバアクセスが不要と判定した場合、前記メッセージを前記コンピュータの表示装置に表示させ、
サーバアクセスが必要と判定した場合、前記第1の配信情報に対応する第2の配信情報の送信を第2のサーバに要求し、前記第2のサーバから前記第2の配信情報を受信すると、前記第2の配信情報に基づく表示情報を前記表示装置に表示させる、
表示制御方法。
【請求項9】
前記第1の配信情報を受信したときに、前記メッセージの少なくとも一部を前記表示装置に表示させ、前記メッセージの少なくとも一部が表示された状態で、前記メッセージに対する選択操作が行われたときに、前記識別情報に基づく前記判定を実行する、
請求項8記載の表示制御方法。
【請求項10】
前記メッセージに対する前記選択操作が行われたことを契機として実行された前記判定によってサーバアクセスが不要と判定した場合には、前記メッセージの全体を前記表示装置に表示させる、
請求項9記載の表示制御方法。
(【請求項11】以降は省略されています)
発明の詳細な説明
【技術分野】
【0001】
本発明は、表示制御プログラム、表示制御方法および情報処理装置に関する。
続きを表示(約 1,600 文字)
【背景技術】
【0002】
スマートフォンなどの携帯端末向けのサービスとして、プッシュ型のメッセージ配信サービスであるプッシュ通知サービスが知られている。
また、関連技術の例として、イベントの選択肢に関する通知を含むプッシュ通知に対するユーザ操作を受け付けると、アプリケーションを起動して選択肢を表示し、選択肢に対するユーザ操作を受け付けると、選択された選択肢の情報を管理サーバに出力し、選択された選択肢に関連付けられたリンク先のコンテンツを表示する情報処理装置が提案されている。
【0003】
さらに、配信システムから情報を取得する各モバイル装置で実行され、配信システムからの通知に応じてプロセスが起動されるとともに、モバイル装置の待機時間が分散するように所定時間待機し、所定時間経過後に配信システムから所定メッセージを取得する処理を実行させるための通知プログラムも提案されている。
【先行技術文献】
【特許文献】
【0004】
特許第7339706号明細書
特開2017-49730号公報
【発明の概要】
【発明が解決しようとする課題】
【0005】
上記のプッシュ通知サービスでは、携帯端末に対してメッセージがプッシュ通知されると、そのメッセージが携帯端末の表示装置に表示される。また、表示されたメッセージに対する選択操作が行われると、メッセージに対応するアプリケーションの処理によってサーバにアクセスされ、メッセージの詳細な内容がサーバから取得されて表示装置に表示される場合がある。このような処理では、プッシュ通知の実行に伴ってその通知先の携帯端末からサーバにアクセスされることが多くなるので、サーバに対するアクセス負荷が増大するという問題がある。特に、多数の携帯端末に対してメッセージが一斉にプッシュ配信される場合には、サーバに対するアクセス負荷が極端に大きくなる可能性がある。
【0006】
1つの側面では、本発明は、プッシュ通知の実行に伴うサーバへのアクセス負荷を軽減することが可能な表示制御プログラム、表示制御方法および情報処理装置を提供することを目的とする。
【課題を解決するための手段】
【0007】
1つの案では、コンピュータに、第1のサーバからプッシュ配信された、メッセージとサーバアクセスの要否を示す識別情報とを含む第1の配信情報をコンピュータが受信した場合に、識別情報に基づいてサーバアクセスの要否を判定し、サーバアクセスが不要と判定した場合、メッセージをコンピュータの表示装置に表示させ、サーバアクセスが必要と判定した場合、第1の配信情報に対応する第2の配信情報の送信を第2のサーバに要求し、第2のサーバから第2の配信情報を受信すると、第2の配信情報に基づく表示情報を表示装置に表示させる、処理を実行させる表示制御プログラムが提供される。
【0008】
また、1つの案では、コンピュータが、第1のサーバからプッシュ配信された、メッセージとサーバアクセスの要否を示す識別情報とを含む第1の配信情報を受信した場合に、識別情報に基づいてサーバアクセスの要否を判定し、サーバアクセスが不要と判定した場合、メッセージをコンピュータの表示装置に表示させ、サーバアクセスが必要と判定した場合、第1の配信情報に対応する第2の配信情報の送信を第2のサーバに要求し、第2のサーバから第2の配信情報を受信すると、第2の配信情報に基づく表示情報を表示装置に表示させる、表示制御方法が提供される。
【0009】
さらに、1つの案では、上記の表示制御方法と同様の処理を実行する情報処理装置が提供される。
【発明の効果】
【0010】
1つの側面では、プッシュ通知の実行に伴うサーバへのアクセス負荷を軽減できる。
【図面の簡単な説明】
(【0011】以降は省略されています)
この特許をJ-PlatPat(特許庁公式サイト)で参照する
関連特許
富士通株式会社
半導体装置
2日前
富士通株式会社
周波数変換器
15日前
富士通株式会社
行列演算回路
12日前
富士通株式会社
半導体デバイス
2日前
富士通株式会社
メッシュ微細化
3日前
富士通株式会社
演算器及び演算方法
3日前
富士通株式会社
冷却装置及び電子機器
12日前
富士通株式会社
ハイブリッド光増幅器
1か月前
富士通株式会社
量子デバイスの製造方法
1か月前
富士通株式会社
電子機器筐体及び電子機器
1日前
富士通株式会社
アレイアンテナモジュール
4日前
富士通株式会社
光送信器及び光トランシーバ
1日前
富士通株式会社
通信制御装置及び移動中継装置
9日前
富士通株式会社
基板及びこれを備えた電子装置
4日前
富士通株式会社
演算処理装置及び演算処理方法
23日前
富士通株式会社
動的多次元メディアコンテンツ投影
22日前
富士通株式会社
ポイントクラウドレジストレーション
1か月前
富士通株式会社
異常予測方法および異常予測プログラム
22日前
富士通株式会社
視線誘導方法および視線誘導プログラム
1か月前
富士通株式会社
管理装置、管理方法、および管理プログラム
10日前
富士通株式会社
生成人工知能を使用したデータセット符号化
1か月前
富士通株式会社
演算システムおよび演算システムの制御方法
1か月前
富士通株式会社
推定プログラム、推定方法および情報処理装置
1か月前
富士通株式会社
画像を記述する構造化テキストを生成する方法
1か月前
富士通株式会社
交通シミュレーションのための方法および装置
22日前
富士通株式会社
推定プログラム、推定方法および情報処理装置
1か月前
富士通株式会社
予測プログラム、予測方法および情報処理装置
24日前
富士通株式会社
プログラム、情報処理方法および情報処理装置
8日前
富士通株式会社
シストリック型の演算アレイ装置及び制御方法
24日前
富士通株式会社
制御プログラム、制御方法、および情報処理装置
10日前
富士通株式会社
出張情報受付方法および出張情報受付プログラム
1日前
富士通株式会社
演算装置、情報処理装置及び演算装置の制御方法
24日前
富士通株式会社
探索プログラム、探索方法、および情報処理装置
1日前
富士通株式会社
プログラム、データ処理装置及びデータ処理方法
2日前
富士通株式会社
キャッシュ装置およびキャッシュ装置の制御方法
2日前
富士通株式会社
異常検出プログラム、異常検出方法及び情報処理装置
22日前
続きを見る
他の特許を見る