TOP
|
特許
|
意匠
|
商標
特許ウォッチ
Twitter
他の特許を見る
10個以上の画像は省略されています。
公開番号
2025147855
公報種別
公開特許公報(A)
公開日
2025-10-07
出願番号
2024048330
出願日
2024-03-25
発明の名称
コネクタ
出願人
株式会社オートネットワーク技術研究所
,
住友電装株式会社
,
住友電気工業株式会社
代理人
弁理士法人グランダム特許事務所
主分類
H01R
13/629 20060101AFI20250930BHJP(基本的電気素子)
要約
【課題】組み立て性を向上させ得るコネクタを実現することを目的とする。
【解決手段】コネクタ10は、互いに嵌合する第1ハウジング20及び第2ハウジング30と、第1ハウジング20に設けられる従動側ラック27と、従動側ラック27と一体的に変位するガイドピン29と、第2ハウジング30に回動可能に支持される従動側ギヤ部52と、を備えている。従動側ラック27と従動側ギヤ部52とが噛合った状態では、従動側ギヤ部52の回動に伴って第1ハウジング20と第2ハウジング30とが第1ハウジング20と第2ハウジング30との嵌合方向に沿った方向に相対変位する。ガイドピン29が従動側ギヤ部52の誘い溝85に誘い込まれることで、従動側ラック27が従動側ギヤ部52に噛み合う状態にガイドされ、第1ハウジング20と第2ハウジング30とが従動側ギヤ部52の回動に伴って相対変位可能な状態になる。
【選択図】図11
特許請求の範囲
【請求項1】
互いに嵌合する第1ハウジング及び第2ハウジングと、
前記第1ハウジングに設けられる第1ギヤと、
前記第1ギヤと一体的に変位するガイドピンと、
前記第2ハウジングに回動可能に支持される第2ギヤと、
を備え、
前記第1ギヤと前記第2ギヤとが噛合った状態では、前記第2ギヤの回動に伴って前記第1ハウジングと前記第2ハウジングとが前記第1ハウジングと前記第2ハウジングとの嵌合方向に沿った方向に相対変位し、
前記第2ギヤは、前記ガイドピンを誘い込む誘い溝を有し、
前記ガイドピンが前記誘い溝に誘い込まれることで、前記第1ギヤが前記第2ギヤに噛み合う状態にガイドされ、前記第1ハウジングと前記第2ハウジングとが前記第2ギヤの回動に伴って相対変位可能な状態になるコネクタ。
続きを表示(約 330 文字)
【請求項2】
前記第2ギヤは、前記誘い溝に誘い込まれた前記ガイドピンを前記第2ギヤの回動に伴って外部に逃がす逃がし溝を有する請求項1に記載のコネクタ。
【請求項3】
前記誘い溝内の少なくとも一部の空間は、前記逃がし溝内の少なくとも一部の空間と共通の空間を構成している請求項2に記載のコネクタ。
【請求項4】
前記誘い溝における前記ガイドピンを誘い込む開口は、前記逃がし溝における前記ガイドピンを逃がす開口と共通の開口を構成している請求項2又は請求項3に記載のコネクタ。
【請求項5】
前記誘い溝の開口と前記逃がし溝の開口は、前記第2ギヤの隣り合う一対の歯部間に形成されている請求項4に記載のコネクタ。
発明の詳細な説明
【技術分野】
【0001】
本開示は、コネクタに関するものである。
続きを表示(約 2,400 文字)
【背景技術】
【0002】
特許文献1に開示されるコネクタは、プラグコネクタハウジングとレセプタクルコネクタハウジングと、を備えている。プラグコネクタハウジングは、歯車機構を有している。歯車機構は、回転軸と、歯車と、把持部と、を具備している。レセプタクルコネクタハウジングは、スリット部と、歯車と噛み合うラックと、を具備している。両コネクタハウジングの嵌合時には、把持部を操作してラックと噛み合った歯車を回転させてプラグコネクタハウジングを完全嵌合位置まで移動させる。
【先行技術文献】
【特許文献】
【0003】
特開2004-199905号公報
【発明の概要】
【発明が解決しようとする課題】
【0004】
特許文献1のような構成では、プラグコネクタハウジングとレセプタクルコネクタハウジンとを接近させる際に、プラグコネクタハウジングの歯車とレセプタクルコネクタハウジングのラックとが干渉することが想定される。この場合、歯車とラックが適切に噛み合わずに嵌合作業が行われるおそれがある。そのため、コネクタの組み立てが良好に行われなくなってしまう。
本開示のコネクタは、上記のような事情に基づいて完成されたものであって、組み立て性を向上させることを目的とする。
【課題を解決するための手段】
【0005】
本開示のコネクタは、
互いに嵌合する第1ハウジング及び第2ハウジングと、
前記第1ハウジングに設けられる第1ギヤと、
前記第1ギヤと一体的に変位するガイドピンと、
前記第2ハウジングに回動可能に支持される第2ギヤと、
を備え、
前記第1ギヤと前記第2ギヤとが噛合った状態では、前記第2ギヤの回動に伴って前記第1ハウジングと前記第2ハウジングとが前記第1ハウジングと前記第2ハウジングとの嵌合方向に沿った方向に相対変位し、
前記第2ギヤは、前記ガイドピンを誘い込む誘い溝を有し、
前記ガイドピンが前記誘い溝に誘い込まれることで、前記第1ギヤが前記第2ギヤに噛み合う状態にガイドされ、前記第1ハウジングと前記第2ハウジングとが前記第2ギヤの回動に伴って相対変位可能な状態になる。
【発明の効果】
【0006】
本開示によれば、組み立て性を向上させ得るコネクタを実現できる。
【図面の簡単な説明】
【0007】
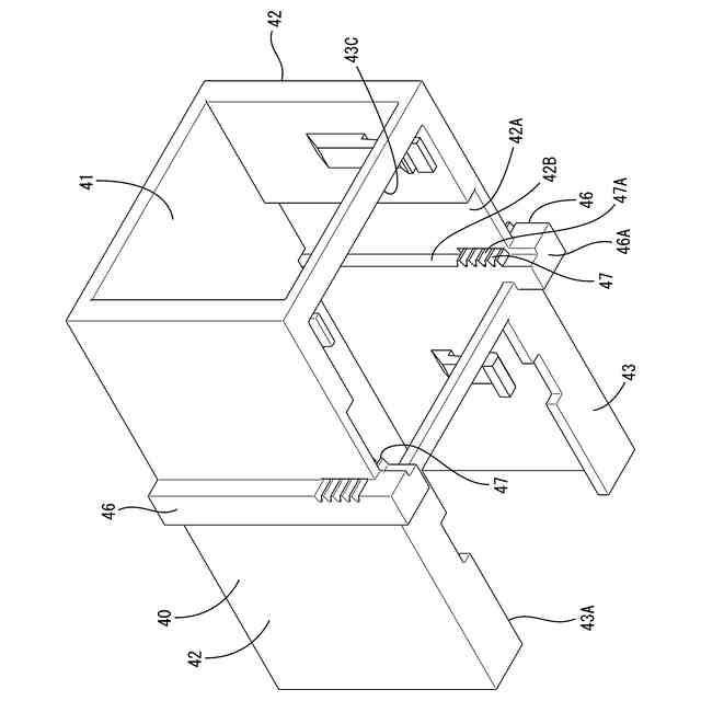
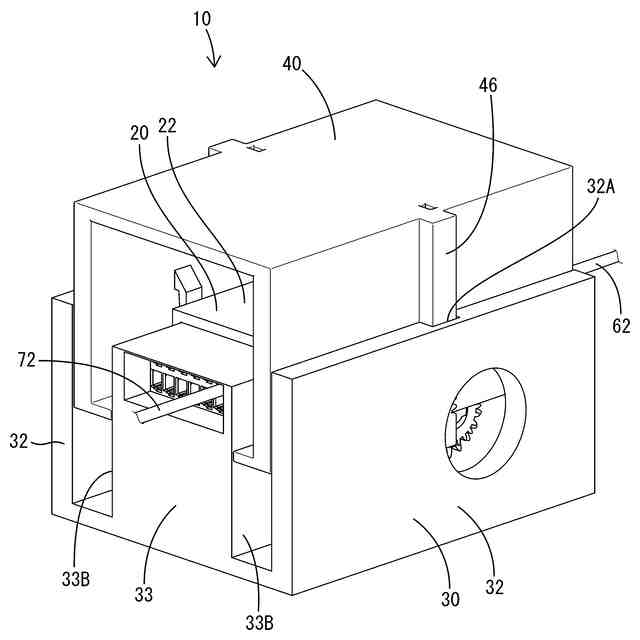
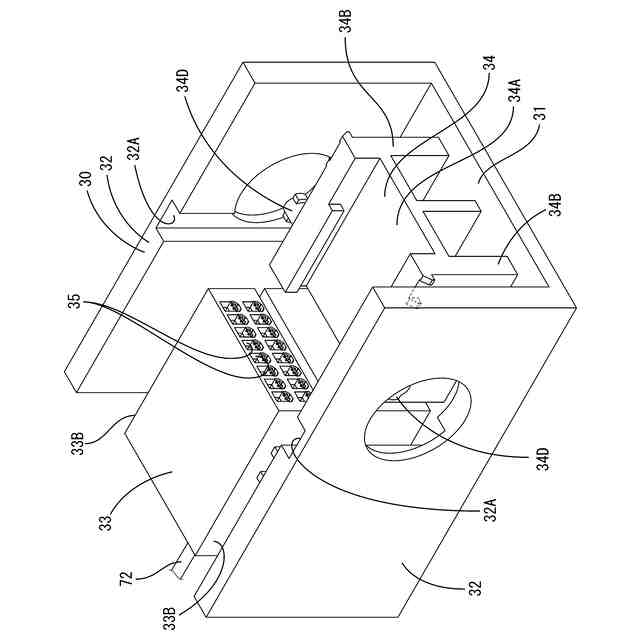
図1は、実施例1のコネクタの分解斜視図である。
図2は、図1に示す第1ハウジングの斜視図である。
図3は、図1に示す支持部材の斜視図である。
図4は、図1に示す第2ハウジングの斜視図である。
図5は、図1に示すギヤの斜視図である。
図6は、図1に示すギヤの正面図である。
図7は、図1に示すギヤの背面図である。
図8は、図7の一部を拡大して示す拡大図である。
図9は、嵌合開始時の図1に示すコネクタの斜視図である。
図10は、嵌合完了時の図1に示すコネクタの斜視図である。
図11は、ガイドピンが誘い込まれる状態の図1に示すコネクタの右方から見た断面図である。
図12は、ガイドピンの誘い込み完了状態の図1に示すコネクタの右方から見た断面図である。
図13は、嵌合開始時の図1に示すコネクタの右方から見た断面図である。
図14は、嵌合完了時の図1に示すコネクタの右方から見た断面図である。
図15は、ガイドピンとギヤとの相対変位を説明する説明図である。
【発明を実施するための形態】
【0008】
[本開示の実施形態の説明]
最初に本開示の実施形態を列記して説明する。
本開示のコネクタは、
(1)互いに嵌合する第1ハウジング及び第2ハウジングと、
前記第1ハウジングに設けられる第1ギヤと、
前記第1ギヤと一体的に変位するガイドピンと、
前記第2ハウジングに回動可能に支持される第2ギヤと、
を備え、
前記第1ギヤと前記第2ギヤとが噛合った状態では、前記第2ギヤの回動に伴って前記第1ハウジングと前記第2ハウジングとが前記第1ハウジングと前記第2ハウジングとの嵌合方向に沿った方向に相対変位し、
前記第2ギヤは、前記ガイドピンを誘い込む誘い溝を有し、
前記ガイドピンが前記誘い溝に誘い込まれることで、前記第1ギヤが前記第2ギヤに噛み合う状態にガイドされ、前記第1ハウジングと前記第2ハウジングとが前記第2ギヤの回動に伴って相対変位可能な状態になる。
本開示の構成によれば、第1ハウジングに設けられる第1ギヤと第2ハウジングに支持される第2ギヤとが噛み合う状態で、両ハウジングとの嵌合動作を開始させることができる。これにより、ギヤの歯部同士が干渉してギヤ同士が噛み合わない状態で両ハウジングの嵌合動作が行われることを防ぐことができる。したがって、コネクタの組み立て性を向上できる。
【0009】
(2)(1)において、前記第2ギヤは、前記誘い溝に誘い込まれた前記ガイドピンを前記第2ギヤの回動に伴って外部に逃がす逃がし溝を有することが好ましい。この構成によれば、第2ギヤに誘い込まれたガイドピンが第2ギヤと干渉して第2ギヤの回動を妨げることを防ぐことができる。
【0010】
(3)(2)において、前記誘い溝内の少なくとも一部の空間は、前記逃がし溝内の少なくとも一部の空間と共通の空間を構成していることが好ましい。この構成によれば、誘い溝内の少なくとも一部の空間と逃がし溝内の少なくとも一部の空間とを別々に設ける構成に比べて、第2ギヤの形状を簡素化できる。
(【0011】以降は省略されています)
この特許をJ-PlatPat(特許庁公式サイト)で参照する
関連特許
APB株式会社
蓄電セル
今日
東ソー株式会社
絶縁電線
2日前
個人
フレキシブル電気化学素子
14日前
日本発條株式会社
積層体
25日前
ローム株式会社
半導体装置
16日前
ローム株式会社
半導体装置
23日前
ローム株式会社
半導体装置
1日前
株式会社ユーシン
操作装置
14日前
日新イオン機器株式会社
イオン源
10日前
ローム株式会社
半導体装置
23日前
ローム株式会社
半導体装置
23日前
ローム株式会社
半導体装置
21日前
株式会社GSユアサ
蓄電装置
21日前
株式会社GSユアサ
蓄電装置
25日前
株式会社ホロン
冷陰極電子源
8日前
個人
半導体パッケージ用ガラス基板
24日前
株式会社ホロン
冷陰極電子源
21日前
オムロン株式会社
電磁継電器
15日前
株式会社GSユアサ
蓄電設備
14日前
株式会社GSユアサ
蓄電設備
14日前
太陽誘電株式会社
コイル部品
14日前
太陽誘電株式会社
全固体電池
21日前
日本特殊陶業株式会社
保持装置
25日前
ノリタケ株式会社
熱伝導シート
14日前
トヨタ自動車株式会社
冷却構造
2日前
日東電工株式会社
積層体
15日前
トヨタ自動車株式会社
バッテリ
今日
ローム株式会社
電子装置
25日前
日本特殊陶業株式会社
保持装置
23日前
日本特殊陶業株式会社
保持装置
3日前
北道電設株式会社
配電具カバー
今日
サクサ株式会社
電池の固定構造
14日前
TDK株式会社
電子部品
21日前
日本特殊陶業株式会社
保持装置
21日前
日本特殊陶業株式会社
保持装置
21日前
トヨタ自動車株式会社
蓄電装置
14日前
続きを見る
他の特許を見る