TOP
|
特許
|
意匠
|
商標
特許ウォッチ
Twitter
他の特許を見る
公開番号
2025148820
公報種別
公開特許公報(A)
公開日
2025-10-08
出願番号
2024049133
出願日
2024-03-26
発明の名称
電力変換装置および制御回路
出願人
TDK株式会社
代理人
弁理士法人つばさ国際特許事務所
主分類
H02M
3/28 20060101AFI20251001BHJP(電力の発電,変換,配電)
要約
【課題】出力電圧の変動を低減することができる電力変換装置を得る。
【解決手段】本開示の一実施の形態に係る電力変換装置は、電力変換動作を行うことにより直流電圧を含む第1の電源信号を生成可能な第1の電力変換回路と、スイッチング動作を行うことが可能なスイッチング回路を有し、第1の電源信号に基づいて電力変換動作を行うことにより直流電圧、直流電流、または直流電力を含む第2の電源信号を生成可能な第2の電力変換回路と、第1の電源信号の電圧に応じた第1の電圧データを送信可能な第1の制御回路と、第1の電圧データを受信可能であり、第1の電圧データに基づいて第1の所定時間が経過した後の電圧を推定する第1の推定処理を行うことにより第2の電圧データを生成可能であり、第2の電圧データおよび第2の電源信号に基づいてスイッチング回路のスイッチング動作を制御可能な第2の制御回路とを備える。
【選択図】図1
特許請求の範囲
【請求項1】
電力変換動作を行うことにより直流電圧を含む第1の電源信号を生成可能な第1の電力変換回路と、
スイッチング動作を行うことが可能なスイッチング回路を有し、前記第1の電源信号に基づいて電力変換動作を行うことにより直流電圧、直流電流、または直流電力を含む第2の電源信号を生成可能な第2の電力変換回路と、
前記第1の電源信号の電圧に応じた第1の電圧データを送信可能な第1の制御回路と、
前記第1の電圧データを受信可能であり、前記第1の電圧データに基づいて第1の所定時間が経過した後の電圧を推定する第1の推定処理を行うことにより第2の電圧データを生成可能であり、前記第2の電圧データおよび前記第2の電源信号に基づいて前記スイッチング回路の前記スイッチング動作を制御可能な第2の制御回路と
を備えた電力変換装置。
続きを表示(約 940 文字)
【請求項2】
前記第1の制御回路は、所定の周期で、前記第1の電圧データを送信可能であり、
前記第2の制御回路は、前記所定の周期で前記第1の推定処理を行うことにより前記第2の電圧データを更新可能であり、更新された前記第2の電圧データに基づいて、前記所定の周期の1周期分の時間より短い第2の所定時間が経過した後の電圧を推定する第2の推定処理を行うことにより前記第2の電圧データを更新可能である
請求項1に記載の電力変換装置。
【請求項3】
前記第2の制御回路は、前記第2の電源信号に基づいてフィードバック処理を行い、前記フィードバック処理の処理結果、および前記第2の電圧データに基づいて、フィードフォワード処理を行うことにより、前記スイッチング回路の前記スイッチング動作を制御可能である
請求項1に記載の電力変換装置。
【請求項4】
前記第1の制御回路から前記第2の制御回路へ、前記第1の電圧データを伝える、絶縁型の信号伝達素子を備え、
前記第2の電力変換回路は、
前記スイッチング回路に接続された第1の巻線と、第2の巻線とを有するトランスと、
前記第2の巻線に接続された整流平滑回路と
を有する
請求項1に記載の電力変換装置。
【請求項5】
電力変換動作を行うことにより直流電圧を含む第1の電源信号を生成可能な第1の電力変換回路が生成した、前記第1の電源信号の電圧に応じた第1の電圧データを受信可能な受信回路と、
前記第1の電源信号に基づいて電力変換動作を行うことにより直流電圧、直流電流、または直流電力を含む第2の電源信号を生成可能な第2の電力変換回路におけるスイッチング回路のスイッチング動作を制御可能な処理回路と
を備え、
前記処理回路は、
前記第1の電圧データに基づいて第1の所定時間が経過した後の電圧を推定する第1の推定処理を行うことにより第2の電圧データを生成可能であり、
前記第2の電圧データおよび前記第2の電源信号に基づいて前記スイッチング回路の前記スイッチング動作を制御可能である
制御回路。
発明の詳細な説明
【技術分野】
【0001】
本発明は、電力を変換する電力変換装置、およびそのような電力変換装置において用いられる制御回路に関する。
続きを表示(約 1,600 文字)
【背景技術】
【0002】
電力変換装置には、入力電圧に基づいて、その入力電圧より高い電圧または低い電圧を生成するDC/DCコンバータがある。特許文献1には、DC/DCコンバータの出力電圧に基づいてフィードバック制御を行うとともに、DC/DCコンバータの入力電圧に基づいてフィードフォワード制御を行う技術が開示されている。
【先行技術文献】
【特許文献】
【0003】
特開2015-167443号公報
【発明の概要】
【発明が解決しようとする課題】
【0004】
電力変換装置では、出力電圧の変動が小さいことが望まれており、さらなる変動の低減が期待されている。
【0005】
出力電圧の変動を低減することができる電力変換装置および制御回路を提供することが望ましい。
【課題を解決するための手段】
【0006】
本発明の一実施の形態に係る電力変換装置は、第1の電力変換回路と、第2の電力変換回路と、第1の制御回路と、第2の制御回路とを備えている。第1の電力変換回路は、電力変換動作を行うことにより直流電圧を含む第1の電源信号を生成可能なものである。第2の電力変換回路は、スイッチング動作を行うことが可能なスイッチング回路を有し、第1の電源信号に基づいて電力変換動作を行うことにより直流電圧、直流電流、または直流電力を含む第2の電源信号を生成可能なものである。第1の制御回路は、第1の電源信号の電圧に応じた第1の電圧データを送信可能なものである。第2の制御回路は、第1の電圧データを受信可能であり、第1の電圧データに基づいて第1の所定時間が経過した後の電圧を推定する第1の推定処理を行うことにより第2の電圧データを生成可能であり、第2の電圧データおよび第2の電源信号に基づいてスイッチング回路のスイッチング動作を制御可能なものである。
【0007】
本発明の一実施の形態に係る制御回路は、受信回路と、処理回路とを備えている。受信回路は、電力変換動作を行うことにより直流電圧を含む第1の電源信号を生成可能な第1の電力変換回路が生成した、前記第1の電源信号の電圧に応じた第1の電圧データを受信可能なものである。処理回路は、第1の電源信号に基づいて電力変換動作を行うことにより直流電圧、直流電流、または直流電力を含む第2の電源信号を生成可能な第2の電力変換回路におけるスイッチング回路のスイッチング動作を制御可能なものである。上記処理回路は、第1の電圧データに基づいて第1の所定時間が経過した後の電圧を推定する第1の推定処理を行うことにより第2の電圧データを生成可能であり、第2の電圧データおよび前記第2の電源信号に基づいて前記スイッチング回路の前記スイッチング動作を制御可能である。
【発明の効果】
【0008】
本発明の一実施の形態に係る電力変換装置および制御回路によれば、出力電圧の変動を低減することができる。
【図面の簡単な説明】
【0009】
図1は、本発明の一実施の形態に係る電力変換装置の一構成例を表すブロック図である。
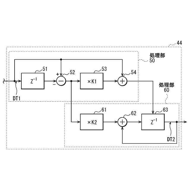
図2は、図1に示した推定処理部の一構成例を表すブロック図である。
図3は、図1に示した推定処理部の一動作例を表す説明図である。
図4は、図1に示した電力変換装置の一動作例を表す波形図である。
図5は、変形例に係る電力変換装置の一構成例を表すブロック図である。
図6は、他の変形例に係る電力変換装置の一構成例を表すブロック図である。
【発明を実施するための形態】
【0010】
以下、本発明の実施の形態について、図面を参照して詳細に説明する。
(【0011】以降は省略されています)
この特許をJ-PlatPat(特許庁公式サイト)で参照する
関連特許
TDK株式会社
センサ
12日前
TDK株式会社
圧電素子
6日前
TDK株式会社
電子部品
5日前
TDK株式会社
電子部品
6日前
TDK株式会社
電子部品
12日前
TDK株式会社
電子部品
16日前
TDK株式会社
フィルタ
16日前
TDK株式会社
電子部品
16日前
TDK株式会社
電子部品
6日前
TDK株式会社
フィルタ
6日前
TDK株式会社
電子部品
12日前
TDK株式会社
電子部品
5日前
TDK株式会社
電子部品
1日前
TDK株式会社
コイル部品
8日前
TDK株式会社
コイル部品
6日前
TDK株式会社
ガスセンサ
12日前
TDK株式会社
磁気センサ
6日前
TDK株式会社
コイル部品
12日前
TDK株式会社
ガスセンサ
16日前
TDK株式会社
圧力センサ
8日前
TDK株式会社
コイル部品
20日前
TDK株式会社
温度センサ
27日前
TDK株式会社
コイル部品
14日前
TDK株式会社
ガスセンサ
7日前
TDK株式会社
光検知装置
13日前
TDK株式会社
コイル装置
20日前
TDK株式会社
センサ装置
13日前
TDK株式会社
ガスセンサ
13日前
TDK株式会社
コイル部品
12日前
TDK株式会社
コイル部品
5日前
TDK株式会社
コイル部品
5日前
TDK株式会社
コイル部品
16日前
TDK株式会社
コイル装置
5日前
TDK株式会社
コイル装置
5日前
TDK株式会社
コイル装置
5日前
TDK株式会社
コイル装置
5日前
続きを見る
他の特許を見る