TOP
|
特許
|
意匠
|
商標
特許ウォッチ
Twitter
他の特許を見る
10個以上の画像は省略されています。
公開番号
2025145293
公報種別
公開特許公報(A)
公開日
2025-10-03
出願番号
2024045395
出願日
2024-03-21
発明の名称
センサ
出願人
TDK株式会社
代理人
前田・鈴木国際特許弁理士法人
主分類
G01L
1/22 20060101AFI20250926BHJP(測定;試験)
要約
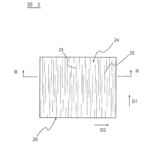
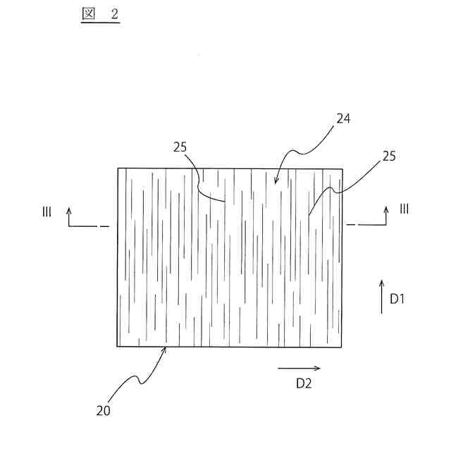
【課題】筋目が形成された表面を有する金属基材を用いた場合において、導電膜パターンと金属基材の表面との間の絶縁性を好適に確保できるセンサを提供する。
【解決手段】平面視で第1方向に沿って筋目が形成された表面を有する金属基材と、前記表面の上に絶縁膜を介して形成された導電膜パターンと、を有し、前記表面において、前記導電膜パターンが形成された導電膜パターン形成領域から平面視で前記第1方向に存在する第1領域は前記絶縁膜に覆われており、前記表面は、平面視で前記第1領域とは異なる位置に、前記絶縁膜から露出した露出領域を有するセンサ。
【選択図】図2
特許請求の範囲
【請求項1】
平面視で第1方向に沿って筋目が形成された表面を有する金属基材と、
前記表面の上に絶縁膜を介して形成された導電膜パターンと、を有し、
前記表面において、前記導電膜パターンが形成された導電膜パターン形成領域から平面視で前記第1方向に存在する第1領域は前記絶縁膜に覆われており、
前記表面は、平面視で前記第1領域とは異なる位置に、前記絶縁膜から露出した露出領域を有するセンサ。
続きを表示(約 300 文字)
【請求項2】
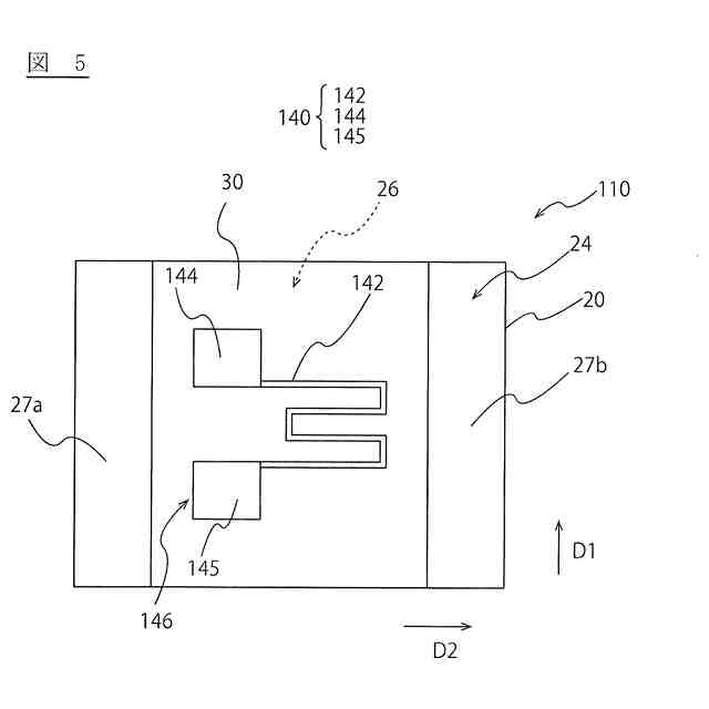
前記表面は、平面視で前記導電膜パターンを挟む少なくとも2つの前記露出領域を有する請求項1に記載のセンサ。
【請求項3】
前記導電膜パターンは、平面視で矩形波形状またはミアンダ形状のパターン部分を有し、
少なくとも2つの前記露出領域のうちの2つの前記露出領域は、平面視で前記矩形波形状または前記ミアンダ形状の振幅方向に前記導電膜パターンを挟む請求項2に記載のセンサ。
【請求項4】
平面視で前記第1方向とは垂直である第2方向に関する前記表面の表面粗さRaは、0.05μm以上1μm以下である請求項1から請求項3のいずれかに記載のセンサ。
発明の詳細な説明
【技術分野】
【0001】
本開示は、金属基材の上に絶縁膜を介して導電膜パターンを形成してあるセンサに関する。
続きを表示(約 1,500 文字)
【背景技術】
【0002】
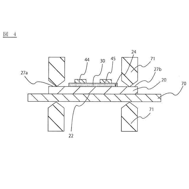
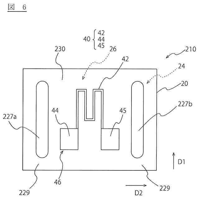
圧力センサ等のセンサとして、金属基材の表面に、導電膜パターンによる回路を形成するものが知られている。回路としては、たとえば圧抵抗効果(ピエゾ抵抗効果ともいう)を利用して、基材(メンブレン、またはダイアフラムともいう)の歪を抵抗変化により検出するものがある。また、金属基材を用いる従来のセンサでは、金属基材の表面に、抵抗溶接の電極を接触させる接触位置を確保するために、絶縁膜から露出した露出部分を形成する場合がある(特許文献1等参照)。
【先行技術文献】
【特許文献】
【0003】
特開2021-43016号公報
【発明の概要】
【発明が解決しようとする課題】
【0004】
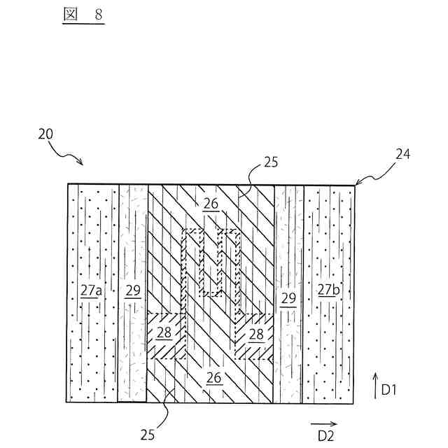
従来の圧力センサや歪センサでは、金属基材として表面を鏡面研磨したものを用いていたが、発明者らは、コストダウンや生産効率の向上を意図して、圧力センサや歪センサに用いる金属基材として、表面に筋目が形成された金属基材を用いる技術を開発している。発明者らは、従来と同じように金属基材の表面に絶縁膜から露出した露出部分を設ける場合に、表面に筋目が形成された金属基材を用いると、導電膜パターンと金属基材の表面との間の絶縁性が確保できない問題が生じることを見出した。
【0005】
本開示に係る技術は、筋目が形成された表面を有する金属基材を用いた場合において、導電膜パターンと金属基材の表面との間の絶縁性を好適に確保できるセンサを提供する。
【課題を解決するための手段】
【0006】
上記目的を達成するために、本開示に係るセンサは、
平面視で第1方向に沿って筋目が形成された表面を有する金属基材と、
前記表面の上に絶縁膜を介して形成された導電膜パターンと、を有し、
前記表面において、前記導電膜パターンが形成された導電膜パターン形成領域から平面視で前記第1方向に存在する第1領域は前記絶縁膜に覆われており、
前記表面は、平面視で前記第1領域とは異なる位置に、前記絶縁膜から露出した露出領域を有する。
【0007】
本開示に係るセンサは、筋目が形成された表面を有する金属基材を用いることにより、鏡面研磨工程の省略などによるコストダウンおよび生産効率の向上を達成できる。また、第1領域が絶縁膜で覆われているため、仮に金属基材の筋目に沿った導電膜のエッチング残りが生じた場合でも、導電膜パターンと金属基材の表面との間の絶縁性を好適に確保できる。また、表面は、第1領域とは異なる位置に露出領域を有することにより、導電膜のエッチング残りによる導電膜パターンと金属基材の表面との間の短絡の発生を回避しつつ、表面に抵抗溶接の電極を接触等させることができる。
【0008】
また、たとえば、前記表面は、平面視で前記導電膜パターンを挟む少なくとも2つの前記露出領域を有してもよい。
【0009】
このようなセンサは、2つの露出領域に抵抗溶接の電極を接触等させることにより、他部材に対する固定を効率的に行うことが可能である。
【0010】
また、たとえば、前記導電膜パターンは、平面視で矩形波形状またはミアンダ形状のパターン部分を有してもよく、
少なくとも2つの前記露出領域のうちの2つの前記露出領域は、平面視で前記矩形波形状または前記ミアンダ形状の振幅方向に前記導電膜パターンを挟んでもよい。
(【0011】以降は省略されています)
この特許をJ-PlatPat(特許庁公式サイト)で参照する
関連特許
TDK株式会社
センサ
2日前
TDK株式会社
電子部品
27日前
TDK株式会社
電子部品
2日前
TDK株式会社
電子部品
6日前
TDK株式会社
電子部品
1か月前
TDK株式会社
電子部品
6日前
TDK株式会社
電子部品
1か月前
TDK株式会社
電子部品
1か月前
TDK株式会社
電子部品
27日前
TDK株式会社
フィルタ
6日前
TDK株式会社
電子部品
2日前
TDK株式会社
電子部品
2か月前
TDK株式会社
太陽電池
2か月前
TDK株式会社
電子部品
2か月前
TDK株式会社
磁気センサ
26日前
TDK株式会社
コイル装置
10日前
TDK株式会社
磁気センサ
1か月前
TDK株式会社
コイル部品
6日前
TDK株式会社
コイル部品
6日前
TDK株式会社
コイル部品
6日前
TDK株式会社
コイル装置
1か月前
TDK株式会社
コイル部品
10日前
TDK株式会社
ガスセンサ
6日前
TDK株式会社
コイル部品
27日前
TDK株式会社
コイル部品
4日前
TDK株式会社
コイル装置
1か月前
TDK株式会社
ガスセンサ
1か月前
TDK株式会社
ガスセンサ
2日前
TDK株式会社
コイル部品
2日前
TDK株式会社
コイル部品
2日前
TDK株式会社
コイル部品
1か月前
TDK株式会社
コイル部品
1か月前
TDK株式会社
コイル部品
1か月前
TDK株式会社
磁気センサ
1か月前
TDK株式会社
磁気センサ
1か月前
TDK株式会社
光検知装置
3日前
続きを見る
他の特許を見る