TOP
|
特許
|
意匠
|
商標
特許ウォッチ
Twitter
他の特許を見る
公開番号
2025145142
公報種別
公開特許公報(A)
公開日
2025-10-03
出願番号
2024045170
出願日
2024-03-21
発明の名称
電子部品
出願人
TDK株式会社
代理人
個人
,
個人
,
個人
主分類
H01G
4/30 20060101AFI20250926BHJP(基本的電気素子)
要約
【課題】性能向上することができる、直列接続された複数のコンデンサ部を有する電子部品を提供する。
【解決手段】第3の内部電極13は、Z軸方向から見て、第1の内部電極11と第2の内部電極12との間の領域に、開口部30を有する。このため、第1の内部電極11と第2の内部電極12との間の領域付近において、電界強度を低減することができる。そのため、電界集中に起因する素体2のクラックを抑制できる。以上より、直列接続された複数のコンデンサ部を有する電子部品100の性能を向上することができる。
【選択図】図3
特許請求の範囲
【請求項1】
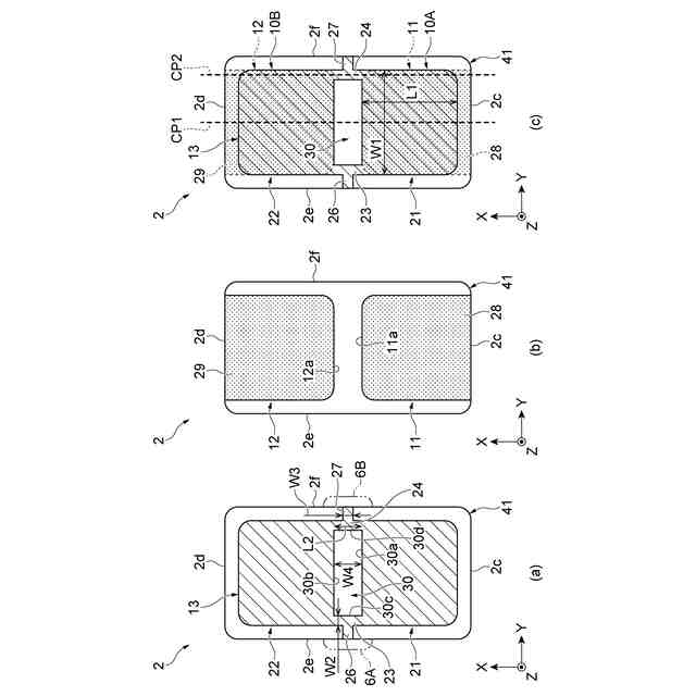
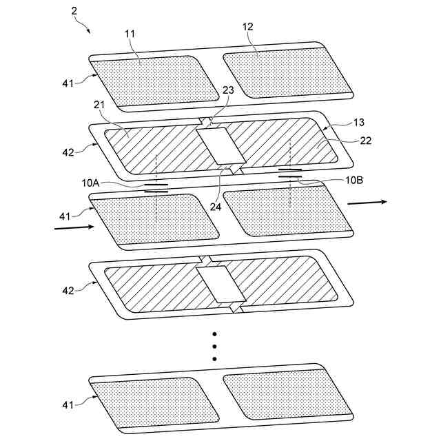
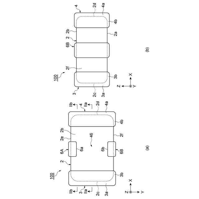
第1の方向に対向する第1の主面及び第2の主面、第1の方向と直交する第2の方向に対向する第1の端面及び第2の端面、並びに第1の方向及び第2の方向と直交する第3の方向に対向する第1の側面及び第2の側面を有する素体と、
前記第1の端面に形成される第1の端子電極と、
前記第2の端面に形成される第2の端子電極と、
前記第1の側面、及び前記第2の側面の少なくとも一方に形成される外部連結導体と、
前記素体内に設けられ、前記第1の端面にて前記第1の端子電極と接続される第1の内部電極と、
前記素体内に設けられ、前記第1の内部電極から分離し、前記第2の端面にて前記第2の端子電極と接続される第2の内部電極と、
前記素体内に設けられ、前記第1の方向において前記第1の内部電極、及び前記第2の内部電極と対向し、前記外部連結導体と接続される第3の内部電極と、を備え、
前記第1の内部電極と前記第3の内部電極とが対向することによる第1のコンデンサ部と、前記第2の内部電極と前記第3の内部電極とが対向することによる第2のコンデンサ部とが、直列に接続され、
前記第3の内部電極は、前記第1の方向から見て、前記第1の内部電極と前記第2の内部電極との間の領域に、開口部を有する、電子部品。
続きを表示(約 1,100 文字)
【請求項2】
前記第3の内部電極は、
前記開口部よりも前記第1の端面側の第1の領域と、
前記開口部よりも前記第2の端面側の第2の領域と、
前記第1の領域と前記第2の領域とを連結する連結部と、を備え、
前記連結部は、前記外部連結導体が設けられる側面側に形成される、請求項1に記載の電子部品。
【請求項3】
前記外部連結導体は、前記第1の側面、及び前記第2の側面に形成され、
前記第3の内部電極は、前記連結部として、前記第1の側面において前記外部連結導体と接続される第1の連結部と、前記第2の側面において前記外部連結導体と接続される第2の連結部と、を有する、請求項2に記載の電子部品。
【請求項4】
前記第3の内部電極の前記連結部の前記第3の方向における幅は、前記第1のコンデンサ部及び前記第2のコンデンサ部の第3の方向における重なり幅に対して10%以上である、請求項2に記載の電子部品。
【請求項5】
前記第3の内部電極の前記連結部の前記第2の方向における長さは、前記第1のコンデンサ部及び前記第2のコンデンサ部における前記第2の方向における重なり長さに対して100%以下である、請求項2に記載の電子部品。
【請求項6】
前記第3の内部電極の前記連結部の前記第3の方向における幅は、前記外部連結導体と接続される引出部の第2の方向における幅よりも大きい、請求項2に記載の電子部品。
【請求項7】
前記第1の内部電極は、前記第1のコンデンサ部から前記第1の端子電極へ引き出される第1の引出部を有し、
前記第2の内部電極は、前記第2のコンデンサ部から前記第2の端子電極へ引き出される第2の引出部を有し、
前記第1の引出部及び前記第2の引出部は、前記第1のコンデンサ部及び前記第2のコンデンサ部よりも前記第3の方向において幅狭である、請求項1に記載の電子部品。
【請求項8】
前記開口部の前記第2の方向における幅は、前記第1及び第2の内部電極と前記第3の内部電極との間の第1の誘電体層の前記第1の方向における厚みの2倍以上である、請求項1に記載の電子部品。
【請求項9】
前記開口部の内部には、前記素体に窪みが形成されることを緩和する第1の緩和層が形成される、請求項1に記載の電子部品。
【請求項10】
前記第1の内部電極と前記第2の内部電極との間には、前記素体に窪みが形成されることを緩和する第2の緩和層が形成される、請求項1に記載の電子部品。
(【請求項11】以降は省略されています)
発明の詳細な説明
【技術分野】
【0001】
本発明は、電子部品に関する。
続きを表示(約 2,000 文字)
【背景技術】
【0002】
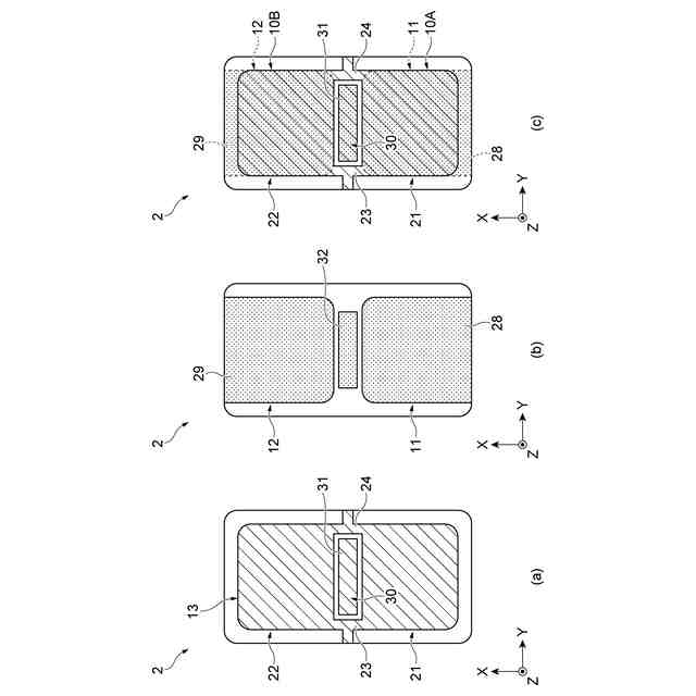
従来の電子部品として、特許文献1に記載されたものが知られている。この電子部品は、素体と、一対の端子電極と、を備える。素体の内部には、二組のコンデンサ部が構成されるように内部電極が形成されている。素体内には、離間するように並ぶ第1の内部電極及び第2の内部電極と、これらの内部電極と対向する第3の内部電極が形成される。
【先行技術文献】
【特許文献】
【0003】
特開2019-46876号公報
【発明の概要】
【発明が解決しようとする課題】
【0004】
ここで、素体の内部で直列接続された複数のコンデンサ部を有する電子部品の性能を向上することが求められていた。
【0005】
本願発明は、このような課題を解決するためになされたものであり、性能向上することができる、直列接続された複数のコンデンサ部を有する電子部品を提供することを目的とする。
【課題を解決するための手段】
【0006】
本発明に係る電子部品は、第1の方向に対向する第1の主面及び第2の主面、第1の方向と直交する第2の方向に対向する第1の端面及び第2の端面、並びに第1の方向及び第2の方向と直交する第3の方向に対向する第1の側面及び第2の側面を有する素体と、第1の端面に形成される第1の端子電極と、第2の端面に形成される第2の端子電極と、第1の側面、及び第2の側面の少なくとも一方に形成される外部連結導体と、素体内に設けられ、第1の端面にて第1の端子電極と接続される第1の内部電極と、素体内に設けられ、第1の内部電極から分離し、第2の端面にて第2の端子電極と接続される第2の内部電極と、素体内に設けられ、第1の方向において第1の内部電極、及び第2の内部電極と対向し、外部連結導体と接続される第3の内部電極と、を備え、第1の内部電極と第3の内部電極とが対向することによる第1のコンデンサ部と、第2の内部電極と第3の内部電極とが対向することによる第2のコンデンサ部とが、直列に接続され、第3の内部電極は、第1の方向から見て、第1の内部電極と第2の内部電極との間の領域に、開口部を有する。
【0007】
この電子部品では、第1の端子電極に接続された第1の内部電極は、第3の内部電極と対向し、第2の端子電極に接続された第2の内部電極は、第3の内部電極と対向する。このような構成により、第1の内部電極と第3の内部電極とが対向することによる第1のコンデンサ部と、第2の内部電極と第3の内部電極とが対向することによる第2のコンデンサ部とが、第3の内部電極を介して直列に接続された状態となる。従って、一方のコンデンサ部がショートした場合などでも、他方のコンデンサ部の機能を維持できるため、信頼性を向上できる。また、端子電極と外部連結導体を用いることで、各コンデンサ部におけるショート不良の有無を測定検査することができる。ここで、第3の内部電極は、第1の方向から見て、第1の内部電極と第2の内部電極との間の領域に、開口部を有する。このため、第1の内部電極と第2の内部電極との間の領域付近において、電界強度を低減することができる。そのため、電界集中に起因する素体のクラックを抑制できる。以上より、直列接続された複数のコンデンサ部を有する電子部品の性能を向上することができる。
【0008】
第3の内部電極は、開口部よりも第1の端面側の第1の領域と、開口部よりも第2の端面側の第2の領域と、第1の領域と第2の領域とを連結する連結部と、を備え、連結部は、外部連結導体が設けられる側面側に形成されてよい。この場合、連結部を外部連結導体と近づけることができる。従って、第3の内部電極の外部連結導体への引出部の長さを短くすることで、引出部の電流によるジュール熱を低減し、当該ジュール熱により破損する可能性を小さくすることができる。
【0009】
外部連結導体は、第1の側面、及び第2の側面に形成され、第3の内部電極は、連結部として、第1の側面において外部連結導体と接続される第1の連結部と、第2の側面において外部連結導体と接続される第2の連結部と、を有してよい。この場合、第1の側面及び第2の側面の何れかの外部連結導体を用いて、ショート不良の有無を測定検査することができる。
【0010】
第3の内部電極の連結部の第3の方向における幅は、第1のコンデンサ部及び第2のコンデンサ部の第3の方向における重なり幅に対して10%以上であってよい。この場合、連結部の幅を確保することで、電流によるジュール熱を低減し、当該ジュール熱による破損を抑制できる。
(【0011】以降は省略されています)
この特許をJ-PlatPat(特許庁公式サイト)で参照する
関連特許
TDK株式会社
センサ
6日前
TDK株式会社
電子部品
1か月前
TDK株式会社
電子部品
1か月前
TDK株式会社
電子部品
10日前
TDK株式会社
電子部品
6日前
TDK株式会社
電子部品
今日
TDK株式会社
電子部品
1か月前
TDK株式会社
圧電素子
今日
TDK株式会社
電子部品
1か月前
TDK株式会社
電子部品
10日前
TDK株式会社
電子部品
6日前
TDK株式会社
電子部品
今日
TDK株式会社
フィルタ
10日前
TDK株式会社
電子部品
1か月前
TDK株式会社
フィルタ
今日
TDK株式会社
コイル部品
8日前
TDK株式会社
コイル部品
14日前
TDK株式会社
コイル装置
14日前
TDK株式会社
コイル部品
6日前
TDK株式会社
光検知装置
7日前
TDK株式会社
ガスセンサ
6日前
TDK株式会社
圧力センサ
2日前
TDK株式会社
コイル部品
10日前
TDK株式会社
コイル部品
6日前
TDK株式会社
コイル部品
10日前
TDK株式会社
温度センサ
21日前
TDK株式会社
磁気センサ
1か月前
TDK株式会社
ガスセンサ
10日前
TDK株式会社
磁気センサ
1か月前
TDK株式会社
ガスセンサ
7日前
TDK株式会社
コイル部品
今日
TDK株式会社
磁気センサ
今日
TDK株式会社
ガスセンサ
1か月前
TDK株式会社
コイル装置
1か月前
TDK株式会社
コイル装置
1か月前
TDK株式会社
コイル部品
10日前
続きを見る
他の特許を見る