TOP
|
特許
|
意匠
|
商標
特許ウォッチ
Twitter
他の特許を見る
10個以上の画像は省略されています。
公開番号
2025148965
公報種別
公開特許公報(A)
公開日
2025-10-08
出願番号
2024049366
出願日
2024-03-26
発明の名称
供試魚保持装置
出願人
株式会社神鋼環境ソリューション
代理人
個人
主分類
A01K
61/13 20170101AFI20251001BHJP(農業;林業;畜産;狩猟;捕獲;漁業)
要約
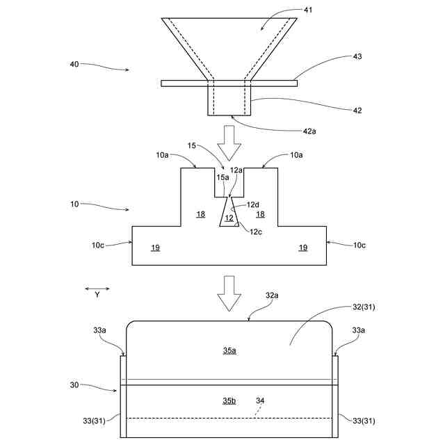
【課題】保持具に形成された保持用溝が上面側の開放部である溝上開放部から水と共に投入された供試魚を内部に保持するものである供試魚保持装置において、供試魚に与える負担を軽減しながら供試魚に対して効率良く経口投与などの所定の処置を行うための技術を提供する。
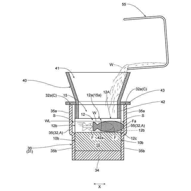
【解決手段】保持具10の前方側及び後方側の夫々の側面10bに、保持用溝12の溝端開放部12bが開放されており、保持具設置部30が、保持具設置状態での保持具10の側面10bに沿って設けられて溝端開放部12bを通じた保持用溝12からの供試魚Fの脱落を防止する側壁部32を有し、側壁部32である隙間用側壁部35と溝端開放部12bとの間に、保持用溝12に保持されている供試魚Fの溝端開放部12bからの当該供試魚Fの口先Faの突出を許容する口先突出用隙間Sが設けられている。
【選択図】図8
特許請求の範囲
【請求項1】
柔軟性を有する材料からなり、上面側で開放されて前後方向に沿って延在する保持用溝が形成された保持具と、
前記保持具が設置される保持具設置部と、を備え、
前記保持具設置部に前記保持具が設置された保持具設置状態において、前記保持用溝が上面側の開放部である溝上開放部から水と共に投入された供試魚を内部に保持するものである供試魚保持装置であって、
前記保持具の前方側及び後方側の夫々の側面に、前記保持用溝の前方側及び後方側の夫々の端部が溝端開放部として開放されており、
前記保持具設置部が、前記保持具設置状態での前記保持具の前方側及び後方側の夫々の側面に沿って設けられて、前記溝端開放部を通じた前記保持用溝からの前記供試魚の脱落を防止する一対の側壁部を有し、
前記保持具設置状態での前記保持具の前方側及び後方側の少なくとも一方側において、前記側壁部である隙間用側壁部と前記溝端開放部との間に、前記保持用溝に保持されている前記供試魚の前記溝端開放部からの当該供試魚の口先の突出を許容する口先突出用隙間が設けられている供試魚保持装置。
続きを表示(約 400 文字)
【請求項2】
前記保持用溝の前方側又は後方側の部位が、前記供試魚が水と共に前記溝上開放部から投入される供試魚投入部位に設定されており、
前記保持具設置状態での前記保持具の前方側及び後方側のうちの前記供試魚投入部位に近い側に前記口先突出用隙間が設けられている請求項1に記載の供試魚保持装置。
【請求項3】
前記一対の側壁部が、前記保持具設置状態での前記保持具において前記保持用溝の内部に水を滞留させる水滞留手段として機能する請求項1又は2に記載の供試魚保持装置。
【請求項4】
前記隙間用側壁部において、前記保持用溝の底面の高さ位置よりも上方側に位置する上側部分が前記溝端開放部に対して前記口先突出用隙間を介在させて離間しており、前記保持用溝の底面の高さ位置よりも下方側に位置する下側部分が前記保持具の側面に密着している請求項1又は2に記載の供試魚保持装置。
発明の詳細な説明
【技術分野】
【0001】
本発明は、柔軟性を有する材料からなり、上面側で開放されて前後方向に沿って延在する保持用溝が形成された保持具と、前記保持具が設置される保持具設置部と、を備え、前記保持具設置部に前記保持具が設置された保持具設置状態において、前記保持用溝が上面側の開放部である溝上開放部から水と共に投入された供試魚を内部に保持するものである供試魚保持装置に関する。
続きを表示(約 3,300 文字)
【背景技術】
【0002】
近年、ゼブラフィッシュが実験対象動物として非常に注目されている。ゼブラフィッシュのような供試魚を用いた動物実験では、例えば、経口投与などの所定の処置を供試魚に施す際に供試魚を保持するにあたり、供試魚に与えるストレスやダメージを最小限に抑えて、つまり、体表面などに損傷を与えず、火傷の症状を引き起こすこともなく、できるだけ優しく供試魚を保持することが重要な課題となる。
そこで、供試魚に与えるストレスやダメージを極力抑制して、供試魚を所定の姿勢で確実に保持することができる供試魚保持装置が提案されている(例えば特許文献1参照)。
特許文献1記載の供試魚保持装置では、柔軟性を有する材料からなる保持具に形成された保持用溝の内部に、上面側の開放部である溝上開放部から水と共に投入された供試魚が保持されるので、柔軟性を有する素材によって供試魚を優しく保持することができ、供試魚に与えるストレスやダメージを抑制することが可能となる。
【先行技術文献】
【特許文献】
【0003】
国際公開第2022/210397号
【発明の概要】
【発明が解決しようとする課題】
【0004】
上述の従来の供試魚保持装置では、保持具における保持用溝の前方側及び後方側の夫々の端部は溝端開放部として開放されている。よって、保持具設置部には、当該保持具設置部に設置された保持具において、溝端開放部を通じた前記保持用溝からの供試魚の脱落を防止する一対の側壁部を保持具の前方側及び後方側の夫々の側面に沿って設けることが検討されている。このような側壁部を保持用溝の溝端開放部に密着させて当該溝端開放部を封鎖するように設置すると、保持用溝に投入された供試魚は当該保持用溝の内部に全身が収まるように保持具に保持される。よって、保持具に保持された供試魚に対して所定の処置として経口投与を行う場合には、供試魚の口先が保持用溝から露出されるように供試魚の位置調整が必要となる。このような供試魚の位置調整に要する手間は、少数の供試魚に対して経口投与する場合には問題にはならない程度に僅かなものであるが、多数の供試魚に対して経口投与を行う場合などでは、より作業効率を向上するために軽減することが望まれる。
この実情に鑑み、本発明の主たる課題は、保持具設置部に柔軟性を有する保持具が設置された保持具設置状態において、保持具に形成された保持用溝が上面側の開放部である溝上開放部から水と共に投入された供試魚を内部に保持するものである供試魚保持装置において、供試魚に与える負担を軽減しながら供試魚に対して効率良く経口投与などの所定の処置を行うための技術を提供する点にある。
【課題を解決するための手段】
【0005】
本発明の第1特徴構成は、柔軟性を有する材料からなり、上面側で開放されて前後方向に沿って延在する保持用溝が形成された保持具と、
前記保持具が設置される保持具設置部と、を備え、
前記保持具設置部に前記保持具が設置された保持具設置状態において、前記保持用溝が上面側の開放部である溝上開放部から水と共に投入された供試魚を内部に保持するものである供試魚保持装置であって、
前記保持具の前方側及び後方側の夫々の側面に、前記保持用溝の前方側及び後方側の夫々の端部が溝端開放部として開放されており、
前記保持具設置部が、前記保持具設置状態での前記保持具の前方側及び後方側の夫々の側面に沿って設けられて、前記溝端開放部を通じた前記保持用溝からの前記供試魚の脱落を防止する一対の側壁部を有し、
前記保持具設置状態での前記保持具の前方側及び後方側の少なくとも一方側において、前記側壁部である隙間用側壁部と前記溝端開放部との間に、前記保持用溝に保持されている前記供試魚の前記溝端開放部からの当該供試魚の口先の突出を許容する口先突出用隙間が設けられている点にある。
【0006】
本構成によれば、保持用溝の内部に水と共に供試魚が投入されると、保持用溝の内部に投入された供試魚は適度に水に浸された状態になる。更に、魚は口先を壁面につける位置に自ら移動して落ち着く習性がある。これらのことから、保持用溝の内部に投入された供試魚は、口先側の側壁部に向かう方向に自ら移動しやすくなり、この移動により溝端開放部から口先突出用隙間に数mm(2mm程度)の口先を突出させた口先突出状態になる。すると、供試魚を保持した保持具を保持具設置部から取り出して、上記口先突出状態とした供試魚に対して被験物質の経口投与を行うにあたり、保持用溝の内部に保持された供試魚の口先を溝端開放部から突出させるための位置調整が略不要となる。よって、保持用溝の内部における供試魚の位置調整に起因する作業性の悪化を抑制することができる。更に、位置調整を実施することによる供試魚に与えるストレスやダメージを軽減することができる。
従って、本発明により、保持具設置部に柔軟性を有する保持具が設置された保持具設置状態において、保持具に形成された保持用溝が上面側の開放部である溝上開放部から水と共に投入された供試魚を内部に保持するものである供試魚保持装置において、供試魚に与える負担を軽減しながら供試魚に対して効率良く経口投与などの所定の処理を行うための技術を提供できる。
【0007】
本発明の第2特徴構成は、前記保持用溝の前方側又は後方側の部位が、前記供試魚が水と共に前記溝上開放部から投入される供試魚投入部位に設定されており、
前記保持具設置状態での前記保持具の前方側及び後方側のうちの前記供試魚投入部位に近い側に前記口先突出用隙間が設けられている点にある。
【0008】
本構成によれば、保持具の前方側又は後方側の供試魚投入部位から水と共に供試魚が投入された保持用溝の内部では、供試魚が水に浸された状態となる上に、供試魚投入部位から前方側部位及び後方側部位のうちの他方の部位に向かう水流が形成されることになる。また、魚は一般的に水流に逆らう姿勢となる習性がある。これらのことから、保持用溝の内部に投入された供試魚の姿勢は、供試魚投入部位側に口先を向けた姿勢になりやすくなる。そして、保持用溝の内部に投入された供試魚が口先側である供試魚投入部位側の方向に自ら移動することで、供試魚投入部位に近い側に設けられた口先突出用隙間に溝端開放部から口先が突出されるので、容易に上述の口先突出状態とすることができる。更に、保持用溝において供試魚の姿勢が供試魚投入部位側に口先を向けた姿勢になりやすいので、供試魚を保持した保持具を保持具設置部から取り出して当該供試魚に対して所定の処理を行うにあたり、供試魚の向き調整が略不要となるので、作業性を一層向上することができる。
【0009】
本発明の第3特徴構成は、前記一対の側壁部が、前記保持具設置状態での前記保持具において前記保持用溝の内部に水を滞留させる水滞留手段として機能する点にある。
【0010】
本構成によれば、一対の側壁部で保持具における保持用溝の前方側及び後方側夫々の溝端開放部を適度に覆うことで、当該一対の側壁部を上記水滞留手段として機能させて、保持用溝の内部に適度に水を滞留させることができる。そして、このような水滞留手段により水が適度に滞留する保持用溝の内部に対して水と共に供試魚が投入されて、供試魚は常に水に浸かった状態となるので、供試魚を暴れさせることなく姿勢を安定させた状態で保持用溝の内部に留まらせることができ、更に、滞留する水に浸された状態の供試魚の口先を容易に口先突出用隙間に突出させた口先突出状態になるように自ら移動させることができる。
(【0011】以降は省略されています)
この特許をJ-PlatPat(特許庁公式サイト)で参照する
関連特許
個人
虫捕り器
11日前
個人
巻糸係止具
1か月前
個人
刈込鋏保持具
7日前
個人
後付巻降ろし器
11日前
個人
飼育容器
21日前
個人
イカ釣り用ヤエン
11日前
株式会社丹勝
緑化工法
8日前
井関農機株式会社
作業車両
11日前
井関農機株式会社
作業車両
1日前
株式会社シマノ
釣竿
11日前
井関農機株式会社
作業車両
9日前
井関農機株式会社
作業車両
11日前
井関農機株式会社
作業車両
1日前
個人
水耕栽培システム
21日前
井関農機株式会社
圃場作業機
1か月前
大栄工業株式会社
捕獲器
1日前
井関農機株式会社
作業車両
21日前
井関農機株式会社
作業車両
7日前
松山株式会社
農作業機
7日前
松山株式会社
農作業機
21日前
個人
伸縮する草刈り機の可動装置。
11日前
個人
妻面トラス梁付き園芸用ハウス
23日前
トヨタ自動車株式会社
育苗装置
8日前
個人
飼育水槽用の浄化装置
15日前
スガノ農機株式会社
圃場作業装置
8日前
株式会社クボタ
作業機
1か月前
株式会社デンソー
農業用装置
3日前
トヨタ自動車株式会社
植物栽培装置
1か月前
グローブライド株式会社
釣竿
1日前
株式会社クボタ
田植機
1か月前
株式会社小川農具製作所
穴明け装置
2日前
井関農機株式会社
コンバイン
8日前
株式会社クボタ
田植機
1か月前
株式会社クボタ
作業車
1か月前
グローブライド株式会社
釣竿
2日前
株式会社クボタ
田植機
1か月前
続きを見る
他の特許を見る