TOP
|
特許
|
意匠
|
商標
特許ウォッチ
Twitter
他の特許を見る
公開番号
2025149015
公報種別
公開特許公報(A)
公開日
2025-10-08
出願番号
2024049439
出願日
2024-03-26
発明の名称
情報処理装置、情報処理プログラム、及び情報処理方法
出願人
沖電気工業株式会社
代理人
個人
,
個人
主分類
G06F
16/90 20190101AFI20251001BHJP(計算;計数)
要約
【課題】 ユーザからの問合せに答える対話を実現するための対話知識を効率的に作成できる情報処理装置を提供する。
【解決手段】 本発明の情報処理装置は、フローチャートの入力を受け付ける入力手段と、前記フローチャート内の条件分岐ごとの値に基づきスロット定義を生成するスロット定義生成手段と、前記フローチャート及び前記スロット定義に基づき前記フローチャートにおける条件分岐の分岐先を決定するためのスロット表を生成するスロット表生成手段とを有する。
【選択図】 図1
特許請求の範囲
【請求項1】
フローチャートの入力を受け付ける入力手段と、
前記フローチャート内の条件分岐ごとの値に基づきスロット定義を生成するスロット定義生成手段と、
前記フローチャート及び前記スロット定義に基づき前記フローチャートにおける条件分岐の分岐先を決定するためのスロット表を生成するスロット表生成手段と
を有することを特徴とする情報処理装置。
続きを表示(約 690 文字)
【請求項2】
前記フローチャートは、対話内容を示すものであることを特徴とする請求項1に記載の情報処理装置。
【請求項3】
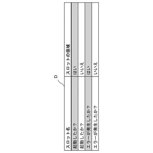
前記スロット定義生成手段は、前記スロット定義を、前記フローチャート内の前記各条件分岐内の値をスロット名として、前記各条件分岐の出口の値をスロットの値域として定義することを特徴とする請求項1に記載の情報処理装置。
【請求項4】
前記スロット表は、前記スロット定義の前記スロット名の各値と、ユーザ問合せ項目とで構成されたものであることを特徴とする請求項3に記載の情報処理装置。
【請求項5】
コンピュータを、
フローチャートの入力を受け付ける入力手段と、
前記フローチャート内の条件分岐ごとの値に基づきスロット定義を生成するスロット定義生成手段と、
前記フローチャート及び前記スロット定義に基づき前記フローチャートにおける条件分岐の分岐先を決定するためのスロット表を生成するスロット表生成手段と
して機能させることを特徴とする情報処理プログラム。
【請求項6】
情報処理装置に使用する情報処理方法であって、
入力手段は、フローチャートの入力を受け付け、
スロット定義生成手段は、前記フローチャート内の条件分岐ごとの値に基づきスロット定義を生成し、
スロット表生成手段は、前記フローチャート及び前記スロット定義に基づき前記フローチャートにおける条件分岐の分岐先を決定するためのスロット表を生成する
ことを特徴とする情報処理方法。
発明の詳細な説明
【技術分野】
【0001】
本発明は、情報処理装置、情報処理プログラム、及び情報処理方法に関し、例えば、フローチャートから対話装置が対話の際に使用する構造化データを生成する情報処理装置に適用し得る。
続きを表示(約 1,400 文字)
【背景技術】
【0002】
従来、発話者の発話文に応答するための文を生成する対話装置が知られている。
【0003】
例えば、特許文献1に記載の装置は、話者に対して予期する対話内容を記載したオントロジー(対話知識)を用いて発話する。特許文献1に記載の装置は、話者の発話内容のテキストに含まれる名詞に対してポジティブまたはネガティブの判定を行い、オントロジー内から関連度の高いノードを選び、関連度の高いノードに紐づく発話パターンを使用して話者に対する発話文を生成する。
【0004】
また、特許文献2に記載の装置は、話者の発話内容に関連度の高い質問文を多数の質問回答ペアの集合から抽出して発話する。質問回答ペア(対話知識)は、質問文、回答文、関連するキーワードで構成される。
【先行技術文献】
【特許文献】
【0005】
特許第6671672号公報
特開2022-105186公報
【発明の概要】
【発明が解決しようとする課題】
【0006】
ところで、特許文献1に記載の装置は、機械学習モデルを使用しない対話装置のために提案された技術である。一方で、特許文献1に記載の装置は、発話文生成のために、話者の発話内容に関連付けて整理するためのオントロジーを作成する必要がある。オントロジーは、クラスを示すノード名、ノードの上位下位関係、ポジティブネガティブ値など、多数の情報を関連付けて作成する必要があり、作成負荷が高い。
【0007】
そして、特許文献2に記載の装置は、問い合わせ対応を容易に構築するために提案された技術である。一方で、特許文献2に記載の装置は、対応したい問い合わせ内容に応じて質問回答ペアが必要となるため、問い合わせ内容が多いほど多量の質問回答ペアが必要となる。また、特許文献2に記載の装置は、質問回答ペアとの関連度に基づいて発話するため、前後の質問回答の文脈を考慮して発話することができない。
【0008】
そのため、ユーザからの問合せに答える対話を実現するための対話知識を効率的に作成できる情報処理装置、情報処理プログラム、及び情報処理方法が望まれている。
【課題を解決するための手段】
【0009】
第1の本発明の情報処理装置は、(1)フローチャートの入力を受け付ける入力手段と、(2)前記フローチャート内の条件分岐ごとの値に基づきスロット定義を生成するスロット定義生成手段と、(3)前記フローチャート及び前記スロット定義に基づき前記フローチャートにおける条件分岐の分岐先を決定するためのスロット表を生成するスロット表生成手段とを有することを特徴とする。
【0010】
第2の本発明の情報処理プログラムは、コンピュータを、(1)フローチャートの入力を受け付ける入力手段と、(2)前記フローチャート内の条件分岐ごとの値に基づきスロット定義を生成するスロット定義生成手段と、(3)前記フローチャート及び前記スロット定義に基づき前記フローチャートにおける条件分岐の分岐先を決定するためのスロット表を生成するスロット表生成手段として機能させることを特徴とする。
(【0011】以降は省略されています)
この特許をJ-PlatPat(特許庁公式サイト)で参照する
関連特許
沖電気工業株式会社
印刷装置
9日前
沖電気工業株式会社
画像形成装置
13日前
沖電気工業株式会社
画像形成装置
13日前
沖電気工業株式会社
施錠開閉装置
4日前
沖電気工業株式会社
情報処理装置
10日前
沖電気工業株式会社
画像形成装置
5日前
沖電気工業株式会社
棒金収納装置
10日前
沖電気工業株式会社
半導体デバイス
4日前
沖電気工業株式会社
発光装置及び表示装置
4日前
沖電気工業株式会社
現金処理装置及び印字装置
23日前
沖電気工業株式会社
電源制御装置及び画像形成装置
3日前
沖電気工業株式会社
紙葉類取扱装置及び現金処理装置
17日前
沖電気工業株式会社
プリンタドライバ及び画像形成装置
5日前
沖電気工業株式会社
部品管理装置、プログラムおよび方法
13日前
沖電気工業株式会社
直流電源装置および二次電池充電方法
13日前
沖電気工業株式会社
媒体取扱ユニット、及び、媒体取扱装置
5日前
沖電気工業株式会社
情報処理装置、情報処理方法、およびプログラム
3日前
沖電気工業株式会社
現像剤収容体、画像形成ユニット、及び画像形成装置
9日前
沖電気工業株式会社
情報処理装置、情報処理プログラム、及び情報処理方法
4日前
沖電気工業株式会社
精算システム、精算装置、情報処理方法、及びプログラム
4日前
沖電気工業株式会社
経路設定装置、経路設定方法、プログラムおよび経路設定システム
3日前
沖電気工業株式会社
駆動制御装置、駆動制御システム、駆動制御方法及び貨幣処理装置
9日前
沖電気工業株式会社
ナビゲーションシステム
12日前
沖電気工業株式会社
伝送装置のための制御装置、パス設定方法、およびプログラム並びに伝送システム
9日前
沖電気工業株式会社
表示装置、プログラム及び表示方法
9日前
個人
フラワーコートA
2か月前
個人
工程設計支援装置
1か月前
個人
QRコードの彩色
2日前
個人
地球保全システム
11日前
個人
冷凍食品輸出支援構造
1か月前
個人
為替ポイント伊達夢貯
1か月前
個人
携帯情報端末装置
1か月前
個人
表変換編集支援システム
1か月前
個人
残土処理システム
4日前
個人
知的財産出願支援システム
5日前
個人
結婚相手紹介支援システム
1か月前
続きを見る
他の特許を見る