TOP
|
特許
|
意匠
|
商標
特許ウォッチ
Twitter
他の特許を見る
10個以上の画像は省略されています。
公開番号
2025140957
公報種別
公開特許公報(A)
公開日
2025-09-29
出願番号
2024040628
出願日
2024-03-15
発明の名称
部品管理装置、プログラムおよび方法
出願人
沖電気工業株式会社
代理人
個人
,
個人
,
個人
主分類
G06Q
10/087 20230101AFI20250919BHJP(計算;計数)
要約
【課題】作業者の作業効率を向上する。
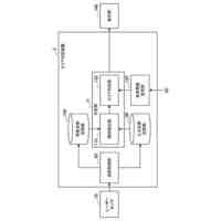
【解決手段】複数の部品収納部を有する収納ユニットへ収納される電子部品の、複数の収納ルールの設定を記憶する記憶部と、前記複数の収納ルールのうちのいずれかの収納ルールを使用収納ルールとして決定するルール決定部と、収納対象の電子部品の収納の際に、前記使用収納ルールに応じた誘導通知の実行を制御する通知制御部と、を備える、部品管理装置。
【選択図】図2
特許請求の範囲
【請求項1】
複数の部品収納部を有する収納ユニットへ収納される電子部品の、複数の収納ルールの設定を記憶する記憶部と、
前記複数の収納ルールのうちのいずれかの収納ルールを使用収納ルールとして決定するルール決定部と、
収納対象の電子部品の収納の際に、前記使用収納ルールに応じた誘導通知の実行を制御する通知制御部と、
を備える、部品管理装置。
続きを表示(約 1,000 文字)
【請求項2】
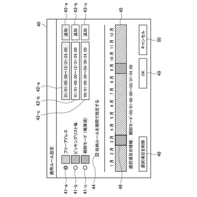
前記記憶部は、前記複数の収納ルールの各々に期間を関連付けて記憶しており、
前記ルール決定部は、現在日時が属する期間に関連付けられている収納ルールを前記使用収納ルールとして決定する、請求項1に記載の部品管理装置。
【請求項3】
前記複数の収納ルールは、いずれの部品収納部へも前記収納対象の電子部品の収納が可であることを示す第1の収納ルールを含む、請求項2に記載の部品管理装置。
【請求項4】
前記記憶部は、1または2以上の種類の電子部品のリストごとに部品収納部の範囲を関連付けて記憶し、
前記複数の収納ルールは、前記収納対象の電子部品が属するリストに関連付けられている範囲内の部品収納部に、前記収納対象の電子部品の収納が可であることを示す第2の収納ルールを含む、請求項3に記載の部品管理装置。
【請求項5】
前記通知制御部は、前記第2の収納ルールにおいては、前記収納対象の電子部品が属するリストに関連付けられている範囲内の部品収納部を示す通知の実行を制御する、請求項4に記載の部品管理装置。
【請求項6】
前記通知制御部は、前記1または2以上の種類の電子部品のリストの各々に関連付けられる部品収納部の範囲を操作入力に基づき設定可能な表示画面を生成する、請求項5に記載の部品管理装置。
【請求項7】
前記記憶部は、棚卸で使用される帳簿に含まれる電子部品ごとに部品収納部の範囲を関連付けて記憶し、
前記複数の収納ルールは、前記収納対象の電子部品に関連付けられている範囲内の部品収納部に、前記収納対象の電子部品の収納が可であることを示す第3の収納ルールを含む、請求項6に記載の部品管理装置。
【請求項8】
前記通知制御部は、前記第3の収納ルールにおいては、前記収納対象の電子部品に関連付けられている範囲内の部品収納部を示す通知の実行を制御する、請求項7に記載の部品管理装置。
【請求項9】
前記記憶部においては、前記帳簿において順序が連続している電子部品には隣接する部品収納部の範囲が関連付けて記憶される、請求項8に記載の部品管理装置。
【請求項10】
前記通知制御部は、前記帳簿に含まれる電子部品の各々に関連付けられる部品収納部の範囲を操作入力に基づき設定可能な表示画面を生成する、請求項9に記載の部品管理装置。
(【請求項11】以降は省略されています)
発明の詳細な説明
【技術分野】
【0001】
本発明は、部品管理装置、プログラムおよび方法に関する。
続きを表示(約 1,500 文字)
【背景技術】
【0002】
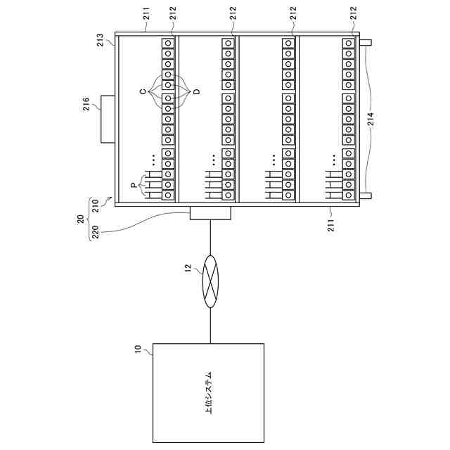
基板上に電子部品を装着する部品装着装置が知られている。部品装着装置は複数のフィーダを備え、複数のフィーダの各々には、異なる種類の部品を収容している部品リールがセットされる。部品装着装置は、フィーダを介して、部品リールが収容している電子部品を基板に装着する。
【0003】
部品装着装置にセットされている部品リールの電子部品が少なくなると、または無くなると、作業者は、リール収納棚に収納されている部品リールを、部品装着装置にセットされている部品リールと付け替えることで、電子部品を補充する。リール収納棚は、複数の部品収納部を有し、各部品収納部に部品リールが収納されている。
【0004】
上記リール収納棚のような収納庫における物品の管理に関する技術が特許文献1および特許文献2に開示されている。例えば、特許文献1には、同一仕様の複数個の物品の保管位置を特定せず、作業者がランダムに棚に物品を収納し、かつ払い出す物品を容易に特定することを可能とする物品管理システムが開示されている。また、特許文献2には、物品ごとの入庫棚の位置を自動割付するにあたり、同一グループの物品群の入庫に関しては、当該グループの最初の入庫物品に割り付けられた棚位置を基にして入庫物品を順次互いに近接する位置の棚に割り付ける管理装置が開示されている。
【先行技術文献】
【特許文献】
【0005】
特開2013-028422号公報
特開平4-094302号公報
【発明の概要】
【発明が解決しようとする課題】
【0006】
しかし、特許文献1に開示された物品管理システムでは、物品が不規則な位置に収納されるので、作業者が一度に複数種類の物品を出庫しようとする場合、および、同一種類の物品を現品確認しようとする場合などに、作業者が広範囲で動き回ることになり、作業効率が悪化する懸念がある。
【0007】
また、特許文献2に開示された管理装置では、作業者が自由な位置に手早く物品を収納したい場合にも収納位置が誘導されてしまうので、作業者の作業効率が下がってしまう。なお、入庫のルールが、同一グループの物品群の入庫に関して、当該グループの最初の入庫物品の位置を基にして入庫物品を順次近接する位置に割り付けるだけでは、ピッキングリスト順に物品が収納されること、または帳簿に記載された順番に物品が収納されることなどが望まれる場合には、要求が満たされない。
【0008】
そこで、本発明は、上記問題に鑑みてなされたものであり、本発明の目的とするところは、作業者の作業効率を向上することが可能な技術を提供することにある。
【課題を解決するための手段】
【0009】
上記課題を解決するために、本発明のある観点によれば、複数の部品収納部を有する収納ユニットへ収納される電子部品の、複数の収納ルールの設定を記憶する記憶部と、前記複数の収納ルールのうちのいずれかの収納ルールを使用収納ルールとして決定するルール決定部と、収納対象の電子部品の収納の際に、前記使用収納ルールに応じた誘導通知の実行を制御する通知制御部と、を備える、部品管理装置が提供される。
【0010】
前記記憶部は、前記複数の収納ルールの各々に期間を関連付けて記憶しており、前記ルール決定部は、現在日時が属する期間に関連付けられている収納ルールを前記使用収納ルールとして決定してもよい。
(【0011】以降は省略されています)
この特許をJ-PlatPat(特許庁公式サイト)で参照する
関連特許
沖電気工業株式会社
筐体
23日前
沖電気工業株式会社
レーダ装置
23日前
沖電気工業株式会社
媒体搬送装置
23日前
沖電気工業株式会社
媒体処理装置
26日前
沖電気工業株式会社
画像形成装置
2日前
沖電気工業株式会社
画像形成装置
2日前
沖電気工業株式会社
現金処理装置及び印字装置
12日前
沖電気工業株式会社
定着装置及び画像形成装置
26日前
沖電気工業株式会社
電源装置及び画像形成装置
22日前
沖電気工業株式会社
紙葉類取扱装置及び現金処理装置
6日前
沖電気工業株式会社
装置、設置方法、およびプログラム
23日前
沖電気工業株式会社
印刷制御装置及び印刷制御プログラム
23日前
沖電気工業株式会社
反り防止治具および半田リフロー装置
23日前
沖電気工業株式会社
直流電源装置および二次電池充電方法
2日前
沖電気工業株式会社
情報処理装置、プログラムおよび方法
23日前
沖電気工業株式会社
部品管理装置、プログラムおよび方法
2日前
沖電気工業株式会社
情報処理装置、検証方法及びプログラム
26日前
沖電気工業株式会社
検出装置、検出方法、及び検出プログラム
26日前
沖電気工業株式会社
情報処理装置、システム及び情報処理方法
23日前
沖電気工業株式会社
分光計、プログラム及びスペクトル測定方法
28日前
沖電気工業株式会社
通信端末装置および通信端末装置の制御方法
22日前
沖電気工業株式会社
情報処理装置、情報処理方法およびプログラム
22日前
沖電気工業株式会社
通信装置、情報管理システム及び情報管理方法
22日前
沖電気工業株式会社
情報処理装置、情報処理方法およびプログラム
21日前
沖電気工業株式会社
情報処理装置、情報処理方法、およびプログラム
23日前
沖電気工業株式会社
管理装置、システム、情報処理方法及びプログラム
26日前
沖電気工業株式会社
情報処理装置、システム、情報処理方法及びプログラム
23日前
沖電気工業株式会社
情報処理装置、情報処理方法、及び情報処理プログラム
21日前
沖電気工業株式会社
現金処理装置、システム、情報処理方法及びプログラム
23日前
沖電気工業株式会社
音波伝搬計算方法、音波伝搬計算プログラム及び音波伝搬計算装置
26日前
沖電気工業株式会社
情報処理装置、情報処理システム、情報処理方法、およびプログラム
21日前
沖電気工業株式会社
情報処理装置、情報処理方法、プログラム、および情報処理システム
23日前
沖電気工業株式会社
情報処理装置、情報処理システム、情報処理方法、およびプログラム
21日前
沖電気工業株式会社
ナビゲーションシステム
1日前
沖電気工業株式会社
トラヒック予測装置、トラヒック予測プログラム及びトラヒック予測方法
22日前
沖電気工業株式会社
情報処理装置、情報処理プログラム、情報処理方法、及び情報処理システム
22日前
続きを見る
他の特許を見る