TOP
|
特許
|
意匠
|
商標
特許ウォッチ
Twitter
他の特許を見る
公開番号
2025140337
公報種別
公開特許公報(A)
公開日
2025-09-29
出願番号
2024039679
出願日
2024-03-14
発明の名称
直流電源装置および二次電池充電方法
出願人
沖電気工業株式会社
代理人
個人
,
個人
,
弁理士法人磯野国際特許商標事務所
主分類
G05F
1/67 20060101AFI20250919BHJP(制御;調整)
要約
【課題】任意の自然エネルギー発電装置で好適に充電する。
【解決手段】自然エネルギー発電装置1の発電電力が供給される電源回路2と、該電源回路2の出力直流電圧Voutで充電する二次電池4とを備える直流電源装置10であって、電源回路2は、自然エネルギー発電装置1の動作点を変更する設定端子を有し、電源回路2の出力電力(出力電圧Vout×出力電流Iout)が最大になるように、設定端子の電圧Vsetを変更する設定電圧変更回路5を備える。
【選択図】図1
特許請求の範囲
【請求項1】
自然エネルギー発電装置の発電電力が供給される電源回路と、該電源回路の出力電圧で充電する二次電池とを備える直流電源装置であって、
前記電源回路は、前記自然エネルギー発電装置の動作点を変更する設定端子を有し、
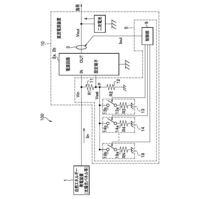
前記電源回路の出力電力が最大になるように、前記設定端子の電圧を変更する設定電圧変更回路を備える
ことを特徴とする直流電源装置。
続きを表示(約 680 文字)
【請求項2】
前記電源回路の出力電流を検出する電流センサをさらに備え、
前記設定電圧変更回路は、前記電流センサの測定電流が最大になるように前記設定端子の電圧を変更する
ことを特徴とする請求項1に記載の直流電源装置。
【請求項3】
前記設定電圧変更回路は、前記電源回路の入力電圧を抵抗器で分圧し、複数の分圧比の何れかに設定可能な分圧回路と、該分圧回路の分圧比を選択する制御部とを備える
ことを特徴とする請求項1に記載の直流電源装置。
【請求項4】
前記制御部は、前記電源回路の出力電流が多いときには、前記分圧回路の選択間隔を短くし、前記電源回路の出力電流が少ないときには、前記分圧回路の選択間隔を長くする
ことを特徴とする請求項3に記載の直流電源装置。
【請求項5】
前記制御部は、前記電源回路の出力電流が略ゼロのときには、前記分圧回路の選択の切り替えを停止する
ことを特徴とする請求項3に記載の直流電源装置。
【請求項6】
前記制御部は、前記二次電池の充電電圧で駆動する
ことを特徴とする請求項3に記載の直流電源装置。
【請求項7】
自然エネルギー発電装置の動作点を変更する設定端子を有し、該自然エネルギー発電装置の発電電力が供給される電源回路が二次電池を充電する二次電池充電方法であって、
前記電源回路の出力電力が最大になるように、前記設定端子の電圧を変更する
ことを特徴とする二次電池充電方法。
発明の詳細な説明
【技術分野】
【0001】
本発明は、太陽光発電や熱電発電等の自然エネルギー発電の発電電力を二次電池に充電し、充電電力を負荷に供給する直流電源装置および二次電池充電方法に関する。
続きを表示(約 1,400 文字)
【背景技術】
【0002】
太陽光発電等の自然エネルギー発電の発電電力を二次電池に蓄電し、蓄電電力を負荷に供給する直流電源装置が知られている。例えば、特許文献1には、太陽電池の無負荷開放電圧を周期的に計測し、その無負荷開放電圧の所定の割合(例えば、80%)となる設定電圧を最大電力点電圧に設定して、最大電力点追従制御を行う電源装置が開示されている。
【先行技術文献】
【特許文献】
【0003】
特開2018-151857号公報(請求項1,2)
【発明の概要】
【発明が解決しようとする課題】
【0004】
特許文献1に記載の技術は、太陽電池に適合する技術であり、設定電圧を無負荷開放電圧の80%に設定している。しかしながら、自然エネルギー発電は、太陽光発電だけでなく、熱電発電も存在する。熱電発電の設定電圧は、必ずしも無負荷開放電圧の80%が適切だとは限らない。
【0005】
本発明は、このような問題点を解決するためになされたものであり、任意の自然エネルギー発電装置で好適に充電することができる直流電源装置および二次電池充電方法を提供することを目的とする。
【課題を解決するための手段】
【0006】
前記目的を達成するために、第1発明は、自然エネルギー発電装置(1)の発電電力が供給される電源回路(2)と、該電源回路の出力直流電圧で充電する二次電池(4)とを備える直流電源装置(10)であって、前記電源回路は、前記自然エネルギー発電装置の動作点を変更する設定端子を有し、前記電源回路の出力電力(出力電圧Vout×出力電流Iout)が最大になるように、前記設定端子の電圧(Vset)を変更する設定電圧変更回路(5)を備えることを特徴とする。なお、括弧内の符号や文字は、実施形態において付した符号等であって、本発明を限定するものではない。
【0007】
また、第2発明は、自然エネルギー発電装置(1)の動作点を変更する設定端子を有し、該自然エネルギー発電装置の発電電力が供給される電源回路(2)が二次電池(4)を充電する二次電池充電方法であって、前記電源回路の出力電力(出力電圧Vout×出力電流Iout)が最大になるように、前記設定端子の電圧(Vset)を変更することを特徴とする。なお、括弧内の符号や文字は、実施形態において付した符号等であって、本発明を限定するものではない。
【発明の効果】
【0008】
本発明によれば、任意の自然エネルギー発電装置で好適に充電することができる。
【図面の簡単な説明】
【0009】
本発明の第1実施形態である自然エネルギー蓄電装置の構成図である。
太陽電池が受ける照度と発電電圧との関係を示す特性図である。
本発明の第1実施形態である自然エネルギー蓄電装置の動作を説明するフローチャートである。
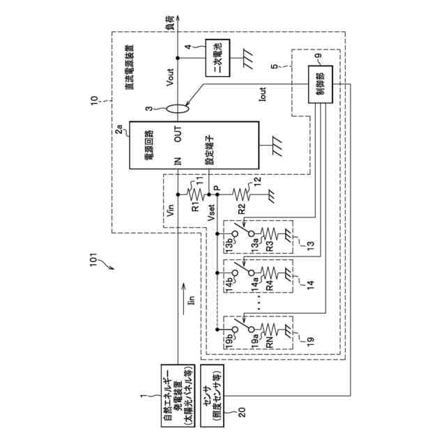
本発明の第3実施形態である自然エネルギー蓄電装置の構成図である。
【発明を実施するための形態】
【0010】
以下、図面を参照して、本発明の実施形態につき詳細に説明する。なお、各図は、実施形態を十分に理解できる程度に、概略的に示してあるにすぎない。また、各図において、共通する構成要素や同様な構成要素については、同一の符号を付し、それらの重複する説明を省略する。
(【0011】以降は省略されています)
この特許をJ-PlatPat(特許庁公式サイト)で参照する
関連特許
沖電気工業株式会社
筐体
23日前
沖電気工業株式会社
電気機器
1か月前
沖電気工業株式会社
アンテナ
1か月前
沖電気工業株式会社
レーダ装置
23日前
沖電気工業株式会社
線材保持具
1か月前
沖電気工業株式会社
媒体搬送装置
23日前
沖電気工業株式会社
媒体処理装置
1か月前
沖電気工業株式会社
電子機器筐体
1か月前
沖電気工業株式会社
媒体処理装置
26日前
沖電気工業株式会社
貨幣取扱装置
1か月前
沖電気工業株式会社
媒体処理装置
1か月前
沖電気工業株式会社
画像形成装置
1か月前
沖電気工業株式会社
光導波路素子
28日前
沖電気工業株式会社
光導波路素子
28日前
沖電気工業株式会社
媒体処理装置
28日前
沖電気工業株式会社
媒体処理装置
28日前
沖電気工業株式会社
媒体処理装置
28日前
沖電気工業株式会社
現金処理装置
1か月前
沖電気工業株式会社
棒金収納装置
1か月前
沖電気工業株式会社
光導波路素子
28日前
沖電気工業株式会社
画像形成装置
1か月前
沖電気工業株式会社
紙幣処理装置
1か月前
沖電気工業株式会社
画像形成装置
2日前
沖電気工業株式会社
画像形成装置
2日前
沖電気工業株式会社
画像撮影システム
1か月前
沖電気工業株式会社
携帯通信端末システム
1か月前
沖電気工業株式会社
給紙装置及び画像形成装置
1か月前
沖電気工業株式会社
定着装置及び画像形成装置
1か月前
沖電気工業株式会社
定着装置及び画像形成装置
1か月前
沖電気工業株式会社
電源装置及び画像形成装置
22日前
沖電気工業株式会社
定着装置及び画像形成装置
26日前
沖電気工業株式会社
現金処理装置及び印字装置
12日前
沖電気工業株式会社
情報処理方法及びプログラム
1か月前
沖電気工業株式会社
画像形成装置及び画像処理方法
28日前
沖電気工業株式会社
プログラム、方法及びシステム
2か月前
沖電気工業株式会社
画像形成装置及び画像形成方法
2か月前
続きを見る
他の特許を見る