TOP
|
特許
|
意匠
|
商標
特許ウォッチ
Twitter
他の特許を見る
10個以上の画像は省略されています。
公開番号
2025136332
公報種別
公開特許公報(A)
公開日
2025-09-19
出願番号
2024034816
出願日
2024-03-07
発明の名称
現金処理装置及び印字装置
出願人
沖電気工業株式会社
代理人
個人
主分類
G07G
1/06 20060101AFI20250911BHJP(チェック装置)
要約
【課題】現金処理装置のカバー上面に載置された印字部において、カバーの開閉に伴い収納されたロール状媒体に巻きの緩みが発生し、搬送不具合が発生してしまう場合がある。
【解決手段】上面カバー16の上面に印字部5が載置された現金処理装置1において、上面カバー16の開閉を検知する検知部18が、上面カバー16の開閉を検知したとき、その回数を記憶部に記憶し、その回数が所定回数以上となった場合には、印字部5内に収容されたロール状媒体を所定の距離だけ搬送させることでロール状媒体の巻きの緩みを印字に支障がない程度に小さくする。
【選択図】 図1
特許請求の範囲
【請求項1】
現金を用いた取引処理を行う現金処理装置であって、
前記取引処理に関する取引情報を取得して、ロール状に巻回されたロール状媒体に当該取引情報を印字して排出口から排出する印字部と、
前記現金処理装置の状態を検知する検知部と、
前記検知部により検知された前記状態に基づいて、搬送制御に関する情報を前記印字部へ送信する全体制御部と、
を有し、
前記印字部は、
前記全体制御部から取得した前記搬送制御に関する情報に応じて、前記ロール状媒体を前記排出口の方向へ搬送する印字制御部を有することを特徴とする
現金処理装置。
続きを表示(約 1,100 文字)
【請求項2】
前記印字制御部は、前記ロール状媒体を前記排出口の方向へ搬送する際に、
前記ロール状媒体へ予め定められた情報を印字することにより前記ロール状媒体を前記排出口の方向へ搬送することを特徴とする
請求項1の記載の現金処理装置。
【請求項3】
回動可能に設けられた開閉部をさらに有し、
前記印字部は、前記開閉部の上面に載置されていることを特徴とする
請求項1又は2に記載の現金処理装置。
【請求項4】
前記開閉部は、水平方向に延びる回動軸を介して回動可能に設けられていることを特徴とする
請求項3に記載の現金処理装置。
【請求項5】
前記状態は、前記開閉部の開閉状態を示し、
前記検知部は、前記開閉状態を検知する開閉検知センサであり、
前記全体制御部は、前記開閉部が開状態から閉状態に変化したことを、前記開閉検知センサが検知した回数に応じて前記搬送制御に関する情報を前記印字部へ送信することを特徴とする
請求項4に記載の現金処理装置。
【請求項6】
前記全体制御部は、前記開閉部が開状態から閉状態に変化したことを、前記開閉検知センサが1回検知する度に、前記搬送制御に関する情報を前記印字部へ送信することを特徴とする
請求項5に記載の現金処理装置。
【請求項7】
前記全体制御部は、前記開閉部が開状態から閉状態に変化したことを、前記開閉検知センサが複数回検知する度に、前記搬送制御に関する情報を前記印字部へ送信することを特徴とする
請求項5に記載の現金処理装置。
【請求項8】
前記開閉部が開状態から閉状態に変化したことを、前記開閉検知センサが検知した回数を記憶する記憶部をさらに有し、
前記現金処理装置の電源投入の際に、前記記憶部が記憶した前記回数が所定の回数以上の場合に、前記全体制御部が前記搬送制御に関する情報を前記印字部へ送信することを特徴とする
請求項5に記載の現金処理装置。
【請求項9】
前記状態は、前記現金処理装置に加えられた振動の振動状態を示し、
前記検知部は、前記振動状態を検知する振動検知センサであり、
前記全体制御部は、前記振動検知センサが検知した前記振動状態に応じて前記搬送制御に関する情報を前記印字部へ送信することを特徴とする
請求項1に記載の現金処理装置。
【請求項10】
前記振動状態は、前記振動の振幅に関する状態であることを特徴とする
請求項9に記載の現金処理装置。
(【請求項11】以降は省略されています)
発明の詳細な説明
【技術分野】
【0001】
本発明は、現金処理装置及び印字装置に関する。
続きを表示(約 1,500 文字)
【背景技術】
【0002】
従来、小売店やスーパーマーケット等の店舗のバックヤード等には、現金の出金取引や入金取引を行う現金処理装置が設置されている。一般的に、現金処理装置は当該現金処理装置で行われた取引の取引内容を印字するための印字部を有する。
【0003】
当該印字部は、例えば特許文献1のように、ロール状に巻き回されたロール状媒体に印字ヘッドを用いて印字するものであり、印字ヘッドとプラテンローラの間でロール状媒体を挟み、プラテンローラの回転によりロール状媒体を搬送するものである。
【0004】
また、ロール状媒体のセット方法としては、ロール状媒体に軸を通して支えるなどの固定をせずに、ロール状媒体を投入するだけの簡易な構造でセットすることができる、いわゆるドロップイン式と呼ばれるセット方法が提案されている。
【先行技術文献】
【特許文献】
【0005】
特開2008-273060
【発明の概要】
【発明が解決しようとする課題】
【0006】
上記のドロップイン式のロール状媒体のセット方法では、ロール状媒体を固定する部分は印字ヘッドとプラテンローラで挟まれる一か所のみであるため、ロール状媒体を収納する収納空間内でのロール状媒体は不安定な状態である。現金処理装置の運用中にロール状媒体が収納空間内で動く場合があり、本来であればきつく巻かれていたロール状媒体の巻きが緩んでしまう。その結果、ロール状媒体に適切な印字を行えない場合がある。
【0007】
本発明の目的は、上記課題を解決し、ロール状媒体に適切な印字を行える現金処理装置及び印字装置を提供することである。
【課題を解決するための手段】
【0008】
上記の目的を達成するため、本発明の現金処理装置は、取引処理に関する取引情報を取得して、ロール状に巻回されたロール状媒体に当該取引内容を印字して排出口から排出する印字部と、現金処理装置の状態を検知する検知部と、検知部により検知された状態に基づいて、搬送制御に関する情報を印字部へ送信する全体制御部と、を有し、印字部は、全体制御部から取得した搬送制御に関する情報に応じて、ロール状媒体を排出口の方向へ搬送する印字制御部を有する構成とする。
【発明の効果】
【0009】
本発明によれば、ロール状媒体の巻きの緩みによる搬送不具合の発生を低減することを可能とする。
【図面の簡単な説明】
【0010】
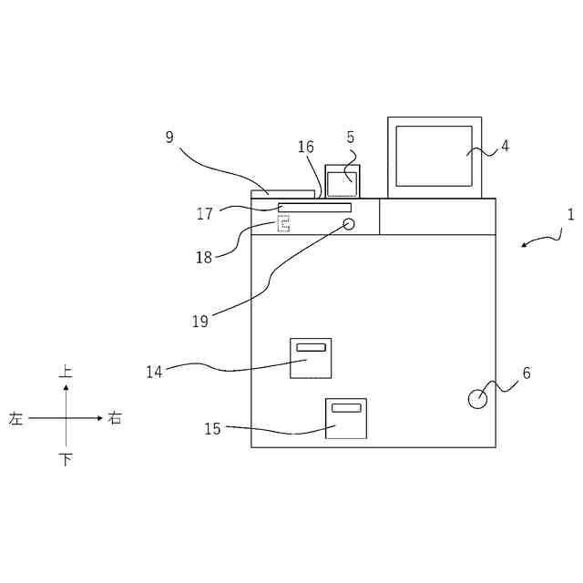
現金処理装置の一例を示す外観構成図である。
第1の実施形態に係る現金処理装置の一例を示す内部構成図である。
現金処理装置の上面図である。
印字部の内部側面図である。
第1の実施形態において、硬貨処理部の上面カバーが回動する様子を示す図である。
ロール状媒体が印字部の内部で広がっている様子を示す図である。
第1の実施形態に係る印字部の動作フローを示すフローチャートである。
第1の実施形態の変形例に係る印字部の動作フローを示すフローチャートである。
第2の実施形態及び第3の実施形態に係る現金処理装置の一例を示す内部構成図である。
第2の実施形態に係る印字部の動作フローを示すフローチャートである。
第3の実施形態に係る印字部の動作フローを示すフローチャートである。
印字部の動作を示す模式図である。
【発明を実施するための形態】
(【0011】以降は省略されています)
この特許をJ-PlatPat(特許庁公式サイト)で参照する
関連特許
沖電気工業株式会社
印刷装置
6日前
沖電気工業株式会社
画像形成装置
2日前
沖電気工業株式会社
情報処理装置
7日前
沖電気工業株式会社
棒金収納装置
7日前
沖電気工業株式会社
施錠開閉装置
1日前
沖電気工業株式会社
半導体デバイス
1日前
沖電気工業株式会社
発光装置及び表示装置
1日前
沖電気工業株式会社
電源制御装置及び画像形成装置
今日
沖電気工業株式会社
プリンタドライバ及び画像形成装置
2日前
沖電気工業株式会社
媒体取扱ユニット、及び、媒体取扱装置
2日前
沖電気工業株式会社
情報処理装置、情報処理方法、およびプログラム
今日
沖電気工業株式会社
現像剤収容体、画像形成ユニット、及び画像形成装置
6日前
沖電気工業株式会社
情報処理装置、情報処理プログラム、及び情報処理方法
1日前
沖電気工業株式会社
精算システム、精算装置、情報処理方法、及びプログラム
1日前
沖電気工業株式会社
経路設定装置、経路設定方法、プログラムおよび経路設定システム
今日
沖電気工業株式会社
駆動制御装置、駆動制御システム、駆動制御方法及び貨幣処理装置
6日前
沖電気工業株式会社
ナビゲーションシステム
9日前
沖電気工業株式会社
伝送装置のための制御装置、パス設定方法、およびプログラム並びに伝送システム
6日前
沖電気工業株式会社
表示装置、プログラム及び表示方法
6日前
株式会社イシダ
商品処理装置
8日前
株式会社バンダイ
物品供給装置
3か月前
株式会社バンダイ
物品供給装置
3か月前
株式会社バンダイ
物品供給装置
3か月前
株式会社バンダイ
物品供給装置
3か月前
富士電機株式会社
通貨識別装置
2か月前
沖電気工業株式会社
紙幣処理装置
1か月前
沖電気工業株式会社
媒体処理装置
1か月前
沖電気工業株式会社
施錠開閉装置
1日前
沖電気工業株式会社
媒体処理装置
1か月前
沖電気工業株式会社
媒体処理装置
1か月前
富士電機株式会社
自動販売機
1か月前
株式会社ライト
情報処理装置
2か月前
株式会社ライト
情報処理装置
1か月前
株式会社ライト
情報処理装置
1か月前
株式会社デンソー
車載器
6日前
富士電機株式会社
金銭処理装置
2か月前
続きを見る
他の特許を見る