TOP
|
特許
|
意匠
|
商標
特許ウォッチ
Twitter
他の特許を見る
10個以上の画像は省略されています。
公開番号
2025144006
公報種別
公開特許公報(A)
公開日
2025-10-02
出願番号
2024043558
出願日
2024-03-19
発明の名称
棒金収納装置
出願人
沖電気工業株式会社
代理人
個人
,
個人
,
個人
主分類
G07D
9/00 20060101AFI20250925BHJP(チェック装置)
要約
【課題】棒金を誤って収納した際に間違いに気付き易くすることを可能とする。
【解決手段】棒金を立位状態で収納する棒金収納空間が複数並べて設けられる棒金収納部と、前記棒金収納空間の上端近傍かつ前記棒金収納部の上面に設けられるリブと、を備え、前記棒金収納空間の下端部から上端部の垂直方向の長さは、当該棒金収納空間に収納される対応する棒金の長手方向の長さより短く、前記リブの高さは、前記棒金収納空間に前記対応する棒金が収納された状態において、当該棒金の高さと一致する、棒金収納装置。
【選択図】図4
特許請求の範囲
【請求項1】
棒金を立位状態で収納する棒金収納空間が複数並べて設けられる棒金収納部と、
前記棒金収納空間の上端近傍かつ前記棒金収納部の上面に設けられるリブと、
を備え、
前記棒金収納空間の下端部から上端部の垂直方向の長さは、当該棒金収納空間に収納される対応する棒金の長手方向の長さより短く、
前記リブの高さは、前記棒金収納空間に前記対応する棒金が収納された状態において、当該棒金の高さと一致する、
棒金収納装置。
続きを表示(約 660 文字)
【請求項2】
前記リブは、前記棒金収納空間に前記対応する棒金が収納された状態において、前記リブの上端部が前記棒金の上端部と隣接する位置に設けられる、請求項1に記載の棒金収納装置。
【請求項3】
前記棒金収納空間の底部は、平坦な形状から成る、請求項1に記載の棒金収納装置。
【請求項4】
前記棒金収納空間の底部は、テーパー形状から成る、請求項1に記載の棒金収納装置。
【請求項5】
前記棒金収納空間の直径は、対応する棒金の硬貨径に対応する、請求項1~4のいずれか1項に記載の棒金収納装置。
【請求項6】
前記リブは可動式である、請求項1に記載の棒金収納装置。
【請求項7】
前記棒金収納空間の直径は、対応する複数の棒金のうち最も大きい硬貨径に対応する、請求項6に記載の棒金収納装置。
【請求項8】
棒金を立位状態で収納する棒金収納空間が複数並べて設けられる棒金収納部を備え、
前記棒金収納空間の下端部から上端部の垂直方向の長さは、当該棒金収納空間に収納される対応する棒金の長手方向の長さと同じであり、
前記棒金収納部の上面のうち、前記棒金収納空間の上端周辺部は、前記棒金収納空間に対応する棒金が収納された状態において当該棒金の上面と同じ高さに位置する、
棒金収納装置。
【請求項9】
前記棒金収納空間の上端の縁には、一対の窪み部が設けられる、請求項8に記載の棒金収納装置。
発明の詳細な説明
【技術分野】
【0001】
本発明は、棒金収納装置に関する。
続きを表示(約 1,200 文字)
【背景技術】
【0002】
従来、小売店やスーパーマーケットなどの流通施設および商業施設において、売上金を入金し、釣銭準備金を出金する現金処理装置が設置されている。現金処理装置の一例として、所定枚数の同一金種の硬貨を棒状に包装した棒金を収納することが可能な現金処理装置が知られている。
【0003】
例えば、特許文献1には、現金処理装置から引き出される収納庫に設けられる棒金収納部に収納されている棒金の数量を、センサを用いて算出する技術が開示されている。
【先行技術文献】
【特許文献】
【0004】
特開2016-42269号公報
【発明の概要】
【発明が解決しようとする課題】
【0005】
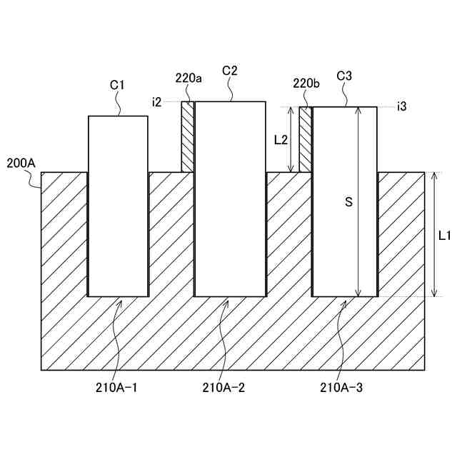
棒金収納部には、棒金を立位状態で収納する凹部(棒金収納空間)が並んで形成されている。各棒金収納空間は、それぞれ収納される硬貨に対応する大きさとなっている。具体的には、円柱状の各棒金収納空間の底部の直径は、収納される硬貨径に対応する大きさとなっている。センサにより棒金の有無を検知して計数する際、所定の金種の棒金が正しく収納されていることを前提とするため、店員は、それぞれ対応する棒金収納空間に所定の金種の棒金を収納する必要がある。
【0006】
しかしながら、棒金収納空間に収納されるべき所定の硬貨と硬貨径が同程度または小さい硬貨の場合、収納されるべき所定の硬貨以外であっても当該棒金収納空間への収納が可能となってしまうため、間違えて収納したことに店員が気付かなかった場合、計数した金額と実際の金額が異なる現金違算に繋がるという問題がある。
【0007】
そこで、本発明は、上記問題に鑑みてなされたものであり、本発明の目的とするところは、棒金を誤って収納した際に間違いに気付き易くすることが可能な、新規かつ改良された棒金収納装置を提供することにある。
【課題を解決するための手段】
【0008】
上記課題を解決するために、本発明のある観点によれば、棒金を立位状態で収納する棒金収納空間が複数並べて設けられる棒金収納部と、前記棒金収納空間の上端近傍かつ前記棒金収納部の上面に設けられるリブと、を備え、前記棒金収納空間の下端部から上端部の垂直方向の長さは、当該棒金収納空間に収納される対応する棒金の長手方向の長さより短く、前記リブの高さは、前記棒金収納空間に前記対応する棒金が収納された状態において、当該棒金の高さと一致する、棒金収納装置が提供される。
【0009】
前記リブは、前記棒金収納空間に前記対応する棒金が収納された状態において、前記リブの上端部が前記棒金の上端部と隣接する位置に設けられてもよい。
【0010】
前記棒金収納空間の底部は、平坦な形状から成ってもよい。
(【0011】以降は省略されています)
この特許をJ-PlatPat(特許庁公式サイト)で参照する
関連特許
沖電気工業株式会社
印刷装置
7日前
沖電気工業株式会社
情報処理装置
8日前
沖電気工業株式会社
施錠開閉装置
2日前
沖電気工業株式会社
棒金収納装置
8日前
沖電気工業株式会社
画像形成装置
3日前
沖電気工業株式会社
半導体デバイス
2日前
沖電気工業株式会社
発光装置及び表示装置
2日前
沖電気工業株式会社
電源制御装置及び画像形成装置
1日前
沖電気工業株式会社
プリンタドライバ及び画像形成装置
3日前
沖電気工業株式会社
部品管理装置、プログラムおよび方法
11日前
沖電気工業株式会社
直流電源装置および二次電池充電方法
11日前
沖電気工業株式会社
媒体取扱ユニット、及び、媒体取扱装置
3日前
沖電気工業株式会社
情報処理装置、情報処理方法、およびプログラム
1日前
沖電気工業株式会社
現像剤収容体、画像形成ユニット、及び画像形成装置
7日前
沖電気工業株式会社
情報処理装置、情報処理プログラム、及び情報処理方法
2日前
沖電気工業株式会社
精算システム、精算装置、情報処理方法、及びプログラム
2日前
沖電気工業株式会社
駆動制御装置、駆動制御システム、駆動制御方法及び貨幣処理装置
7日前
沖電気工業株式会社
経路設定装置、経路設定方法、プログラムおよび経路設定システム
1日前
沖電気工業株式会社
ナビゲーションシステム
10日前
沖電気工業株式会社
伝送装置のための制御装置、パス設定方法、およびプログラム並びに伝送システム
7日前
沖電気工業株式会社
表示装置、プログラム及び表示方法
7日前
株式会社イシダ
商品処理装置
9日前
株式会社バンダイ
物品供給装置
3か月前
株式会社バンダイ
物品供給装置
3か月前
株式会社バンダイ
物品供給装置
3か月前
株式会社バンダイ
物品供給装置
3か月前
富士電機株式会社
通貨識別装置
2か月前
沖電気工業株式会社
媒体処理装置
1か月前
沖電気工業株式会社
媒体処理装置
1か月前
沖電気工業株式会社
施錠開閉装置
2日前
沖電気工業株式会社
紙幣処理装置
1か月前
沖電気工業株式会社
媒体処理装置
1か月前
株式会社ライト
情報処理装置
2か月前
株式会社ライト
情報処理装置
1か月前
株式会社ライト
情報処理装置
1か月前
富士電機株式会社
自動販売機
1か月前
続きを見る
他の特許を見る