TOP
|
特許
|
意匠
|
商標
特許ウォッチ
Twitter
他の特許を見る
公開番号
2025140545
公報種別
公開特許公報(A)
公開日
2025-09-29
出願番号
2024040012
出願日
2024-03-14
発明の名称
サーバ装置、動画配信方法及びプログラム
出願人
大日本印刷株式会社
代理人
弁理士法人鷲田国際特許事務所
主分類
H04N
21/266 20110101AFI20250919BHJP(電気通信技術)
要約
【課題】パーソナライズド動画コンテンツを効率的に顧客に提供するための技術を提供することである。
【解決手段】本開示の一態様は、ユーザ端末からユーザ識別子を含む動画リクエストを取得するリクエスト取得部と、前記ユーザ識別子に対応するユーザの属性情報を取得する属性情報取得部と、前記ユーザ識別子と前記属性情報とを動画生成サーバに送信し、前記属性情報に基づいて前記動画生成サーバによって生成された前記ユーザのパーソナライズド動画に対するリンク情報を取得する動画管理部と、前記ユーザ端末に前記リンク情報を送信するリンク情報送信部と、を有し、前記動画リクエストを取得すると、前記動画管理部は、前記リンク情報が取得済みであるか判定し、前記リンク情報が取得済みである場合、前記生成済みのパーソナライズド動画を前記ユーザ端末に視聴させる、サーバ装置に関する。
【選択図】図1
特許請求の範囲
【請求項1】
ユーザ端末からユーザ識別子を含む動画リクエストを取得するリクエスト取得部と、
前記ユーザ識別子に対応するユーザの属性情報を取得する属性情報取得部と、
前記ユーザ識別子と前記属性情報とを動画生成サーバに送信し、前記属性情報に基づいて前記動画生成サーバによって生成された前記ユーザのパーソナライズド動画に対するリンク情報を取得する動画管理部と、
前記ユーザ端末に前記リンク情報を送信するリンク情報送信部と、
を有し、
前記動画リクエストを取得すると、前記動画管理部は、前記リンク情報が取得済みであるか判定し、前記リンク情報が取得済みである場合、前記生成済みのパーソナライズド動画を前記ユーザ端末に視聴させる、
サーバ装置。
続きを表示(約 1,000 文字)
【請求項2】
前記属性情報取得部は、前記属性情報に関連する属性関連情報を取得し、
前記動画管理部は、前記属性情報と前記属性関連情報とに基づいて前記動画生成サーバに前記パーソナライズド動画を生成させる、請求項1に記載のサーバ装置。
【請求項3】
前記属性関連情報は、前記ユーザの位置に関連する情報を含む、請求項2に記載のサーバ装置。
【請求項4】
前記動画管理部は、前記属性情報に対応する動画素材を用いて前記動画生成サーバに前記パーソナライズド動画を生成させる、請求項1に記載のサーバ装置。
【請求項5】
前記ユーザ識別子は、暗号化されたユーザ識別子である、請求項1に記載のサーバ装置。
【請求項6】
ユーザ端末からユーザ識別子を含む動画リクエストを取得することと、
前記ユーザ識別子に対応するユーザの属性情報を取得することと、
前記ユーザ識別子と前記属性情報とを動画生成サーバに送信することと、
前記属性情報に基づいて前記動画生成サーバによって生成された前記ユーザのパーソナライズド動画に対するリンク情報を取得することと、
前記ユーザ端末に前記リンク情報を送信することと、
を有し、
前記動画リクエストを取得すると、前記リンク情報が取得済みであるか判定し、前記リンク情報が取得済みである場合、前記生成済みのパーソナライズド動画を前記ユーザ端末に視聴させることをさらに含む、
コンピュータが実行する動画配信方法。
【請求項7】
ユーザ端末からユーザ識別子を含む動画リクエストを取得することと、
前記ユーザ識別子に対応するユーザの属性情報を取得することと、
前記ユーザ識別子と前記属性情報とを動画生成サーバに送信することと、
前記属性情報に基づいて前記動画生成サーバによって生成された前記ユーザのパーソナライズド動画に対するリンク情報を取得することと、
前記ユーザ端末に前記リンク情報を送信することと、
を有し、
前記動画リクエストを取得すると、前記リンク情報が取得済みであるか判定し、前記リンク情報が取得済みである場合、前記生成済みのパーソナライズド動画を前記ユーザ端末に視聴させることをさらに含む、
コンピュータに実行させるプログラム。
発明の詳細な説明
【技術分野】
【0001】
本開示は、サーバ装置、動画配信方法及びプログラムに関する。
続きを表示(約 1,400 文字)
【背景技術】
【0002】
情報通信技術の進化によって、従来の郵送によるダイレクトメールの送付だけでなく、顧客等にネットワークを介し様々な広告コンテンツが配信されるようになってきている。このような広告コンテンツとして、顧客の注目度を高めるように動画コンテンツが配信されるようになってきている。
【0003】
顧客の注目度をさらに高めるため、各顧客にパーソナル化された動画コンテンツ、すなわち、パーソナライズド動画コンテンツが注目されてきており、このようなパーソナライズド動画コンテンツを生成するための各種ツールが開発されてきている。
【0004】
一方、このようなパーソナライズド動画コンテンツを生成するため、人工知能(Artificial Intelligence:AI)技術が利用されるようになっている。AI技術を利用して生成されたパーソナライズド動画コンテンツは、配信対象の動画素材と各顧客に対するパーソナライズドコンテンツ素材とを自然な形で合成することができる。
【先行技術文献】
【特許文献】
【0005】
特開2016-127513号公報
【発明の概要】
【発明が解決しようとする課題】
【0006】
視聴したパーソナライズド動画コンテンツに興味や関心をもった顧客は、実際の購買行動に移る前に、パーソナライズド動画コンテンツを再視聴して検討するケースが多い。
【0007】
本開示の課題は、パーソナライズド動画コンテンツを効率的に顧客に提供するための技術を提供することである。
【課題を解決するための手段】
【0008】
本開示の一態様は、ユーザ端末からユーザ識別子を含む動画リクエストを取得するリクエスト取得部と、前記ユーザ識別子に対応するユーザの属性情報を取得する属性情報取得部と、前記ユーザ識別子と前記属性情報とを動画生成サーバに送信し、前記属性情報に基づいて前記動画生成サーバによって生成された前記ユーザのパーソナライズド動画に対するリンク情報を取得する動画管理部と、前記ユーザ端末に前記リンク情報を送信するリンク情報送信部と、を有し、前記動画リクエストを取得すると、前記動画管理部は、前記リンク情報が取得済みであるか判定し、前記リンク情報が取得済みである場合、前記生成済みのパーソナライズド動画を前記ユーザ端末に視聴させる、サーバ装置に関する。
【発明の効果】
【0009】
本開示によると、パーソナライズド動画コンテンツを効率的に顧客に提供するための技術を提供することができる。
【図面の簡単な説明】
【0010】
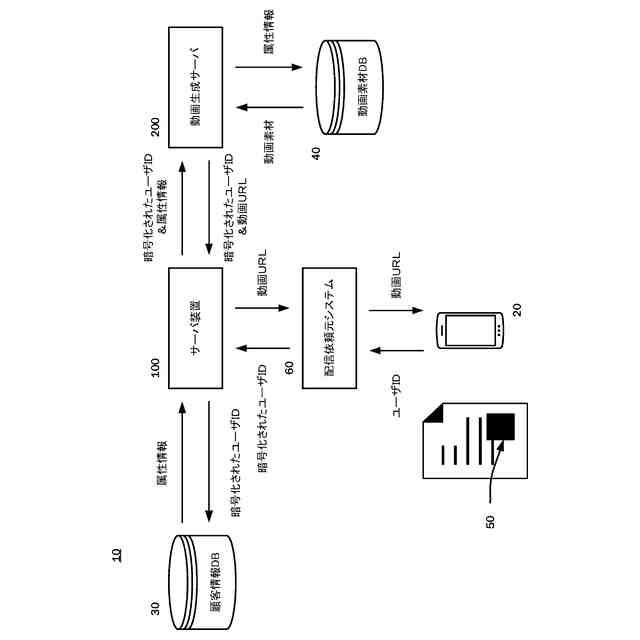
図1は、本開示の一実施例による動画配信システムを示す概略図である。
図2は、本開示の一実施例によるサーバ装置のハードウェア構成を示すブロック図である。
図3は、本開示の一実施例によるサーバ装置の機能構成を示すブロック図である。
図4は、本開示の一実施例による動画管理テーブルを示す図である。
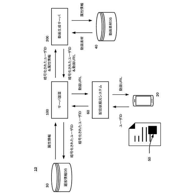
図5は、本開示の他の実施例による動画配信システムを示す概略図である。
図6は、本開示の一実施例による動画配信処理を示すシーケンス図である。
【発明を実施するための形態】
(【0011】以降は省略されています)
この特許をJ-PlatPat(特許庁公式サイト)で参照する
関連特許
大日本印刷株式会社
額縁
25日前
大日本印刷株式会社
移動体
16日前
大日本印刷株式会社
移動体
16日前
大日本印刷株式会社
写真撮影装置
17日前
大日本印刷株式会社
反射型マスク
1か月前
大日本印刷株式会社
発電モジュール
6日前
大日本印刷株式会社
熱転写システム
26日前
大日本印刷株式会社
熱転写システム
26日前
大日本印刷株式会社
パネルの固定方法
3日前
大日本印刷株式会社
積層体及び包装容器
4日前
大日本印刷株式会社
積層体および包装容器
6日前
大日本印刷株式会社
積層体および包装容器
6日前
大日本印刷株式会社
積層体および包装容器
6日前
大日本印刷株式会社
積層体および包装容器
6日前
大日本印刷株式会社
包装装置および包装方法
18日前
大日本印刷株式会社
レンズアレイ及び表示装置
26日前
大日本印刷株式会社
シール型熱転写受像シート
24日前
大日本印刷株式会社
シール型熱転写受像シート
24日前
大日本印刷株式会社
シール型熱転写受像シート
24日前
大日本印刷株式会社
情報処理装置及びプログラム
6日前
大日本印刷株式会社
撮影システム及び画像提供方法
1か月前
大日本印刷株式会社
リードフレーム及びその製造方法
18日前
大日本印刷株式会社
リードフレーム及びその製造方法
18日前
大日本印刷株式会社
熱転写シートおよび中間転写媒体
24日前
大日本印刷株式会社
ポリエステルフィルム及び積層体
16日前
大日本印刷株式会社
再封機能を有する蓋付き紙カップ
1か月前
大日本印刷株式会社
クランプ装置及びウェブ搬送装置
6日前
大日本印刷株式会社
類似文書検索装置及びプログラム
25日前
大日本印刷株式会社
作業装置、作業システム、作業方法
2日前
大日本印刷株式会社
ウェブ搬送装置及びウェブ搬送方法
2日前
大日本印刷株式会社
光学部材、ヘッドマウントディスプレイ
25日前
大日本印刷株式会社
サーバ装置、動画配信方法及びプログラム
6日前
大日本印刷株式会社
電子部品包装用カバーテープおよび包装体
1か月前
大日本印刷株式会社
バリア性フィルム、積層体および包装容器
6日前
大日本印刷株式会社
バリア性フィルム、積層体および包装容器
6日前
大日本印刷株式会社
バリア性フィルム、積層体および包装容器
6日前
続きを見る
他の特許を見る