TOP
|
特許
|
意匠
|
商標
特許ウォッチ
Twitter
他の特許を見る
10個以上の画像は省略されています。
公開番号
2025149568
公報種別
公開特許公報(A)
公開日
2025-10-08
出願番号
2024050297
出願日
2024-03-26
発明の名称
校正方法、測定装置、及びインダクタの検査方法
出願人
日置電機株式会社
,
株式会社村田製作所
代理人
弁理士法人後藤特許事務所
主分類
G01R
27/28 20060101AFI20251001BHJP(測定;試験)
要約
【課題】測定装置の測定誤差を低減させる。
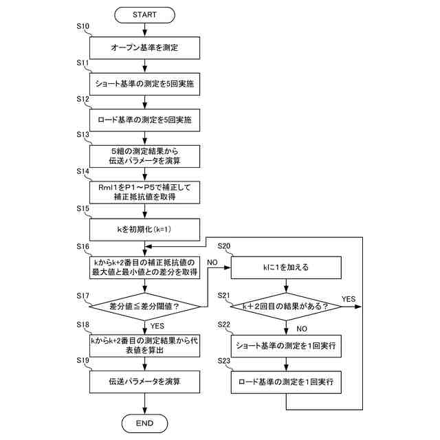
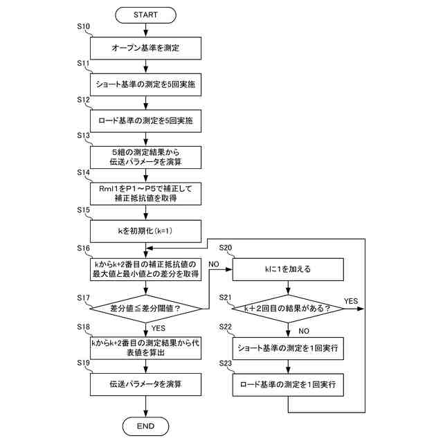
【解決手段】校正方法は、接触子40が他の物体に接触していないオープン状態において電気的特性を測定してオープン基準測定値Rmoを取得するオープン基準測定工程と、電気的特性が既知の基準物に対して接触子40を接触させて基準物の電気的特性を測定する基準測定工程と、オープン基準測定値Rmo、基準物が有する既知の電気的特性である基準値、及び基準物の電気的特性を測定した結果である測定基準値に基づき、測定部20から対象物までの伝送経路の特性を表す伝送パラメータを演算する演算工程と、を含み、基準測定工程は、基準物に対する接触子40の接触と離間とを繰り返して複数回実行され、演算工程では、測定された複数の測定基準値から測定基準値の代表値を取得し、測定基準値の代表値に基づいて伝送パラメータを演算する。
【選択図】図4
特許請求の範囲
【請求項1】
対象物に接触する接触子と、前記対象物に印加される電気信号に基づいて前記対象物の電気的特性を測定する測定部と、を備える測定装置の校正方法であって、
前記接触子が他の物体に接触していないオープン状態において前記電気的特性を測定してオープン基準測定値を取得するオープン基準測定工程と、
前記電気的特性が既知の基準物に対して前記接触子を接触させて前記基準物の前記電気的特性を測定する基準測定工程と、
前記オープン基準測定値、前記基準物が有する既知の前記電気的特性である基準値、及び前記基準物の前記電気的特性を測定した結果である測定基準値に基づき、前記測定部から前記対象物までの伝送経路の特性を表す伝送パラメータを演算する演算工程と、を含み、
前記基準測定工程は、前記基準物に対する前記接触子の接触と離間とを繰り返して複数回実行され、
前記演算工程では、
測定された複数の前記測定基準値から前記測定基準値の代表値を取得し、
前記測定基準値の前記代表値に基づいて前記伝送パラメータを演算する、
校正方法。
続きを表示(約 1,900 文字)
【請求項2】
請求項1に記載の校正方法であって、
前記代表値は、測定された複数の前記測定基準値の平均値であり、
前記演算工程では、複数の前記測定基準値の最大値と最小値との差分値を取得し、前記差分値と予め定められる判定閾値とを比較した結果に応じて前記伝送パラメータを演算し、
前記基準測定工程は、前記演算工程における前記測定基準値の前記差分値と前記判定閾値との比較結果に基づいて再び実行される、
校正方法。
【請求項3】
請求項2に記載の校正方法であって、
前記測定基準値の最大値と最小値との前記差分値とメンテナンス閾値とを比較し、前記差分値が前記メンテナンス閾値以上となった回数が所定回数に達するとメンテナンスを促す警告を発報するメンテナンス警告工程をさらに備える、
校正方法。
【請求項4】
請求項1に記載の校正方法であって、
前記代表値は、測定された複数の前記測定基準値の平均値であり、
前記演算工程では、
前記基準測定工程が二以上の所定回数実行された後、前記基準測定工程が一度実行されるたびに新たに取得した前記測定基準値を含む前記平均値を算出し、
新たに前記基準測定工程を実行したことに伴う前記測定基準値の前記平均値の変化と予め定められる判定閾値とを比較した結果に応じて前記伝送パラメータを演算し、
前記基準測定工程は、前記演算工程における前記測定基準値の前記平均値の変化と予め定められる前記判定閾値との比較結果に基づいて再び実行される、
校正方法。
【請求項5】
対象物に接触する接触子と、
前記接触子を前記対象物に接触させて前記接触子を通じて前記対象物の電気的特性を測定する測定部と、
前記測定部による測定結果を処理する処理部と、を備え、
前記処理部は、
前記接触子が他の物体に接触していないオープン状態において前記電気的特性を測定してオープン基準測定値を取得するステップと、
前記電気的特性が既知の基準物に対して前記接触子を接触させて前記基準物の前記電気的特性を測定して測定基準値を取得するステップと、
前記オープン基準測定値、前記基準物が有する既知の前記電気的特性である基準値、及び前記基準物の前記電気的特性を測定した前記測定基準値に基づき、前記測定部と前記対象物との間の伝送経路の特性を表す伝送パラメータを演算するステップと、を実行可能に構成され、
前記測定基準値を取得するステップは、前記接触子を前記基準物に繰り返し接触させて複数回実行され、
前記伝送パラメータを演算するステップでは、複数の前記測定基準値から前記測定基準値の代表値を取得し、前記測定基準値の前記代表値に基づいて前記伝送パラメータを演算する、
測定装置。
【請求項6】
対象物であるインダクタに接触する接触子と、前記インダクタに印加される電気信号に基づいて前記インダクタの電気的特性を測定する測定部と、を有する測定装置によって前記インダクタを検査する検査方法であって、
前記測定装置の前記接触子と前記測定部との間の伝送経路の特性を表す伝送パラメータを取得し、前記伝送パラメータに基づいて前記測定装置を校正する校正工程と、
前記接触子を前記インダクタに接触させて前記電気的特性を測定し、前記インダクタの良否を検査する検査工程と、を含み、
前記校正工程は、
前記接触子が他の物体に接触していないオープン状態において前記電気的特性を測定してオープン基準測定値を取得するオープン基準測定工程と、
前記電気的特性が既知の基準物に対して前記接触子を接触させて前記基準物の前記電気的特性を測定して測定基準値を取得する基準測定工程と、
前記オープン基準測定値、前記基準物が有する既知の前記電気的特性である基準値、及び前記基準物の前記電気的特性を測定した前記測定基準値に基づき、前記測定部から前記接触子までの伝送経路の特性を表す前記伝送パラメータを演算する演算工程と、を含み、
前記基準測定工程は、前記接触子を繰り返し接触させて複数回実行され、
前記演算工程では、
複数回測定された前記測定基準値から前記測定基準値の代表値を取得し、
前記測定基準値の前記代表値に基づいて前記伝送パラメータを演算する、
検査方法。
発明の詳細な説明
【技術分野】
【0001】
本発明は、校正方法、測定装置、及びインダクタの検査方法に関するものである。
続きを表示(約 1,800 文字)
【背景技術】
【0002】
特許文献1には、ベクトルネットワークアナライザの校正方法が開示されている。この校正方法では、ベクトルネットワークアナライザ(VNA)から測定ケーブルの端部までの部分についてのSパラメータを測定ケーブル毎に算出する。そして、VNAから測定ケーブルの端部までの部分についてのSパラメータと、接続具についてのショート、オープン及びロードの特性データとに基づいて、接続具の各々について、複数のSパラメータを算出し、算出された複数のSパラメータの中から測定周波数に対応する一つのSパラメータを選択する。
【先行技術文献】
【特許文献】
【0003】
特開2006-317156号公報
【発明の概要】
【発明が解決しようとする課題】
【0004】
電気的特性を測定する測定装置では、電気信号が入出力される測定部から測定の対象物までの電気信号の伝送経路の伝送特性によって、測定誤差が生じることがある。このため、測定装置では、特許文献1に開示されるように、伝送経路の損失による測定誤差の影響を排除するために、対象物を測定する前に測定装置の校正が行われる。
【0005】
測定装置の校正方法としては、電気的特性が既知の基準物(基準器)の電気的特性を測定装置によって測定することで伝送経路の特性を表す伝送パラメータを取得し、当該伝送パラメータを用いて校正する方法が知られている。
【0006】
このような校正方法では、測定装置の接触子を基準物に接触させて測定した電気的特性によって伝送パラメータを取得するため、基準物に対する接触子の接触状態(接触抵抗)が異なると、これに起因して伝送パラメータの値が異なり測定誤差が生じる。
【0007】
通常、測定装置の校正による測定誤差の影響は小さいため、従来は、校正に起因する測定誤差の影響はあまり考慮されていなかった。一方、近年では、電子部品の高機能化、小型化等の要求に伴い、電子部品に対して電気的特性の高精度化が要求されている。このため、測定装置の校正における測定誤差を低減することが求められる。
【0008】
本発明は、上記の問題点に鑑みてなされたものであり、測定誤差を低減させる測定装置の校正方法、測定装置、及びインダクタの検査方法を提供することを目的とする。
【課題を解決するための手段】
【0009】
本発明のある態様によれば、測定装置の校正方法は、接触子が他の物体に接触していないオープン状態において電気的特性を測定してオープン基準測定値を取得するオープン基準測定工程と、電気的特性が既知の基準物に対して接触子を接触させて基準物の電気的特性を測定して基準測定値を取得する基準測定工程と、オープン基準測定値、基準物が有する既知の電気的特性である基準値、及び基準物の電気的特性を測定した結果である基準測定値に基づき、測定部から対象物までの伝送経路の特性を表す伝送パラメータを演算する演算工程と、を含み、基準測定工程は、接触子を繰り返し接触させて複数回実行され、演算工程では、測定された複数の測定基準値から測定基準値の代表値を取得し、測定基準値の代表値に基づいて伝送パラメータを演算する。
【0010】
また、本発明のある態様によれば、測定装置は、対象物に接触する接触子と、接触子を対象物に接触させて接触子を通じて対象物の電気的特性を測定する測定部と、測定部による測定結果を処理する処理部と、を備え、処理部は、接触子が他の物体に接触していないオープン状態において電気的特性を測定してオープン基準測定値を取得するステップと、電気的特性が既知の基準物に対して接触子を接触させて基準物の電気的特性を測定して測定基準値を取得するステップと、オープン基準測定値、基準物が有する既知の電気的特性である基準値、及び基準物の電気的特性を測定した測定基準値に基づき、測定部と対象物との間の伝送経路の特性を表す伝送パラメータを演算するステップと、を実行可能に構成され、測定基準値を取得するステップは、接触子を基準物に繰り返し接触させて複数回実行され、伝送パラメータを演算するステップでは、複数の測定基準値から測定基準値の代表値を取得し、測定基準値の代表値に基づいて伝送パラメータを演算する。
(【0011】以降は省略されています)
この特許をJ-PlatPat(特許庁公式サイト)で参照する
関連特許
日置電機株式会社
測定装置
2か月前
日置電機株式会社
測定装置および標準抵抗器
1か月前
日置電機株式会社
測定装置、測定方法及びプログラム
1か月前
日置電機株式会社
校正方法、測定装置、及びインダクタの検査方法
1日前
日置電機株式会社
測定装置、測定方法、及びプログラム
1か月前
個人
計量スプーン
1か月前
個人
メジャー文具
2日前
日本精機株式会社
位置検出装置
8日前
日本精機株式会社
位置検出装置
8日前
ユニパルス株式会社
ロードセル
1日前
日本精機株式会社
位置検出装置
8日前
大和製衡株式会社
組合せ秤
13日前
大和製衡株式会社
組合せ秤
13日前
アズビル株式会社
圧力センサ
7日前
エイブリック株式会社
磁気センサ回路
7日前
アンリツ株式会社
分光器
1か月前
株式会社チノー
放射光測温装置
1日前
アンリツ株式会社
分光器
1か月前
トヨタ自動車株式会社
表示装置
22日前
トヨタ自動車株式会社
検査装置
10日前
株式会社ヨコオ
ソケット
1日前
ダイハツ工業株式会社
測定用具
1か月前
株式会社東芝
センサ
13日前
株式会社ユーシン
操作検出装置
10日前
株式会社東芝
センサ
13日前
TDK株式会社
ガスセンサ
6日前
株式会社ヨコオ
コンタクタ
1か月前
TDK株式会社
ガスセンサ
1日前
株式会社ナリス化粧品
角層細胞採取用具
20日前
東レエンジニアリング株式会社
計量装置
10日前
TDK株式会社
ガスセンサ
7日前
TDK株式会社
磁気センサ
1か月前
個人
粘塑性を用いた有限要素法の定式化
22日前
株式会社東芝
重量測定装置
6日前
大同特殊鋼株式会社
超音波探傷方法
1か月前
中国電力株式会社
異常箇所検出装置
21日前
続きを見る
他の特許を見る