TOP
|
特許
|
意匠
|
商標
特許ウォッチ
Twitter
他の特許を見る
公開番号
2025149662
公報種別
公開特許公報(A)
公開日
2025-10-08
出願番号
2024050433
出願日
2024-03-26
発明の名称
半田ごて
出願人
太洋電機産業株式会社
代理人
個人
,
個人
,
個人
主分類
B23K
3/03 20060101AFI20251001BHJP(工作機械;他に分類されない金属加工)
要約
【課題】従来技術と比較してヒータ線の断線をより抑制することができる半田ごてを提供する。
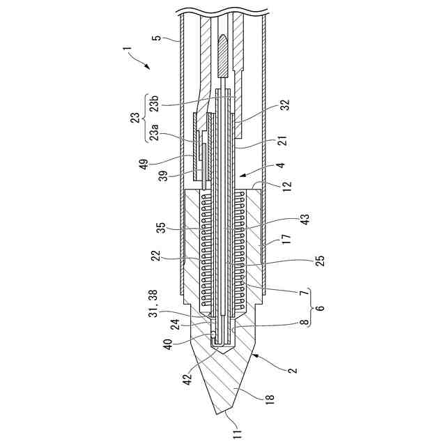
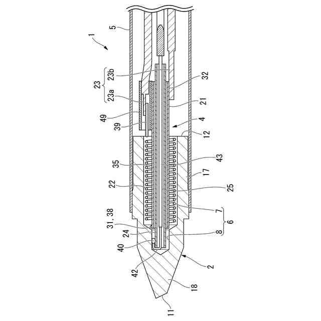
【解決手段】半田ごて1は、こて先2と、導電性の芯材21と、ヒータ線22と、一対のリード線23と、を備える。こて先2は、先端11が半田を溶融可能にされ、かつ後端12側にヒータ嵌挿部7が形成されている。芯材21は、こて先2のヒータ嵌挿部7に嵌挿される。ヒータ線22は、芯材21の周囲に配置されるコイル部35を有する。一対のリード線23は、ヒータ線22に電力を供給する。芯材21の先端にヒータ線22の先端側の一端部38が接続され、かつヒータ線22の他端部39が一方のリード線23aに接続される。芯材21の後端には他方のリード線23bが接続される。
【選択図】図1
特許請求の範囲
【請求項1】
先端が半田を溶融可能にされ、かつ後端側にヒータ嵌挿部が形成されたこて先と、
前記こて先の前記ヒータ嵌挿部に嵌挿される導電性の芯材と、
前記芯材の周囲に配置されるコイル部を有するヒータ線と、
前記ヒータ線に電力を供給する一対のリード線と、
を備え、
前記芯材の先端に前記ヒータ線の先端側の一端部が接続され、かつ前記ヒータ線の他端部が一方の前記リード線に接続されており、
前記芯材の後端に他方の前記リード線が接続されることを特徴とする半田ごて。
続きを表示(約 370 文字)
【請求項2】
前記芯材は筒状に形成されており、
前記芯材の内側に熱電対が挿通されていることを特徴とする請求項1に記載の半田ごて。
【請求項3】
前記芯材の材料はステンレスであることを特徴とする請求項1又は請求項2に記載の半田ごて。
【請求項4】
前記芯材の先端と前記ヒータ線の前記一端部とが溶接されることにより互いに接続される第一溶接部と、
前記芯材の後端と前記他方のリード線とが溶接されることにより互いに接続される第二溶接部と、
を有することを特徴とする請求項1又は請求項2に記載の半田ごて。
【請求項5】
前記ヒータ嵌挿部に挿入される各部品と、前記ヒータ嵌挿部と、の隙間を埋めるように絶縁部材が設けられることを特徴とする請求項1又は請求項2に記載の半田ごて。
発明の詳細な説明
【技術分野】
【0001】
本発明は、半田ごてに関するものである。
続きを表示(約 1,800 文字)
【背景技術】
【0002】
従来、熱伝導性を有する材料を円錐形状に成型させてこて先とし、そのこて先にヒータを内蔵させた半田ごての構成が知られている。これらの半田ごてでは、こて先に内蔵されたヒータ線等の断線を抑制するための技術が種々提案されている。
【0003】
例えば特許文献1には、こて先にヒータ嵌挿部及び感温器嵌挿部が形成されており、ヒータ嵌挿部にはコイル状に形成されるとともに表面が絶縁酸化膜で被覆されたヒータ線が嵌挿され、感温器嵌挿部には筒体と温度センサとが嵌挿される構成が開示されている。
特許文献1に記載の技術によれば、ヒータ線の表面は絶縁酸化膜で被覆されているので、コイル部におけるヒータ線同士の間隔を詰めて配置した場合であっても電気ショートや断線を抑制できる、とされている。
【先行技術文献】
【特許文献】
【0004】
特許第4429879号公報
【発明の概要】
【発明が解決しようとする課題】
【0005】
しかしながら、特許文献1に記載の技術にあっては、図3に示すように、コイル部135の先端側と接続されるヒータ線122がコイル部135の内側を通って基端側まで延びている。このようにヒータ線122のうちコイル部135の内側を通る部分150は、周囲からの熱及び自身の発熱により高温になり易く、コイル部135と比較して断線が生じ易くなるおそれがあった。したがって、従来技術にあっては、ヒータ線の断線を抑制する点において改善の余地があった。
【0006】
そこで、本発明は、従来技術と比較してヒータ線の断線をより抑制することができる半田ごてを提供することを目的とする。
【課題を解決するための手段】
【0007】
上記目的を達成するために、請求項1に係る半田ごての発明は、先端が半田を溶融可能にされ、かつ後端側にヒータ嵌挿部が形成されたこて先と、前記こて先の前記ヒータ嵌挿部に嵌挿される導電性の芯材と、前記芯材の周囲に配置されるコイル部を有するヒータ線と、前記ヒータ線に電力を供給する一対のリード線と、を備え、前記芯材の先端に前記ヒータ線の先端側の一端部が接続され、かつ前記ヒータ線の他端部が一方の前記リード線に接続されており、前記芯材の後端に他方の前記リード線が接続されることを特徴とする。
【0008】
この発明に係る半田ごてにあっては、ヒータ線の先端側の一端部と芯材の先端側の端部とが接続され、かつ他方のリード線と芯材の基端側の端部とが接続される。これにより、芯材を介してヒータ線のコイル部に電力を供給できる。すなわち、従来技術におけるコイル部の内側を通るヒータ線を芯材に置き換えることができる。コイル部の内側を通るヒータ線を省略できるので、コイル部の内側にヒータ線を配設する従来技術と比較して、ヒータ線の断線を発生させ難くすることができる。また、芯材の断面積をヒータ線の断面積よりも大きく設定することにより、芯材の体積抵抗がヒータ線の体積抵抗と比較して小さくなるので、芯材自身が発熱することを抑制できる。よって、熱がこもることによる製品寿命の低下を抑制し、ヒータ線の断線をより一層抑制できる。
したがって、従来技術と比較してヒータ線の断線をより抑制することができる半田ごてを提供できる。
【0009】
また、芯材自身は発熱し難いので、ヒータ線とともにこて先に内蔵される温度センサ等の部品の劣化を抑制できる。さらに、ヒータ線の発熱量のほぼ全てがコイル部で消費されるので、従来技術のようにヒータ線の一部がコイル部の内側を通る場合と比較して、こて先の加熱効率を向上させることができる。また、ヒータ線の断線が生じにくくなるので、従来よりもヒータ線の出力を高めることができる。例えば、従来技術におけるヒータ線の発熱量である150W程度に対して、本発明の半田ごてによれば、ヒータ線の発熱量を250Wから400W程度まで上げることができる。これにより加熱に係る時間が短くなり、作業時間を短縮できるので、作業性を向上できる。また、半田ごての汎用性を高めることができる。
【0010】
請求項2に係る半田ごての発明は、請求項1に記載の半田ごてにおいて、前記芯材は筒状に形成されており、前記芯材の内側に熱電対が挿通されていることを特徴とする。
(【0011】以降は省略されています)
この特許をJ-PlatPat(特許庁公式サイト)で参照する
関連特許
太洋電機産業株式会社
半田ごて
10日前
個人
フライス盤
1か月前
麗豊実業股フン有限公司
ラクトバチルス・パラカセイNB23菌株及びそれを筋肉量の増加や抗メタボリック症候群に用いる用途
5か月前
株式会社北川鉄工所
回転装置
4か月前
日東精工株式会社
ねじ締め機
4か月前
日東精工株式会社
ねじ締め機
9日前
日東精工株式会社
ねじ締め機
1か月前
日東精工株式会社
ねじ締め機
1か月前
株式会社ダイヘン
溶接電源装置
2か月前
日東精工株式会社
ねじ締め装置
29日前
株式会社ダイヘン
溶接電源装置
2か月前
日東精工株式会社
ねじ締め装置
3か月前
株式会社ダイヘン
溶接電源装置
2か月前
株式会社FUJI
工作機械
15日前
株式会社FUJI
工作機械
3か月前
株式会社FUJI
工作機械
3か月前
個人
切削油供給装置
1か月前
株式会社FUJI
工作機械
8日前
個人
型枠製造装置のフレーム
19日前
キヤノン電子株式会社
加工システム
2か月前
株式会社アンド
半田付け方法
1か月前
中国電力株式会社
養生シート
2日前
株式会社ツガミ
工作機械
1か月前
株式会社トヨコー
被膜除去方法
4か月前
村田機械株式会社
レーザ加工機
4か月前
大見工業株式会社
ドリル
2か月前
村田機械株式会社
レーザ加工機
4か月前
ビアメカニクス株式会社
レーザ加工装置
9日前
トヨタ自動車株式会社
溶接ヘッド
4か月前
トヨタ自動車株式会社
溶接ヘッド
4か月前
株式会社不二越
ブローチ盤
2か月前
株式会社ダイヘン
溶接装置
3か月前
トヨタ自動車株式会社
溶接マスク
3か月前
株式会社不二越
ブローチ盤
29日前
株式会社ダイヘン
溶接装置
3か月前
住友重機械工業株式会社
加工装置
3か月前
続きを見る
他の特許を見る