TOP
|
特許
|
意匠
|
商標
特許ウォッチ
Twitter
他の特許を見る
公開番号
2025149992
公報種別
公開特許公報(A)
公開日
2025-10-09
出願番号
2024050614
出願日
2024-03-27
発明の名称
換気制御装置及び換気制御方法
出願人
アズビル株式会社
代理人
弁理士法人山王内外特許事務所
主分類
F24F
7/007 20060101AFI20251002BHJP(加熱;レンジ;換気)
要約
【課題】室内空間のTVOC濃度から、室内空間を区画形成する建材等に由来するVOC濃度を切り分けることができる換気制御装置を提供する。
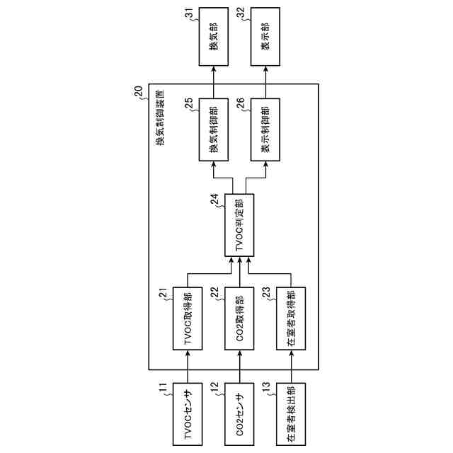
【解決手段】換気制御装置20は、TVOC濃度を取得するTVOC取得部21と、CO2濃度を取得するCO2取得部22と、在室者の存在有無に関する在室者情報を取得する在室者取得部23と、TVOC濃度、CO2濃度、及び、在室者情報に基づいて、取得したTVOC濃度に、室内空間を区画形成する建材等に由来するVOCの濃度が含まれているか否かを判定し、その判定結果に基づいて、換気制御部25及び表示制御部26を制御するTVOC判定部24とを備える。
【選択図】図1
特許請求の範囲
【請求項1】
室内空間のTVOC濃度を測定するTVOCセンサから、TVOC濃度を取得するTVOC取得部と、
前記室内空間のCO2濃度を測定するCO2センサから、CO2濃度を取得するCO2取得部と、
前記室内空間における在室者の存在有無を検出する在室者検出部から、在室者の存在有無に関する在室者情報を取得する在室者取得部と、
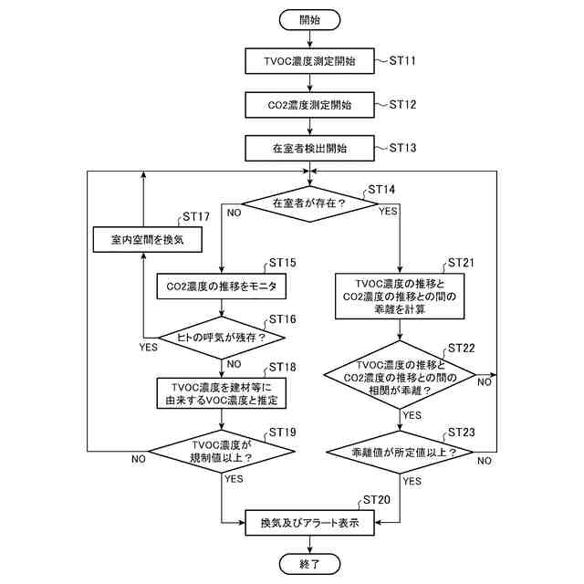
前記TVOC取得部によって取得されたTVOC濃度、前記CO2取得部によって取得されたCO2濃度、及び、前記在室者取得部によって取得された在室者情報に基づいて、取得したTVOC濃度に、前記室内空間を区画形成する建材に由来するVOCの濃度が含まれているか否かを判定し、その判定結果に基づいて、前記室内空間を換気する換気部を制御する換気制御部と、アラートを表示する表示部を制御する表示制御部とのうち、少なくとも前記換気制御部を動作させるTVOC判定部とを備える
ことを特徴とする換気制御装置。
続きを表示(約 1,000 文字)
【請求項2】
前記TVOC判定部は、
前記室内空間に在室者が存在しない場合、CO2濃度の推移に基づいて、前記室内空間内にヒトの呼気が残存しているか否かを判定し、
前記室内空間内にヒトの呼気が残存していると判定すると、前記換気制御部に換気制御信号を送信し、
前記室内空間内にヒトの呼気が残存していないと判定すると、取得したTVOC濃度を、前記室内空間を区画形成する建材に由来するVOCの濃度と推定する
ことを特徴とする請求項1記載の換気制御装置。
【請求項3】
前記TVOC判定部は、
取得したTVOC濃度が予め設定された規制値以上である場合、前記換気制御部に換気制御信号を送信するとともに、前記表示制御部に表示制御信号を送信する
ことを特徴とする請求項2記載の換気制御装置。
【請求項4】
前記TVOC判定部は、
前記室内空間に在室者が存在する場合、CO2濃度の推移と、TVOC濃度の推移とに基づいて、TVOC濃度にVOC濃度が含まれているか否かを判定する
ことを特徴とする請求項1から請求項3のうちのいずれか1項記載の換気制御装置。
【請求項5】
前記TVOC判定部は、
CO2濃度とTVOC濃度との間の乖離値が所定値以上である場合、TVOC濃度にVOC濃度が含まれていると判定する
ことを特徴とする請求項4記載の換気制御装置。
【請求項6】
TVOC取得部が、室内空間のTVOC濃度を測定するTVOCセンサから、TVOC濃度を取得するステップと、
CO2取得部が、前記室内空間のCO2濃度を測定するCO2センサから、CO2濃度を取得するステップと、
在室者取得部が、前記室内空間における在室者の存在有無を検出する在室者検出部から、在室者の存在有無に関する在室者情報を取得するステップと、
TVOC判定部が、前記TVOC取得部によって取得されたTVOC濃度、前記CO2取得部によって取得されたCO2濃度、及び、前記在室者取得部によって取得された在室者情報に基づいて、取得したTVOC濃度に、前記室内空間を区画形成する建材に由来するVOCの濃度が含まれているか否かを判定し、その判定結果に基づいて、前記室内空間を換気する換気部を制御する換気制御部と、アラートを表示する表示部を制御する表示制御部とのうち、少なくとも前記換気制御部を動作させるステップとを備える
ことを特徴とする換気制御方法。
発明の詳細な説明
【技術分野】
【0001】
本開示は、換気制御装置及び換気制御方法に関する。
続きを表示(約 1,600 文字)
【背景技術】
【0002】
従来、室内空間の空気質を良化するための技術が提供されている。例えば、特許文献1には、室内空間の空気中に含まれるTVOC(Total Volatile Organic Compounds:総揮発性有機化合物)の濃度に基づいて、当該室内空間を換気する換気制御技術が、開示されている。
【先行技術文献】
【特許文献】
【0003】
特開2022-85714号公報
【発明の概要】
【発明が解決しようとする課題】
【0004】
ここで、TVOCは、ヒトの呼気に由来するVOCと、室内空間を区画形成する建材等に由来するVOCとから構成されている。室内空間を区画形成する建材等に由来するVOCは、人体に悪影響を与えるおそれがある。
【0005】
特許文献1に開示された換気制御技術は、TVOC濃度を検出するだけであって、ヒトの呼気に由来するVOCと、室内空間を区画形成する建材等に由来するVOCとを、区別するものではない。このため、特許文献1に開示された換気制御技術は、室内空間のTVOC濃度から、当該室内空間を区画形成する建材等に由来するVOC濃度を切り分けることができない。
【0006】
本開示は、上記のような課題を解決するためになされたもので、室内空間のTVOC濃度から、室内空間を区画形成する建材等に由来するVOC濃度を切り分けることができる換気制御装置を提供することを目的とする。
【課題を解決するための手段】
【0007】
本開示に係る換気制御装置は、室内空間のTVOC濃度を測定するTVOCセンサから、TVOC濃度を取得するTVOC取得部と、室内空間のCO2濃度を測定するCO2センサから、CO2濃度を取得するCO2取得部と、室内空間における在室者の存在有無を検出する在室者検出部から、在室者の存在有無に関する在室者情報を取得する在室者取得部と、TVOC取得部によって取得されたTVOC濃度、CO2取得部によって取得されたCO2濃度、及び、在室者取得部によって取得された在室者情報に基づいて、取得したTVOC濃度に、室内空間を区画形成する建材に由来するVOCの濃度が含まれているか否かを判定し、その判定結果に基づいて、室内空間を換気する換気部を制御する換気制御部と、アラートを表示する表示部を制御する表示制御部とのうち、少なくとも換気制御部を動作させるTVOC判定部とを備えるものである。
【発明の効果】
【0008】
本開示によれば、室内空間のTVOC濃度から、室内空間を区画形成する建材等に由来するVOC濃度を切り分けることができる
【図面の簡単な説明】
【0009】
実施の形態1に係る換気制御装置が適用される換気システムの構成を示すブロックである。
在室者が室内空間から存在しなくなってからのCO2濃度の推移を示す図である。
図3Aから図3Cは、室内空間となるオフィス1からオフィス3における各測定項目間の相関係数を示す図である。
図4Aから図4Cは、室内空間となるオフィス1からオフィス3における各測定項目のクラスター解析結果を示す図である。
CO2濃度とTVOC濃度とが連動する様子を示す図である。図5Aは、CO2濃度及びTVOC濃度の時間推移を示す図である。図5Bは、標準化したCO2濃度とTVOC濃度の差の二乗に対する時間微分の推移を示す図である。
実施の形態1に係る換気制御方法を示すフローチャートである。
【発明を実施するための形態】
【0010】
以下、本開示の実施の形態について図面を参照しながら詳細に説明する。
(【0011】以降は省略されています)
この特許をJ-PlatPat(特許庁公式サイト)で参照する
関連特許
アズビル株式会社
回転弁
16日前
アズビル株式会社
圧力センサ
9日前
アズビル株式会社
無線式開度計
16日前
アズビル株式会社
動粘度測定システム
10日前
アズビル株式会社
熱式流量計および補正方法
9日前
アズビル株式会社
情報処理システムおよび方法
10日前
アズビル株式会社
処理装置及び物理量検出装置
16日前
アズビル株式会社
流量演算装置及び超音波流量計
1か月前
アズビル株式会社
換気制御装置及び換気制御方法
2日前
アズビル株式会社
処理装置、処理方法、及び、プログラム
9日前
アズビル株式会社
分割装置、分割方法、および分割プログラム
2日前
アズビル株式会社
管理装置、管理方法、および管理プログラム
23日前
アズビル株式会社
検索装置、検索方法、および検索プログラム
2日前
アズビル株式会社
情報処理装置、情報処理方法および情報処理プログラム
9日前
アズビル株式会社
電極材料選定装置および方法ならびに電極選定支援装置
8日前
アズビル株式会社
通信システム、受信装置、送信装置及び電波環境改善方法
12日前
アズビル株式会社
情報処理装置、情報処理システム、情報処理方法および情報処理プログラム
12日前
株式会社コロナ
空調装置
12日前
株式会社コロナ
空調装置
1か月前
株式会社コロナ
空調装置
2日前
株式会社コロナ
加湿装置
22日前
個人
住宅換気空調システム
1か月前
株式会社コロナ
空気調和機
1か月前
株式会社コロナ
風呂給湯機
1か月前
株式会社コロナ
貯湯式給湯機
8日前
株式会社コロナ
直圧式給湯機
1か月前
株式会社コロナ
貯湯式給湯機
16日前
株式会社コロナ
暖房システム
12日前
株式会社コロナ
輻射式冷房装置
1か月前
ホーコス株式会社
換気扇取付枠
1か月前
個人
籾殻(そば殻)燃焼ストーブ
1か月前
株式会社ツインバード
加熱調理器
22日前
株式会社ノーリツ
給湯装置
1日前
株式会社パロマ
湯沸器
12日前
株式会社コロナ
壁掛式石油給湯装置
1か月前
大阪瓦斯株式会社
加熱調理器
1か月前
続きを見る
他の特許を見る