TOP
|
特許
|
意匠
|
商標
特許ウォッチ
Twitter
他の特許を見る
10個以上の画像は省略されています。
公開番号
2025150009
公報種別
公開特許公報(A)
公開日
2025-10-09
出願番号
2024050644
出願日
2024-03-27
発明の名称
検索装置、検索方法、および検索プログラム
出願人
アズビル株式会社
代理人
弁理士法人酒井国際特許事務所
主分類
G06F
16/907 20190101AFI20251002BHJP(計算;計数)
要約
【課題】検索対象のデータの検索性能の向上を可能とする。
【解決手段】検索装置100は、データの検索タスクに関する情報に基づいて、データの検索タスクに応じた所定の次元数のベクトルを特定する。検索装置100は、特定された所定の次元数のベクトルに基づき、検索対象のデータを検索する。
【選択図】図3
特許請求の範囲
【請求項1】
データの検索タスクに関する情報に基づいて、前記データの検索タスクに応じた所定の次元数のベクトルを特定する特定部と、
前記特定部により特定された前記所定の次元数のベクトルに基づき、検索対象のデータを検索する検索部と、
を備えることを特徴とする検索装置。
続きを表示(約 1,400 文字)
【請求項2】
前記特定部は、
前記データの検索タスクに関する情報に基づいて特定される前記所定の次元数のベクトルを識別する情報を記憶部から取得して、
前記検索部は、
前記特定部により取得された前記所定の次元数のベクトルを識別する情報と、予め設定された検索用の所定の次元数のベクトルを識別する情報とを突合し、
突合された前記検索用の所定の次元数のベクトルを識別する情報に対応付けられた検索対象のデータを検索する、
ことを特徴とする請求項1に記載の検索装置。
【請求項3】
前記特定部は、
入力される前記データの検索タスクに関する情報に含まれる前記データの検索タスクを識別する情報を用いて、予めデータの検索タスクを識別する情報と対応付けて記憶部に格納された対象の前記所定の次元数のベクトルを識別する情報を特定して、
特定された対象の前記所定の次元数のベクトルを識別する情報を、前記記憶部から取得する、
ことを特徴とする請求項1または2に記載の検索装置。
【請求項4】
前記特定部は、
データの検索タスクに関する情報を入力として、前記データの検索タスクに要求されるデータの検索性能に関する情報を出力するように学習された学習モデルに基づき、前記データの検索性能に関する情報を生成して、
生成された前記データの検索性能に関する情報を用いて、予めデータの検索性能に関する情報に対応付けて記憶部に格納された対象の前記所定の次元数のベクトルを識別する情報を特定して、
特定された対象の前記所定の次元数のベクトルを識別する情報を、前記記憶部から取得する、
ことを特徴とする請求項1または2に記載の検索装置。
【請求項5】
検索対象のデータに含まれる自然言語文を、セマンティックセグメンテーションに基づき分割してベクトル化して、
前記分割してベクトル化された前記検索対象のデータに含まれる自然言語文を検索するための前記データの検索タスクに要求される検索性能に応じた、前記所定の次元数のベクトルを選出して、
選出された前記所定の次元数のベクトルを識別する情報と、前記分割してベクトル化された前記検索対象のデータに含まれる自然言語文とを対応付けて記憶部に格納し、
選出された前記所定の次元数のベクトルを識別する情報と、前記データの検索タスクを識別する情報および前記データの検索タスクに要求されるデータの検索性能に関する情報のうち少なくともいずれか一方とを対応付けて記憶部に格納する格納部を更に有する、
ことを特徴とする請求項1または2に記載の検索装置。
【請求項6】
検索装置に実行させる検索方法であって、
データの検索タスクに関する情報に基づいて、前記データの検索タスクに応じた所定の次元数のベクトルを特定する特定工程と、
前記特定工程により特定された前記所定の次元数のベクトルに基づき、検索対象のデータを検索する検索工程と、
を含むことを特徴とする検索方法。
【請求項7】
データの検索タスクに関する情報に基づいて、前記データの検索タスクに応じた所定の次元数のベクトルを特定する特定手順と、
前記特定手順により特定された前記所定の次元数のベクトルに基づき、検索対象のデータを検索する検索手順と、
をコンピュータに実行させることを特徴とする検索プログラム。
発明の詳細な説明
【技術分野】
【0001】
本発明は、検索装置、検索方法、および検索プログラムに関する。
続きを表示(約 1,800 文字)
【背景技術】
【0002】
文書の検索において、対象の文書を検索する際に検索速度や検索精度を向上させる技術が知られている。例えば、文章の類似性を判断する際に、光学文字認識(OCR:Optical Character Recognition)の誤認識の影響を最小化するため、予め類似文字群に区分しておき、光学文字認識された各文字について、各OCRエンジン特性に最適化された各文字群の代表文字にマッピングし、それに基づいて一致を判定する従来技術が知られている(例えば、特許文献1を参照)。上述した従来技術は、各OCRエンジン特性に基づく誤認識に対して耐性の高い類似性判定が可能であり、よりロバストな検索を実現できる。
【先行技術文献】
【特許文献】
【0003】
特開2007-323415号公報
【発明の概要】
【発明が解決しようとする課題】
【0004】
しかしながら、上述の従来技術では、検索対象のデータの検索性能の向上に課題がある。例えば、従来技術は、OCRエンジンごとに最適化された正規化テーブルを切り替える行程が必要であり、検索対象の文書やシチュエーションが変動する場合には、検索速度や検索精度の向上が難しい場合がある。
【課題を解決するための手段】
【0005】
そこで、上述した課題を解決し、目的を達成するために、本発明の検索装置は、データの検索タスクに関する情報に基づいて、前記データの検索タスクに応じた所定の次元数のベクトルを特定する特定部と、前記特定部により特定された前記所定の次元数のベクトルに基づき、検索対象のデータを検索する検索部と、を有することを特徴とする。
【発明の効果】
【0006】
本発明によれば、検索対象のデータの検索性能の向上を可能とする、という効果を奏する。
【図面の簡単な説明】
【0007】
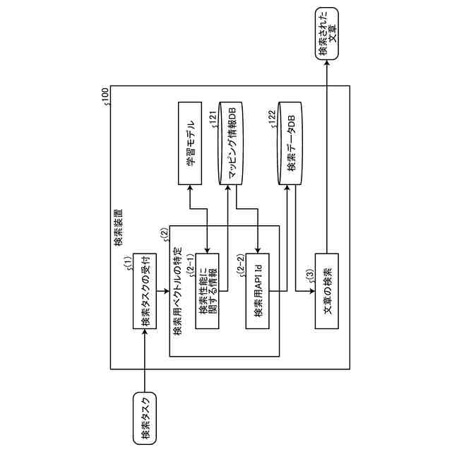
図1は、本実施形態に係る検索装置による処理の全体像を説明する図である。
図2は、次元数ごとの検索性能の評価結果を説明する図である。
図3は、本実施形態に係る検索装置の構成の一例を示す図である。
図4は、本実施形態に係るマッピング情報の一例を示すテーブル図である。
図5は、本実施形態に係る検索データの一例を示すテーブル図である。
図6は、本実施形態に係る検索処理の一例を示す図である。
図7は、本実施形態に係る検索処理の一例を示す図である。
図8は、本実施形態に係る検索処理の手順の一例を示すフローチャートである。
図9は、本実施形態に係る検索処理の手順の一例を示すフローチャートである。
図10は、本実施形態に係る検索装置の機能を実現するコンピュータの一例を示すハードウェア構成図である。
【発明を実施するための形態】
【0008】
ここから、実施の形態(以降、「実施形態」)について図面を参照しながら説明する。なお、以下の説明において、共通する構成要素には同一の参照符号を付し、繰り返しの説明を省略する。また、以下に記載する実施形態の説明は、本発明に係る検索装置、検索方法、および検索プログラムを限定するものではない。
【0009】
<序説>
まず、本実施形態についての序説を述べる。図1は、本実施形態に係る検索装置100による処理の全体像を説明する図である。図1に示す検索装置100は、ベクトルを用いてデータの検索を行う場合に、検索タスクの特性に応じて次元数が異なるベクトルを検索タスクごとに選択して、選択されたベクトルを用いてデータを検索する技術を提供するコンピュータの一例である。なお、本実施形態においては、検索装置100が「データの検索」として、「文書の検索」を行う一例を説明する。
【0010】
(背景)
電子的に管理される文書の検索をより効率的に行う技術として、類似検索(Semantic Search)が知られている。類似検索では、入力される自然言語の意味に沿う検索結果を抽出することで、表記揺れ等を含む場合でも効率的に対象の文書を検索することができる。そして、上述した類似検索をより効率的に実行する方法が知られている。
(【0011】以降は省略されています)
この特許をJ-PlatPat(特許庁公式サイト)で参照する
関連特許
アズビル株式会社
回転弁
21日前
アズビル株式会社
圧力センサ
14日前
アズビル株式会社
無線式開度計
21日前
アズビル株式会社
動粘度測定システム
15日前
アズビル株式会社
熱式流量計および補正方法
14日前
アズビル株式会社
情報処理システムおよび方法
15日前
アズビル株式会社
処理装置及び物理量検出装置
21日前
アズビル株式会社
換気制御装置及び換気制御方法
7日前
アズビル株式会社
処理装置、処理方法、及び、プログラム
14日前
アズビル株式会社
検索装置、検索方法、および検索プログラム
7日前
アズビル株式会社
分割装置、分割方法、および分割プログラム
7日前
アズビル株式会社
管理装置、管理方法、および管理プログラム
28日前
アズビル株式会社
電極材料選定装置および方法ならびに電極選定支援装置
13日前
アズビル株式会社
情報処理装置、情報処理方法および情報処理プログラム
14日前
アズビル株式会社
通信システム、受信装置、送信装置及び電波環境改善方法
17日前
アズビル株式会社
情報処理装置、情報処理システム、情報処理方法および情報処理プログラム
17日前
個人
詐欺保険
2日前
個人
縁伊達ポイン
2日前
個人
QRコードの彩色
6日前
個人
地球保全システム
15日前
個人
冷凍食品輸出支援構造
1か月前
個人
為替ポイント伊達夢貯
1か月前
個人
残土処理システム
8日前
個人
表変換編集支援システム
1か月前
個人
農作物用途分配システム
1日前
個人
知的財産出願支援システム
9日前
個人
知財出願支援AIシステム
1か月前
個人
AIによる情報の売買の仲介
1か月前
個人
行動時間管理システム
1か月前
個人
パスワード管理支援システム
1か月前
日本精機株式会社
施工管理システム
1か月前
個人
システム及びプログラム
28日前
株式会社アジラ
進入判定装置
1か月前
株式会社キーエンス
受発注システム
14日前
株式会社キーエンス
受発注システム
14日前
株式会社キーエンス
受発注システム
14日前
続きを見る
他の特許を見る