TOP
|
特許
|
意匠
|
商標
特許ウォッチ
Twitter
他の特許を見る
10個以上の画像は省略されています。
公開番号
2025150170
公報種別
公開特許公報(A)
公開日
2025-10-09
出願番号
2024050910
出願日
2024-03-27
発明の名称
研磨機、加工機
出願人
株式会社栃木ニコンプレシジョン
代理人
個人
,
個人
主分類
B24B
23/02 20060101AFI20251002BHJP(研削;研磨)
要約
【課題】作業者の技能によらず被加工物の必要な個所に対して高精度の平面度が得られる研磨が可能となる研磨機を提供する。
【解決手段】本体10の内部に設けられたモータと、モータによって回転することで被加工物の表面を研磨する研磨部40と、モータの回転を研磨部40に伝達するユニバーサルジョイント24およびボールジョイント30とを備え、ユニバーサルジョイント24およびボールジョイント30は、研磨部40の回転軸に対するモータの回転軸の傾きに関わらずモータの回転を研磨部40に伝達する。
【選択図】図3
特許請求の範囲
【請求項1】
モータと、
前記モータによって回転することで被加工物の表面を研磨する研磨部と、
前記モータの回転を前記研磨部に伝達する伝達機構とを備え、
前記伝達機構は、前記研磨部の回転軸に対する前記モータの回転軸の傾きに関わらず前記モータの回転を前記研磨部に伝達することを特徴とする研磨機。
続きを表示(約 1,100 文字)
【請求項2】
前記伝達機構は、
前記研磨部を回転可能に支持し、かつ、前記研磨部の研磨面上における前記研磨部の回転軸の位置を支点として前記研磨部を揺動自在に支持する第1の自在継ぎ手と、
前記研磨部の回転軸に対する前記モータの回転軸の傾きに関わらず、前記モータの回転を前記第1の自在継ぎ手に伝達する第2の自在継ぎ手と、を有することを特徴とする請求項1に記載の研磨機。
【請求項3】
前記第1の自在継ぎ手は、
平面部と球面部とで形成された略半球形の形状を有し、前記平面部に前記研磨部が取り付けられるボール部と、
前記球面部と球面接触する凹面部を有し、前記凹面部の天頂部に貫通孔が形成された受け部と、
前記貫通孔を通して前記ボール部に固定され、前記第2の自在継ぎ手と係合する係合部と、を有することを特徴とする請求項2に記載の研磨機。
【請求項4】
前記第2の自在継ぎ手は、
シャフトと、
前記シャフトの一方端に形成された第1のユニバーサルジョイントと、
前記シャフトの他方端に形成された第2のユニバーサルジョイントと、を有し、
前記第1のユニバーサルジョイントがモータの回転軸に取り付けられ、
前記第2のユニバーサルジョイントが前記係合部に係合することを特徴とする請求項2に記載の研磨機。
【請求項5】
前記ボール部は、バヨネットロック機構によって前記研磨部を着脱自在に保持することを特徴とする請求項3または4に記載の研磨機。
【請求項6】
前記ボール部は、スクリューロック機構によって前記研磨部を着脱自在に保持することを特徴とする請求項3または4に記載の研磨機。
【請求項7】
前記ボール部および前記研磨部のうち一方に断面が略コ字状の開放部を前記ボール部および前記研磨部のうち他方に向けた板ばねを取り付け、前記ボール部および前記研磨部のうち他方に前記板ばねが嵌合する嵌合口を設け、前記板ばねが前記嵌合口に嵌合したときに、前記板ばねの弾性力によって前記研磨部を着脱自在に保持することを特徴とする請求項3または4に記載の研磨機。
【請求項8】
モータと、
前記モータによって回転することで被加工物を加工する加工部と、
前記モータの回転を前記加工部に伝達する伝達機構とを備え、
前記伝達機構は、前記加工部の回転軸に対する前記モータの回転軸の傾きに関わらず前記モータの回転を前記加工部に伝達することを特徴とする加工機。
発明の詳細な説明
【技術分野】
【0001】
本発明は、研磨機、加工機に関する。
続きを表示(約 1,900 文字)
【背景技術】
【0002】
従来、特許文献1に記載されているような精密な研削装置を用いて被加工物の表面を高精度の平面度に仕上げている。
【先行技術文献】
【特許文献】
【0003】
特開2021-102258号公報
【発明の概要】
【発明が解決しようとする課題】
【0004】
上述した研削装置によってもたらされる被加工物の表面の平面度には限度があるため、より高精度な平面度を得るには、たとえば金属のブロックにダイヤモンド砥粒が埋め込まれたペレットを正確な平面上に並べて手作業によって微細な凹凸を平坦にする必要があった。しかしながら、人間の手によってペレットを水平方向に直線移動させる場合、人間の関節の動きの影響を受けるため、ごく僅かであってもペレットが円弧運動をしてしまい、完全な直線運動を行うのは極めて困難である。このため、ペレットを用いた研磨の結果は作業者の技能、経験および知識に非常に左右されることになる。
【0005】
本発明は、このような課題に鑑みてなされたものであり、作業者の技能によらず被加工物の必要な個所に対して高精度の平面度が得られる研磨を可能とする研磨機を提供することを目的とする。
【課題を解決するための手段】
【0006】
上記課題を解決するため、本発明に係る研磨機は、モータと、前記モータによって回転することで被加工物の表面を研磨する研磨部と、前記モータの回転を前記研磨部に伝達する伝達機構とを備え、前記伝達機構は、前記研磨部の回転軸に対する前記モータの回転軸の傾きに関わらず前記モータの回転を前記研磨部に伝達することを特徴とする。
【発明の効果】
【0007】
本発明に係る研磨機によれば、作業者の技能によらず被加工物の必要な個所に対して高精度の平面度が得られる研磨が可能となる。
【図面の簡単な説明】
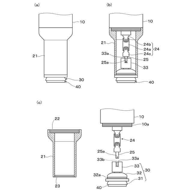
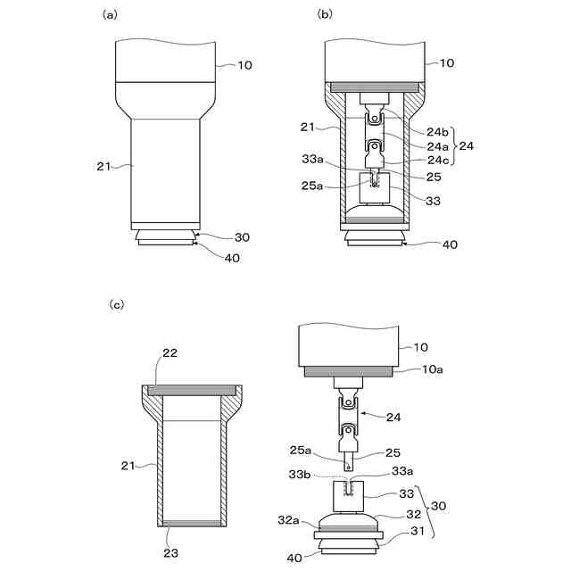
【0008】
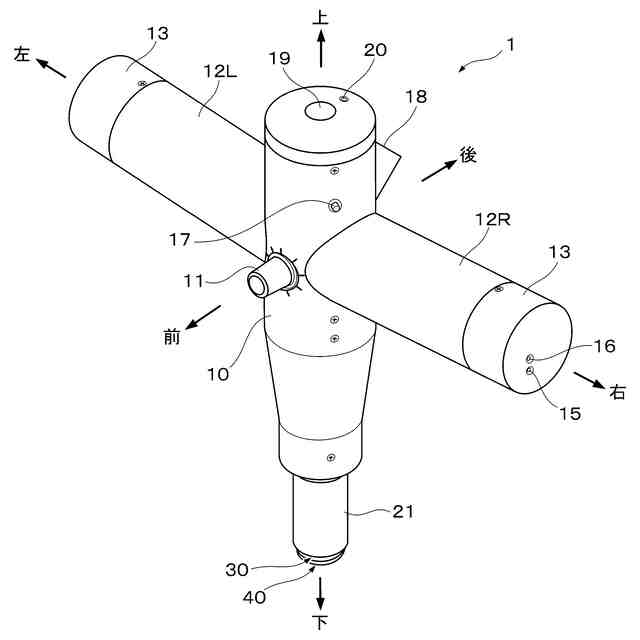
本発明の研磨機を正面側から見た外観斜視図である。
上記研磨機を裏側から見た外観斜視図である。
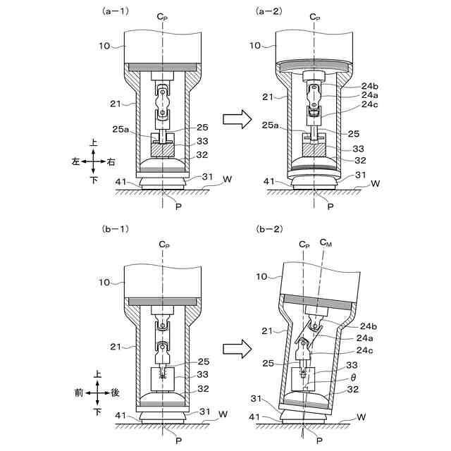
上記研磨機の先端の構成を説明するための説明図である。
上記研磨機のボールジョイントの構成を説明するための説明図である。
上記研磨機のスピンドルヘッドの構成を説明するための説明図である。
上記研磨機の本体が研磨面に対して傾いた場合でも研磨面の圧力が均一となることを説明するための説明図である。
上記研磨機のボールジョイントに対して研磨部の交換を容易にするための構造について説明するための説明図である。
上記研磨機のボールジョイントに対して研磨部を交換可能に取り付けるための構造の変形例について説明するための説明図である。
上記研磨機のボールジョイントに対して研磨部を交換可能に取り付けるための構造の変形例について説明するための説明図である。
上記研磨機に対して異なるサイズの研磨部を取付可能とするための構造について説明するための説明図である。
【発明を実施するための形態】
【0009】
以下、図面を参照して本発明の好ましい実施形態について説明する。まず、図1および図2を参照して本発明に係る研磨機の一実施形態の外観構成について説明する。図1は本実施形態の研磨機1の正面(作業者と対向する面)を、やや右側上方から見下ろしたときの斜視図である。図2は研磨機1の背面を、やや左側下方から見上げたときの斜視図である。なお、図1を参照する説明において、前後方向、左右方向および上下方向について言及するときは、図1および図2に各々示す矢印の向きに従う。
【0010】
図1に示すように、研磨機1は上下方向に延びる略円筒状の本体10を有しており、本体10の内部にはモータ(図示略)が設けられている。ここで、このモータの回転軸と本体10の中心軸とは一致していることが望ましい。本体10の正面かつ上下方向において、略中央位置には内部のモータのオン/オフおよび上記モータの回転数を調整可能とするスイッチ付きボリューム11が設けられている。このスイッチ付きボリューム11はツマミを反時計回り方向に最大限回すとスイッチがオフとなってモータの回転を停止させる。また、スイッチがオフになっている位置からツマミを時計回りに回すとスイッチがオンになり、引き続きツマミを時計回りに回すと、回す角度を大きくなるほどモータの回転速度が上昇することになる。
(【0011】以降は省略されています)
この特許をJ-PlatPat(特許庁公式サイト)で参照する
関連特許
個人
包丁研ぎ器具
2か月前
株式会社松風
研磨用ゴム砥石
1日前
個人
研磨体
4か月前
株式会社サンポー
ブラスト装置
5か月前
株式会社クボタ
管研削装置
3か月前
株式会社村田製作所
切削装置
3か月前
株式会社ディスコ
被加工物の加工方法
22日前
不二空機株式会社
可搬型動力工具
3か月前
シンクス株式会社
ボード切断装置
4か月前
株式会社東京精密
加工方法
3日前
株式会社東京精密
加工装置
1日前
株式会社ニッチュー
ブラスト装置
3か月前
ノリタケ株式会社
超砥粒ホイール
1日前
株式会社東京精密
加工装置
3日前
大同特殊鋼株式会社
疵研削順序決定方法
5か月前
オークマ株式会社
円筒研削盤
3か月前
ノリタケ株式会社
研磨パッド
1日前
株式会社ディスコ
砥石
3か月前
トヨタ自動車株式会社
回転砥石の製造方法
2か月前
秀和工業株式会社
処理装置および処理方法
24日前
株式会社アイドゥス企画
受動変形内面研磨ホイール
2か月前
株式会社東京精密
研削装置
1か月前
株式会社ディスコ
加工方法、及び、切削装置
5か月前
株式会社東京精密
ワーク加工装置
5か月前
株式会社ディスコ
加工装置
1か月前
株式会社東京精密
ワーク加工装置
5か月前
JFEスチール株式会社
鋼帯のブラシ研削方法
5か月前
株式会社ディスコ
加工方法
4か月前
Mipox株式会社
研磨部材の製造方法
1か月前
旭化成株式会社
研磨パッド
1か月前
嘉澤端子工業股分有限公司
グラインダー
4か月前
日本特殊研砥株式会社
超弾性砥石
6か月前
中村留精密工業株式会社
レンズ保持装置
4か月前
Mipox株式会社
研磨部材の製造方法
1か月前
株式会社東京精密
ダイシング装置
1日前
株式会社ディスコ
研削装置
2か月前
続きを見る
他の特許を見る