TOP
|
特許
|
意匠
|
商標
特許ウォッチ
Twitter
他の特許を見る
公開番号
2025150325
公報種別
公開特許公報(A)
公開日
2025-10-09
出願番号
2024051146
出願日
2024-03-27
発明の名称
無線起爆雷管および無線起爆雷管用アンテナ
出願人
日油株式会社
代理人
弁理士法人岡田国際特許事務所
主分類
F42C
13/04 20060101AFI20251002BHJP(弾薬;爆破)
要約
【課題】岩盤透過性の良好な低い周波数の無線信号に対して送受信効率の高い小型のアンテナを無線起爆雷管に設けることが必要とされている。
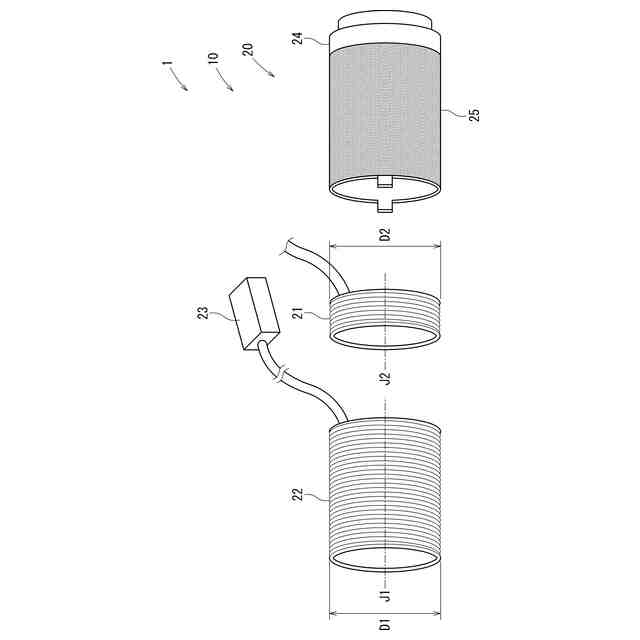
【解決手段】無線起爆雷管10は、無線信号を送受信しかつ駆動用エネルギを無線方式で受けるアンテナ20を有する。無線起爆雷管10は、アンテナ20が受けたエネルギを貯める動作用コンデンサ12e,起爆用コンデンサ12fを有する。無線起爆雷管10は、起爆用コンデンサ12fからの電気で起爆する電気雷管15を有する。アンテナ20は、受信回路と送信回路と動作用コンデンサ12eに電気的に接続されかつ第1巻数で巻かれた第1コイル21を有する。アンテナ20は、第1コイル21と略同軸上に隣接して設けられかつ第1巻数より多い第2巻数で巻かれた第2コイル22を有する。アンテナ20は、第2コイル22に電気的に接続される共振用コンデンサ23を有する。
【選択図】図3
特許請求の範囲
【請求項1】
無線起爆雷管であって、
無線信号を送受信しかつ駆動用エネルギを無線方式で受けるアンテナと、
前記アンテナが受けたエネルギを貯める蓄電器と、
前記蓄電器からの電気で起爆する電気雷管を有し、
前記アンテナは、受信回路と送信回路と前記蓄電器に電気的に接続されかつ第1巻数で巻かれた第1コイルと、
前記第1コイルと略同軸上に隣接して設けられかつ前記第1巻数より多い第2巻数で巻かれた第2コイルと、
前記第2コイルに電気的に接続される共振用コンデンサを有する無線起爆雷管。
続きを表示(約 860 文字)
【請求項2】
請求項1に記載の無線起爆雷管であって、
前記第1コイルと前記第2コイルは、切羽面に設けられた装薬孔に挿通可能な直径である無線起爆雷管。
【請求項3】
請求項1または2に記載の無線起爆雷管であって、
前記アンテナは、1kHz~500kHzの無線信号を送受信する無線起爆雷管。
【請求項4】
請求項1または2に記載の無線起爆雷管であって、
前記第1コイルと前記第2コイルは、直径が15mm~30mmであり、
前記第1巻数が3~15であり、
前記第2巻数が30~200である無線起爆雷管。
【請求項5】
請求項1または2に記載の無線起爆雷管であって、
絶縁材料で設けられた芯材と、
前記芯材の外周に巻かれた磁性シートを有し、前記磁性シートの外周に前記第1コイルと前記第2コイルが巻き付けられる無線起爆雷管。
【請求項6】
請求項1または2に記載の無線起爆雷管であって、
前記受信回路と前記送信回路と前記蓄電器と前記共振用コンデンサを備えた回路基板を有し、
前記回路基板が、前記第1コイルに近く前記第2コイルから遠い位置に設けられる無線起爆雷管。
【請求項7】
請求項1または2に記載の無線起爆雷管であって、
前記共振用コンデンサは、固定コンデンサと可変コンデンサを含む無線起爆雷管。
【請求項8】
請求項1または2に記載の無線起爆雷管であって、
本体筒を有し、
前記本体筒内に前記アンテナと前記蓄電器と前記電気雷管が収容されている無線起爆雷管。
【請求項9】
請求項1または2に記載の無線起爆雷管に用いられ無線信号を送受信しかつ駆動用エネルギを無線方式で受ける無線起爆雷管用アンテナであって、
前記第1コイルと前記第2コイルと前記共振用コンデンサを有する無線起爆雷管用アンテナ。
発明の詳細な説明
【技術分野】
【0001】
本発明は、例えばトンネル等の掘削現場や岩石等の破砕現場やビル等の構造物の破砕現場等にて使用する無線起爆システムが備える無線起爆雷管、および無線起爆雷管が備える無線起爆雷管用アンテナに関する。
続きを表示(約 2,000 文字)
【背景技術】
【0002】
無線起爆雷管は、例えばトンネルの掘削現場等における爆破作業で使用される。発破対象の切羽面に複数の装薬孔が形成される。装薬孔は、例えば数cmの径の略円形で開口して数mの奥行きで形成される。装薬孔には、奥側に無線起爆雷管が挿入され、無線起爆雷管の手前側に爆薬が挿入される。発破器が切羽面から離れた遠隔地に設置される。発破器は、装薬孔内の無線起爆雷管へと起爆信号を発信する。これにより無線起爆雷管の電気雷管が点火して爆薬が起爆する。
【0003】
特許文献1に記載されるように従来の無線起爆システムは、ループ状の大型のアンテナを有する。アンテナは、切羽面の外周に沿った形状で切羽面の近傍に設けられる。アンテナには、切羽面から離れた遠隔地に設置された大型の電源から有線で大電力が送られる。アンテナは、切羽面の外側から内側の無線起爆雷管を無線で充電する。アンテナは、切羽面の内側の無線起爆雷管から切羽面の外側へと無線で発信される応答信号等を受信する。アンテナは、切羽面の外側から内側の無線起爆雷管へと無線で起爆信号等を送信する。
【0004】
特許文献1に記載の無線起爆雷管は、大型のループアンテナに対して様々な位置関係で装薬孔に装填される。位置関係によらず送受信可能にするために無線起爆雷管は、アンテナとして相互に軸方向の異なる3軸のコイルを備えている。アンテナの受電効率を高めるためには、コイルを大きくすることが望ましい。3軸のコイルを設けることでさらにアンテナが大型化する。そのため装薬孔の内壁の状態によっては装填できない場合や途中で詰まる場合がある。また、3軸のコイルそれぞれに受信回路を設ける必要がある。そのため3つの受信回路が消費する電力を充電する必要がある。3軸のコイルと大型のループアンテナの位置関係によっては、無線起爆雷管の充電器を十分に充電できない場合がある。
【0005】
また、3軸のコイルで構成されるアンテナは、送信効率が十分でなく、特に周波数が低い程送信効率が低くなる。仮に同じ構造で送信効率を補う場合、出力を高めるために起爆雷管の充電器の充電容量を増やす必要がある。そのため充電の作業時間が増大してしまう。無線起爆雷管とアンテナは、岩盤透過性が良好になるように低い周波数で受電または無線信号の送受信をすることが好ましい。そのため低い周波数で無線起爆雷管のアンテナの送信効率を高くすることが望まれている。
【先行技術文献】
【特許文献】
【0006】
特開2018-087673号公報
【発明の概要】
【発明が解決しようとする課題】
【0007】
したがって岩盤透過性の良好な低い周波数の無線信号に対して送受信効率の高い小型のアンテナを無線起爆雷管に設けることが必要とされている。
【課題を解決するための手段】
【0008】
本開示の1つの特徴によると無線起爆雷管は、無線信号を送受信しかつ駆動用エネルギを無線方式で受けるアンテナを有する。無線起爆雷管は、アンテナが受けたエネルギを貯める蓄電器を有する。無線起爆雷管は、蓄電器からの電気で起爆する電気雷管を有する。アンテナは、受信回路と送信回路と蓄電器に電気的に接続されかつ第1巻数で巻かれた第1コイルを有する。アンテナは、第1コイルと略同軸上に隣接して設けられかつ第1巻数より多い第2巻数で巻かれた第2コイルを有する。アンテナは、第2コイルに電気的に接続される共振用コンデンサを有する。
【0009】
したがって共振用コンデンサに電気的に接続された第2コイルは、所定の周波数で共振する。そのため第2コイルは、共振する周波数の信号を効率良く無線で送受信できる。しかも第1コイルの巻数を少なくしてインピーダンスを抑制できる。第2コイルは、共振用コンデンサとの共振によってインピーダンスが小さくなるため巻数を多くできる。第2コイルが無線信号を受信する際、第2コイルで電流が流れて磁界が発生する。これにより第1コイルで電流が流れて第1コイルに信号が伝達される。第1コイルが信号を送信する際、第1コイルで電流が流れて磁界が発生する。これにより第2コイルで電流が流れて第2コイルが無線信号を発信する。かくして無線起爆雷管の小型のアンテナで無線信号の送受信効率を高めることができる。
【0010】
本開示の他の特徴によると第1コイルと第2コイルは、切羽面に設けられた装薬孔に挿通可能な直径である。したがって無線起爆雷管を装薬孔に装填する際、第1コイルと第2コイルを備えたアンテナが装薬孔の内壁に干渉することを抑制できる。そのため無線起爆雷管をスムーズに装薬孔に装填できる。
(【0011】以降は省略されています)
この特許をJ-PlatPat(特許庁公式サイト)で参照する
関連特許
日油株式会社
皮膚保湿剤
2日前
日油株式会社
皮膚化粧料
1か月前
日油株式会社
毛髪化粧料
15日前
日油株式会社
二層型化粧料
2か月前
日油株式会社
重合性組成物
2日前
日油株式会社
導電性組成物
2日前
日油株式会社
蛋白質安定化剤
3か月前
日油株式会社
化粧料用組成物
12日前
日油株式会社
日焼け止め化粧料
2か月前
日油株式会社
毛髪洗浄剤組成物
2か月前
日油株式会社
船舶燃料油組成物
1か月前
日油株式会社
深共晶溶媒及び電解質
8日前
日油株式会社
製菓用グルテン改質剤
2日前
日油株式会社
製パン用グルテン改質剤
2日前
日油株式会社
カルボン酸チタン組成物
1か月前
日油株式会社
水中油型日焼け止め化粧料
8日前
日油株式会社
スルホン酸(メタ)アクリレート組成物
12日前
日油株式会社
穀粉生地用改質剤、穀粉生地、及び食品
2日前
日油株式会社
ペルフルオロアシル過酸化物の製造方法。
1日前
日油株式会社
無線起爆雷管および無線起爆雷管用アンテナ
2日前
日油株式会社
イソプロぺニルフェノール共重合体の製造方法
1日前
日油株式会社
ポリオキシアルキレン化合物及び表面張力調整剤
2か月前
国立研究開発法人物質・材料研究機構
樹脂組成物
12日前
日油株式会社
保護層形成用組成物、保護層、及び保護層の製造方法
1日前
日油株式会社
共重合体、半導体封止用改質剤及び半導体封止材組成物
4日前
日油株式会社
セラミック成形用バインダー組成物およびセラミックスラリー
2か月前
学校法人近畿大学
眼表面薬物滞留化剤および該剤を含有する点眼剤
22日前
日油株式会社
動物油脂風味増強剤、動物油脂含有飲食品、及び動物油脂風味増強方法
23日前
日油株式会社
無線起爆システム用中継装置および中継装置用アンテナおよび起爆方法
2日前
日油株式会社
水中油型乳化油脂組成物、および水中油型乳化油脂組成物を含有する食品
1日前
日油株式会社
製菓用液糖組成物およびその製造方法、ケーキ生地およびその製造方法、ならびにケーキ
8日前
日油株式会社
接着剤組成物、光溶融型接着剤、光溶融型接着剤を用いた積層体および光溶融型接着剤を用いた製造方法
2日前
日油株式会社
蛋白質吸着抑制剤、蛋白質吸着抑制剤からなる被覆層を表面に備える基材、磁性粒子および蛋白質吸着抑制方法
3か月前
国立研究開発法人産業技術総合研究所
酸化型補酵素F420の調製方法、還元型補酵素F420の調製方法及び補酵素F420測定用バイオセンサ
9か月前
三菱電機株式会社
飛しょう体
4か月前
三菱電機株式会社
飛しょう体
2か月前
続きを見る
他の特許を見る