TOP
|
特許
|
意匠
|
商標
特許ウォッチ
Twitter
他の特許を見る
公開番号
2025150348
公報種別
公開特許公報(A)
公開日
2025-10-09
出願番号
2024051178
出願日
2024-03-27
発明の名称
無線起爆システム用中継装置および中継装置用アンテナおよび起爆方法
出願人
日油株式会社
代理人
弁理士法人岡田国際特許事務所
主分類
H01Q
19/02 20060101AFI20251002BHJP(基本的電気素子)
要約
【課題】発破器と起爆雷管を中継する中継装置に、無線信号の送受信効率を高めたアンテナを設けることが必要とされている。
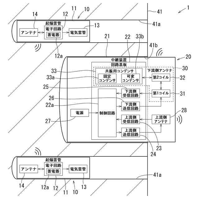
【解決手段】発破器と起爆雷管10の間の信号を中継する無線起爆システム1用の中継装置20は、発破器と無線で信号を送受信する上流側アンテナ28を有する。中継装置20は、起爆雷管10と無線で信号を送受信する下流側アンテナ30を有する。下流側アンテナ30は、下流側受信回路25と下流側送信回路26に電気的に接続されかつ第1巻数で巻かれた第1コイル31を有する。下流側アンテナ30は、第1コイル31と略同軸上に隣接して設けられかつ第1巻数より多い第2巻数で巻かれた第2コイル32を有する。下流側アンテナ30は、第2コイル32に電気的に接続される共振用コンデンサ33を有する。
【選択図】図5
特許請求の範囲
【請求項1】
発破器と起爆雷管の間の信号を中継する無線起爆システム用中継装置であって、
前記発破器と無線で信号を送受信する上流側アンテナと、
前記起爆雷管と無線で信号を送受信する下流側アンテナを有し、前記下流側アンテナは、
受信回路と送信回路に電気的に接続されかつ第1巻数で巻かれた第1コイルと、
前記第1コイルと略同軸上に隣接して設けられかつ前記第1巻数より多い第2巻数で巻かれた第2コイルと、
前記第2コイルに電気的に接続される共振用コンデンサを有する無線起爆システム用中継装置。
続きを表示(約 890 文字)
【請求項2】
請求項1に記載の無線起爆システム用中継装置であって、
前記第1コイルと前記第2コイルは、直径300mm~1500mmの環状であり、
前記第1巻数が1~6であり、
前記第2巻数が3~30である無線起爆システム用中継装置。
【請求項3】
請求項1または2に記載の無線起爆システム用中継装置であって、
前記下流側アンテナは、1kHz~500kHzの信号を用いて切羽面に設けられた装薬孔内の前記起爆雷管と送受信する無線起爆システム用中継装置。
【請求項4】
請求項1または2に記載の無線起爆システム用中継装置であって、
前記受信回路と前記送信回路と前記共振用コンデンサが収容される本体を有し、
前記本体が切羽面に設けられた挿入孔に挿入され、
前記第1コイルと前記第2コイルが前記挿入孔の外に配置されるように前記本体に保持される無線起爆システム用中継装置。
【請求項5】
請求項1または2に記載の無線起爆システム用中継装置であって、
前記第1コイルと前記第2コイルを保持し、かつ絶縁材料から形成された環状の枠部材を有する無線起爆システム用中継装置。
【請求項6】
請求項1または2に記載の無線起爆システム用中継装置であって、
前記第1コイルと前記第2コイルは、同軸上でかつ前記同軸の軸方向が切羽面に対して略垂直である無線起爆システム用中継装置。
【請求項7】
請求項1に記載の無線起爆システム用中継装置に用いられて前記起爆雷管と無線で信号を送受信する中継装置用アンテナであって、
前記第1コイルと前記第2コイルと前記共振用コンデンサを有する中継装置用アンテナ。
【請求項8】
請求項1または2に記載の無線起爆システム用中継装置または請求項7に記載の中継装置用アンテナを用いた無線起爆方法。
【請求項9】
請求項4に記載の無線起爆システム用中継装置を用いた無線起爆方法。
発明の詳細な説明
【技術分野】
【0001】
本発明は、例えばトンネル等の掘削現場や岩石等の破砕現場やビル等の構造物の破砕現場等にて使用する無線起爆システムが備える無線起爆システム用中継装置、およびその中継装置が備える中継装置用アンテナ、およびその無線起爆システム用中継装置または中継装置用アンテナを用いた起爆方法に関する。
続きを表示(約 2,300 文字)
【背景技術】
【0002】
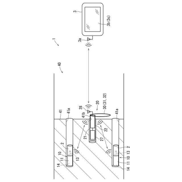
起爆雷管は、例えばトンネルの掘削現場等における爆破作業で使用される。発破対象の切羽面に複数の装薬孔が形成される。装薬孔は、例えば数cmの径の略円形で開口して数mの奥行きで形成される。装薬孔には、奥側に起爆雷管が挿入され、起爆雷管の手前側に爆薬が挿入される。発破器が切羽面から離れた遠隔地に設置される。発破器は、装薬孔内の起爆雷管へと起爆信号を発信する。これにより起爆雷管の電気雷管が点火して爆薬が起爆する。
【0003】
特許文献1に記載されるように従来の無線起爆システムは、ループ状の大型のアンテナを有する。アンテナは、切羽面の外周に沿った形状で切羽面の近傍に設けられる。アンテナには、切羽面から離れた遠隔地に設置された大型の電源から有線で大電力が送られる。アンテナは、切羽面の外側から内側の起爆雷管を無線で充電する。アンテナは、切羽面の内側の起爆雷管から切羽面の外側へと無線で発信される応答信号等を受信する。アンテナは、切羽面の外側から内側の起爆雷管へと無線で起爆信号等を送信する。
【0004】
従来用いられる大型アンテナは、充電効率を向上させるために切羽面の外周に沿ってできるだけ起爆雷管の近くに設置する必要がある。そのため設置作業を含む切羽作業の時間が増大する。また、設置中における落石等の災害リスクが高くなる。アンテナを大型にして電線が長くなることでインピーダンスが大きい。巻数を増やすとさらにインピーダンスが増加してしまうため、アンテナの性能向上を図ることが難しい。切羽面の形状に合わせてアンテナの形状が変更されるため、インピーダンス調整用の大型の整合器を用意する必要がある。しかも大電力を発生する大型の高周波電源も用意する必要がある。アンテナから整合器や高周波電源までは数百mの有線を配線する必要がある。そのため大型の整合器や高周波電源や配線等を設置する手間やインピーダンス調整等のための作業時間が増大してしまう。
【0005】
特許文献2には、発破器と起爆雷管の間に無線信号を送受信する中継装置を設けた無線起爆システムが記載されている。中継装置は、切羽面に形成された挿入孔に挿入可能に小型に設けられる。中継装置は、挿入孔の外側で発破器と無線で信号を送受信する上流側アンテナを有する。中継装置は、挿入孔内で起爆雷管と無線で信号を送受信する下流側アンテナを有する。下流側アンテナは、挿入孔の奥部に配置される。起爆雷管と下流側アンテナは、岩盤透過性の高い周波数、例えば1kHz~500kHzで相互に無線信号を送受信する。小型の中継装置を用いることで作業時間の短縮等を図ることができる。しかしながら挿入孔内に挿入可能に小型化した下流側アンテナでは、送受信の性能が不足してしまう。そのため下流側アンテナの送受信効率を高めるために改良の余地があった。
【先行技術文献】
【特許文献】
【0006】
特開2018-087673号公報
国際公開第2022/014530号
【発明の概要】
【発明が解決しようとする課題】
【0007】
したがって発破器と起爆雷管を中継する中継装置に、無線信号の送受信効率を高めたアンテナを設けることが必要とされている。
【課題を解決するための手段】
【0008】
本開示の1つの特徴は発破器と起爆雷管の間の信号を中継する無線起爆システム用中継装置に関する。無線起爆システム用中継装置は、発破器と無線で信号を送受信する上流側アンテナを有する。無線起爆システム用中継装置は、起爆雷管と無線で信号を送受信する下流側アンテナを有する。下流側アンテナは、受信回路と送信回路に電気的に接続されかつ第1巻数で巻かれた第1コイルを有する。下流側アンテナは、第1コイルと略同軸上に隣接して設けられかつ第1巻数より多い第2巻数で巻かれた第2コイルを有する。下流側アンテナは、第2コイルに電気的に接続される共振用コンデンサを有する。
【0009】
したがって共振用コンデンサに電気的に接続された第2コイルは、所定の周波数で共振する。そのため第2コイルは、共振する周波数の信号を効率良く無線で送受信できる。しかも第1コイルの巻数を少なくしてインピーダンスを抑制できる。第2コイルは、共振用コンデンサとの共振によってインピーダンスが小さくなるため巻数を多くできる。第2コイルが無線信号を受信する際、第2コイルで電流が流れて磁界が発生する。これにより第1コイルで電流が流れて第1コイルに信号が伝達される。第1コイルが信号を送信する際、第1コイルで電流が流れて磁界が発生する。これにより第2コイルで電流が流れて第2コイルが無線信号を発信する。かくして中継装置の下流側アンテナと起爆雷管との間で無線信号の送受信効率を高めることができる。
【0010】
本開示の他の特徴によると第1コイルと第2コイルは、直径300mm~1500mmの環状である。第1巻数が1~6である。第2巻数が3~30である。したがって下流側アンテナを送受信の効率が良くかつ持ち運び易く設置の作業時間を短縮できる大きさで設けることができる。しかもインピーダンスを効果的に抑制できる巻数で第1コイルを設けることができる。無線信号を効率良く送受信できる巻数で第2コイルを設けることができる。
(【0011】以降は省略されています)
この特許をJ-PlatPat(特許庁公式サイト)で参照する
関連特許
日油株式会社
皮膚保湿剤
4日前
日油株式会社
皮膚化粧料
1か月前
日油株式会社
毛髪化粧料
17日前
日油株式会社
二層型化粧料
2か月前
日油株式会社
重合性組成物
4日前
日油株式会社
導電性組成物
4日前
日油株式会社
蛋白質安定化剤
3か月前
日油株式会社
化粧料用組成物
14日前
日油株式会社
日焼け止め化粧料
2か月前
日油株式会社
毛髪洗浄剤組成物
2か月前
日油株式会社
船舶燃料油組成物
1か月前
日油株式会社
深共晶溶媒及び電解質
10日前
日油株式会社
製菓用グルテン改質剤
4日前
日油株式会社
製パン用グルテン改質剤
4日前
日油株式会社
カルボン酸チタン組成物
1か月前
日油株式会社
水中油型日焼け止め化粧料
10日前
日油株式会社
スルホン酸(メタ)アクリレート組成物
14日前
日油株式会社
穀粉生地用改質剤、穀粉生地、及び食品
4日前
日油株式会社
ペルフルオロアシル過酸化物の製造方法。
3日前
日油株式会社
無線起爆雷管および無線起爆雷管用アンテナ
4日前
日油株式会社
イソプロぺニルフェノール共重合体の製造方法
3日前
日油株式会社
ポリオキシアルキレン化合物及び表面張力調整剤
2か月前
国立研究開発法人物質・材料研究機構
樹脂組成物
14日前
日油株式会社
保護層形成用組成物、保護層、及び保護層の製造方法
3日前
日油株式会社
共重合体、半導体封止用改質剤及び半導体封止材組成物
6日前
日油株式会社
セラミック成形用バインダー組成物およびセラミックスラリー
2か月前
学校法人近畿大学
眼表面薬物滞留化剤および該剤を含有する点眼剤
24日前
日油株式会社
動物油脂風味増強剤、動物油脂含有飲食品、及び動物油脂風味増強方法
25日前
日油株式会社
無線起爆システム用中継装置および中継装置用アンテナおよび起爆方法
4日前
日油株式会社
水中油型乳化油脂組成物、および水中油型乳化油脂組成物を含有する食品
3日前
日油株式会社
製菓用液糖組成物およびその製造方法、ケーキ生地およびその製造方法、ならびにケーキ
10日前
日油株式会社
接着剤組成物、光溶融型接着剤、光溶融型接着剤を用いた積層体および光溶融型接着剤を用いた製造方法
4日前
日油株式会社
蛋白質吸着抑制剤、蛋白質吸着抑制剤からなる被覆層を表面に備える基材、磁性粒子および蛋白質吸着抑制方法
3か月前
東レ株式会社
多孔質炭素シート
1か月前
個人
フレキシブル電気化学素子
3日前
日本発條株式会社
積層体
14日前
続きを見る
他の特許を見る