TOP
|
特許
|
意匠
|
商標
特許ウォッチ
Twitter
他の特許を見る
公開番号
2025150800
公報種別
公開特許公報(A)
公開日
2025-10-09
出願番号
2024051898
出願日
2024-03-27
発明の名称
混合装置
出願人
株式会社神戸製鋼所
代理人
弁理士法人ATEN
主分類
B29B
7/18 20060101AFI20251002BHJP(プラスチックの加工;可塑状態の物質の加工一般)
要約
【課題】混合室からの材料の排出時に、混合室の底部に材料が残ることを抑制する。
【解決手段】混合装置1は、材料が混合される混合室10を備える。混合室10は、混合室底部30と、混合室底部30に設けられる混合室排出口20と、を備える。混合室10の内部に配置されるロータ40の回転軸が延びる方向を、ロータ軸方向(X)とする。混合室底部30は、材料排出傾斜部137を備える。材料排出傾斜部137は、ロータ軸方向(X)および鉛直方向(Z)のそれぞれに直交する方向(Y)から見たときに、混合室底部30のロータ軸方向(X)における外側部分から混合室排出口20に向かって下向き(Z2)に傾斜する。
【選択図】図4
特許請求の範囲
【請求項1】
材料が混合される混合室を備え、
前記混合室は、
前記混合室の下側部分である混合室底部と、
前記混合室底部に設けられ、前記材料が通ることが可能な混合室排出口と、
を備え、
前記混合室の内部に配置されるロータの回転軸が延びる方向をロータ軸方向としたとき、
前記混合室底部は、前記ロータ軸方向および鉛直方向のそれぞれに直交する方向から見たときに、前記混合室底部の前記ロータ軸方向における外側部分から前記混合室排出口に向かって下向きに傾斜する材料排出傾斜部を備える、
混合装置。
続きを表示(約 480 文字)
【請求項2】
請求項1に記載の混合装置であって、
前記混合室の内部に配置され、前記材料を混合するロータと、
前記混合室排出口を開閉する蓋と、
を備え、
前記蓋が前記混合室排出口を閉じた状態のとき、前記蓋の上端部は、前記混合室排出口の上端部よりも、上側に配置される、
混合装置。
【請求項3】
請求項2に記載の混合装置であって、
前記蓋が前記混合室排出口を閉じた状態のとき、前記蓋の上端部は、前記材料排出傾斜部の上端部と同じ高さに配置される、
混合装置。
【請求項4】
請求項1に記載の混合装置であって、
前記蓋が前記混合室排出口を閉じた状態のとき、前記蓋の外周部の上端部は、前記混合室排出口の内周部の上端部と上下方向に連続するように配置される、
混合装置。
【請求項5】
請求項1に記載の混合装置であって、
前記混合室は、超臨界状態または亜臨界状態の作動流体の存在下で、前記材料が混合される部分である、
混合装置。
発明の詳細な説明
【技術分野】
【0001】
本発明は、材料を混合する混合装置に関する。
続きを表示(約 1,100 文字)
【背景技術】
【0002】
例えば特許文献1に、混合装置(同文献ではゴム混練機)の混合室(同文献では混練室)の排出口から材料(同文献ではゴム)が排出されることが記載されている。
【先行技術文献】
【特許文献】
【0003】
特開2006-218691号公報
【発明の概要】
【発明が解決しようとする課題】
【0004】
混合室から材料を排出する時に、混合室の底部の材料が排出口に入らず、混合室の底部に材料が残る場合がある。
【0005】
そこで、本発明は、混合室からの材料の排出時に、混合室の底部に材料が残ることを抑制することができる、混合装置を提供することを目的とする。
【課題を解決するための手段】
【0006】
混合装置は、材料が混合される混合室を備える。前記混合室は、混合室底部と、混合室排出口と、を備える。前記混合室底部は、前記混合室の下側部分である。前記混合室排出口は、前記混合室底部に設けられ、前記材料が通ることが可能である。前記混合室の内部に配置されるロータの回転軸が延びる方向をロータ軸方向とする。前記混合室底部は、材料排出傾斜部を備える。前記材料排出傾斜部は、前記ロータ軸方向および鉛直方向のそれぞれに直交する方向から見たときに、前記混合室底部の前記ロータ軸方向における外側部分から前記混合室排出口に向かって下向きに傾斜する。
【発明の効果】
【0007】
上記の混合装置により、混合室からの材料の排出時に、混合室の底部に材料が残ることを抑制することができる。
【図面の簡単な説明】
【0008】
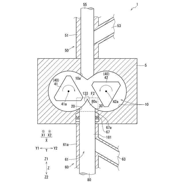
混合装置1を前後方向Xから見た断面図である。
図1に示すF2部分を拡大した図である。
図2のF3矢視図であり、図1に示す混合室底部30などを上側Z1から見た図である。
図2のF4矢視図であり、図1に示す混合室底部30などを右側Y2から見た図である。
変形例1の蓋上部80uなどを示す図4相当図である。
変形例2の蓋上部80uなどを示す図2相当図である。
変形例2の蓋上部80uなどを示す図4相当図であり、図5のF7矢視図である。
【発明を実施するための形態】
【0009】
図1~図4を参照して、実施形態の混合装置1について説明する。
【0010】
混合装置1は、図1に示すように、材料を混合する装置である。混合装置1で行われる「混合」は、混練でもよく(混合装置1は混練装置でもよく)、攪拌でもよい(混合装置1は攪拌装置でもよい)。混合装置1は、例えばバッチ式である。
(【0011】以降は省略されています)
この特許をJ-PlatPat(特許庁公式サイト)で参照する
関連特許
株式会社神戸製鋼所
混練機
1日前
株式会社神戸製鋼所
混練装置
1日前
株式会社神戸製鋼所
混練装置
2日前
株式会社神戸製鋼所
混合装置
1日前
株式会社神戸製鋼所
混合装置
1日前
株式会社神戸製鋼所
遠心圧縮機
15日前
株式会社神戸製鋼所
密閉式混練機
11日前
株式会社神戸製鋼所
残留応力推定方法
11日前
株式会社神戸製鋼所
焼結鉱の製造方法
今日
株式会社神戸製鋼所
スラグ流出予兆検知方法
今日
株式会社神戸製鋼所
Ni基合金フラックス入りワイヤ
11日前
株式会社神戸製鋼所
熱延鋼板の製造方法および熱延鋼板
7日前
株式会社神戸製鋼所
チタン板およびチタン板の製造方法
1日前
株式会社神戸製鋼所
ペールパック用押え板、及びペールパック
7日前
株式会社神戸製鋼所
冷間加工用機械構造用鋼線とその製造方法
今日
株式会社神戸製鋼所
移動機械システムおよび移動機械の運用方法
2日前
株式会社神戸製鋼所
多孔質炭素の製造方法および二酸化炭素分離方法
1日前
株式会社神戸製鋼所
形状解析システム、形状解析方法、及びプログラム
7日前
株式会社神戸製鋼所
ギアボックスの製造方法並びに回転機械の製造方法
7日前
株式会社神戸製鋼所
非調質鍛造用鋼、非調質鍛造鋼および非調質鍛造部品
7日前
株式会社神戸製鋼所
圧延機の板厚制御方法、および、圧延機板厚制御装置
11日前
株式会社神戸製鋼所
二次精錬条件および連続鋳造条件の決定方法と鋼の製造方法
3日前
株式会社神戸製鋼所
摩擦攪拌接合用工具
10日前
株式会社神戸製鋼所
連続鋳造鋳片の単位長さ当たり重量の予測方法および連続鋳造鋳片の切断方法
今日
株式会社神戸製鋼所
ジオポリマー組成物、ジオポリマー硬化体およびジオポリマー硬化体の製造方法
今日
株式会社神戸製鋼所
ジオポリマー組成物、ジオポリマー硬化体およびジオポリマー硬化体の製造方法
今日
株式会社神戸製鋼所
ガスシールドアーク溶接方法、ガスシールドアーク溶接システム、および溶接ワイヤ
1日前
株式会社神戸製鋼所
ガスシールドアーク溶接方法、ガスシールドアーク溶接システム、溶接金属の製造方法、および溶接ワイヤ
1日前
個人
気泡緩衝材減容装置
16日前
東レ株式会社
吹出しノズル
10か月前
豊田鉄工株式会社
金型
2か月前
シーメット株式会社
光造形装置
9か月前
CKD株式会社
型用台車
9か月前
東レ株式会社
フィルムの製造方法
3か月前
グンゼ株式会社
ピン
10か月前
東レ株式会社
フィルムの製造方法
6か月前
続きを見る
他の特許を見る