TOP
|
特許
|
意匠
|
商標
特許ウォッチ
Twitter
他の特許を見る
公開番号
2025150813
公報種別
公開特許公報(A)
公開日
2025-10-09
出願番号
2024051919
出願日
2024-03-27
発明の名称
混合装置
出願人
株式会社神戸製鋼所
代理人
弁理士法人ATEN
主分類
B29B
7/28 20060101AFI20251002BHJP(プラスチックの加工;可塑状態の物質の加工一般)
要約
【課題】混合室からの材料の排出時に、混合室の内部に材料が残ることを抑制する。
【解決手段】混合室10は、材料を排出するための混合室排出口15を有し、材料が混合される部分である。圧力センサ71は、混合室10の内部の流体の圧力を検出する。ドア45は、混合室排出口15を開閉する。材料排出部43は、混合室排出口15を通った材料が排出される部分である。ドア45が混合室排出口15を閉じた状態で混合室10の内部の流体の圧力が調整され、圧力センサ71に検出された圧力(P10)が設定圧力Psになった場合に、コントローラ80は、混合室排出口15を開くようにドア45を動かす。設定圧力Psは、材料排出部43の内部の圧力よりも高い。
【選択図】図4
特許請求の範囲
【請求項1】
材料を排出するための混合室排出口を有し、前記材料が混合される部分である混合室と、
前記混合室の内部の流体の圧力を検出する圧力センサと、
前記混合室排出口を開閉するドアと、
前記混合室排出口を通った前記材料が排出される部分である材料排出部と、
前記ドアの開閉を制御するコントローラと、
を備え、
前記ドアが前記混合室排出口を閉じた状態で前記混合室の内部の前記流体の圧力が調整され、前記圧力センサに検出された圧力が、前記材料排出部の内部の圧力よりも高い設定圧力になった場合に、前記コントローラは、前記混合室排出口を開くように前記ドアを動かす、
混合装置。
続きを表示(約 1,100 文字)
【請求項2】
請求項1に記載の混合装置であって、
前記混合室の内部に前記流体を供給可能な流体供給部と、
前記混合室の内部の前記材料の有無を示す情報を検出する材料センサと、
を備え、
前記コントローラは、前記ドアが前記混合室排出口を開いた後に、前記材料センサに検出された情報に基づいて前記混合室の内部に前記材料が残っているか否かを判定し、
前記コントローラは、前記混合室の内部に前記材料が残っていると判定した場合、前記混合室排出口を閉じるように前記ドアを動かし、前記混合室の内部の圧力が前記設定圧力に昇圧されるように前記流体供給部を制御する、
混合装置。
【請求項3】
請求項2に記載の混合装置であって、
前記材料センサは、前記混合室の内部に配置されるロータの回転トルクを検出し、
前記コントローラは、前記材料センサに検出された前記ロータの回転トルクに基づいて、前記混合室の内部に前記材料が残っているか否かを判定する、
混合装置。
【請求項4】
請求項1に記載の混合装置であって、
前記ドアが前記混合室排出口を開閉することが可能となるように前記ドアを支持し、前記混合室の内部と連通するドア支持通路と、
前記ドア支持通路と前記ドアとの隙間を密閉するシールと、
材料侵入防止材と、
を備え、
前記シールは、前記シールの前記混合室側の部分に設けられた凹部であるシール凹部を備え、
前記材料侵入防止材は、前記シール凹部を前記混合室側から覆うように配置される、
混合装置。
【請求項5】
請求項1に記載の混合装置であって、
前記ドアが前記混合室排出口を開閉することが可能となるように前記ドアを支持し、前記混合室の内部と連通するドア支持通路と、
前記ドア支持通路と前記ドアとの隙間を密閉する複数のシールと、
を備え、
前記材料排出部は、前記ドア支持通路から分岐し、前記ドア支持通路を介して前記混合室の内部と連通するように構成され、
前記複数のシールのうち少なくとも1つの前記シールは、前記ドア支持通路から前記材料排出部が分岐する位置よりも、前記混合室とは反対側に配置される、
混合装置。
【請求項6】
請求項1に記載の混合装置であって、
前記混合室は、超臨界状態または亜臨界状態の作動流体の存在下で、前記材料が混合される部分である、
混合装置。
発明の詳細な説明
【技術分野】
【0001】
本発明は、材料を混合する混合装置に関する。
続きを表示(約 1,100 文字)
【背景技術】
【0002】
例えば特許文献1に、混合装置(同文献ではゴム混練機)の混合室(同文献では混練室)の排出口から材料(同文献ではゴム)が排出されることが記載されている。
【先行技術文献】
【特許文献】
【0003】
特開2006-218691号公報
【発明の概要】
【発明が解決しようとする課題】
【0004】
混合室から材料を排出する時に、混合室の材料が排出口に入らず、混合室に材料が残る場合がある。
【0005】
そこで、本発明は、混合室からの材料の排出時に、混合室の内部に材料が残ることを抑制することができる混合装置を提供することを目的とする。
【課題を解決するための手段】
【0006】
混合装置は、混合室と、圧力センサと、ドアと、材料排出部と、コントローラと、を備える。前記混合室は、材料を排出するための混合室排出口を有する。前記混合室は、前記材料が混合される部分である。前記圧力センサは、前記混合室の内部の流体の圧力を検出する。前記ドアは、前記混合室排出口を開閉する。前記材料排出部は、前記混合室排出口を通った前記材料が排出される部分である。前記コントローラは、前記ドアの開閉を制御する。前記ドアが前記混合室排出口を閉じた状態で前記混合室の内部の前記流体の圧力が調整され、前記圧力センサに検出された圧力が、設定圧力になった場合に、前記コントローラは、前記混合室排出口を開くように前記ドアを動かす。前記設定圧力は、前記材料排出部の内部の圧力よりも高い。
【発明の効果】
【0007】
上記の混合装置により、混合室からの材料の排出時に、混合室の内部に材料が残ることを抑制することができる。
【図面の簡単な説明】
【0008】
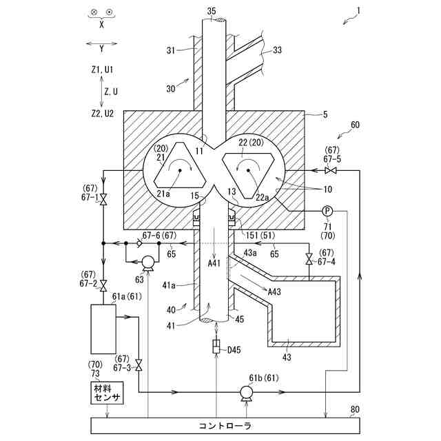
混合装置1の断面図である。
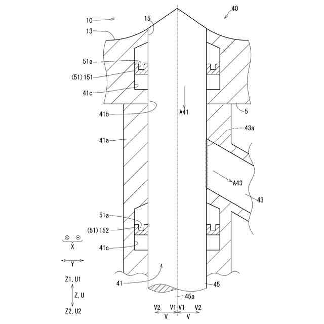
図1に示すドア支持通路41などを示す断面図である。
図1に示す混合室底部13などを上側Z1から見た図である。
図1に示すコントローラ80の処理のフローチャートである。
変形例の図2相当図である。
【発明を実施するための形態】
【0009】
図1~図4を参照し、実施形態の混合装置1について説明する。
【0010】
混合装置1は、図1に示すように、材料を混合する装置である。混合装置1で行われる「混合」は、混練でもよく(混合装置1は混練装置でもよく)、攪拌でもよい(混合装置1は攪拌装置でもよい)。混合装置1は、例えばバッチ式である。
(【0011】以降は省略されています)
この特許をJ-PlatPat(特許庁公式サイト)で参照する
関連特許
株式会社神戸製鋼所
混練機
1日前
株式会社神戸製鋼所
混合装置
1日前
株式会社神戸製鋼所
混練装置
2日前
株式会社神戸製鋼所
混合装置
1日前
株式会社神戸製鋼所
混練装置
1日前
株式会社神戸製鋼所
焼結鉱の製造方法
今日
株式会社神戸製鋼所
スラグ流出予兆検知方法
今日
株式会社神戸製鋼所
チタン板およびチタン板の製造方法
1日前
株式会社神戸製鋼所
冷間加工用機械構造用鋼線とその製造方法
今日
株式会社神戸製鋼所
移動機械システムおよび移動機械の運用方法
2日前
株式会社神戸製鋼所
多孔質炭素の製造方法および二酸化炭素分離方法
1日前
株式会社神戸製鋼所
二次精錬条件および連続鋳造条件の決定方法と鋼の製造方法
3日前
株式会社神戸製鋼所
連続鋳造鋳片の単位長さ当たり重量の予測方法および連続鋳造鋳片の切断方法
今日
株式会社神戸製鋼所
ジオポリマー組成物、ジオポリマー硬化体およびジオポリマー硬化体の製造方法
今日
株式会社神戸製鋼所
ジオポリマー組成物、ジオポリマー硬化体およびジオポリマー硬化体の製造方法
今日
株式会社神戸製鋼所
ガスシールドアーク溶接方法、ガスシールドアーク溶接システム、および溶接ワイヤ
1日前
株式会社神戸製鋼所
ガスシールドアーク溶接方法、ガスシールドアーク溶接システム、溶接金属の製造方法、および溶接ワイヤ
1日前
個人
気泡緩衝材減容装置
16日前
豊田鉄工株式会社
金型
2か月前
東レ株式会社
フィルムの製造方法
6か月前
東レ株式会社
フィルムの製造方法
3か月前
東レ株式会社
フィルムの製造方法
3か月前
東レ株式会社
フィルムの製造方法。
2か月前
株式会社カワタ
計量混合装置
4か月前
日機装株式会社
加圧システム
5か月前
株式会社漆原
シートの成形方法
4か月前
東レ株式会社
樹脂フィルムの製造方法
4か月前
トヨタ自動車株式会社
射出装置
7か月前
NOK株式会社
樹脂ゴム複合体
1か月前
株式会社不二越
射出成形機
6か月前
株式会社コスメック
射出成形装置
4か月前
株式会社不二越
射出成形機
6か月前
株式会社不二越
射出成形機
4か月前
東レ株式会社
炭素繊維シートの製造方法
5か月前
株式会社不二越
射出成形機
6か月前
株式会社不二越
射出成形機
1か月前
続きを見る
他の特許を見る