TOP
|
特許
|
意匠
|
商標
特許ウォッチ
Twitter
他の特許を見る
10個以上の画像は省略されています。
公開番号
2025145822
公報種別
公開特許公報(A)
公開日
2025-10-03
出願番号
2024046264
出願日
2024-03-22
発明の名称
接続端子およびモータステータ
出願人
多摩川精機株式会社
代理人
個人
,
個人
,
個人
,
個人
主分類
H02K
3/18 20060101AFI20250926BHJP(電力の発電,変換,配電)
要約
【課題】コイルとリード線とを電気的に接続する作業の効率を向上させることができる接続端子を得る。
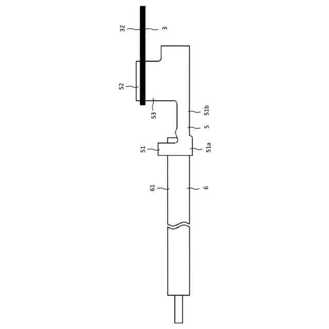
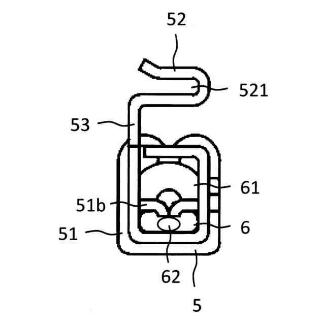
【解決手段】この接続端子5は、リード線6に接続されるリード線接続部51と、コイル3の引出線部32に接続されるコイル接続部52と、リード線接続部51とコイル接続部52とに渡って設けられた連結部53と、を備え、コイル接続部52には、引出線部32が挿入される引出線用溝521が形成されており、引出線用溝521に引出線部32が挿入されることによって、引出線部32がコイル接続部52に保持される。
【選択図】図4
特許請求の範囲
【請求項1】
リード線(6)に接続されるリード線接続部(51)と、
コイル(3)の引出線部(32)に接続されるコイル接続部(52)と、
前記リード線接続部(51)と前記コイル接続部(52)とに渡って設けられた連結部(53)と、
を備え、
前記コイル接続部(52)には、前記引出線部(32)が挿入される引出線用溝(521)が形成されており、
前記引出線用溝(521)に前記引出線部(32)が挿入されることによって、前記引出線部(32)が前記コイル接続部(52)に保持される接続端子。
続きを表示(約 2,300 文字)
【請求項2】
前記コイル接続部(52)の形状は、U字状に形成されており、
U字状に形成された前記コイル接続部(52)の内周面が前記引出線用溝(521)の内周面になっており、
U字状に形成された前記コイル接続部(52)の内側に前記引出線部(32)が差し込まれることによって、前記引出線部(32)が前記コイル接続部(52)に保持される請求項1に記載の接続端子。
【請求項3】
ステータコア(1)と、
前記ステータコア(1)に設けられたボビン(2)と、
前記ボビン(2)を介して前記ステータコア(1)に設けられたコイル(3)と、
前記ステータコア(1)に設けられた端子取付部材(4)と、
前記端子取付部材(4)に取り付けられた接続端子(5)と、
を備え、
前記接続端子(5)は、
リード線(6)に接続されたリード線接続部(51)と、
前記コイル(3)の引出線部(32)に接続されたコイル接続部(52)と、
前記リード線接続部(51)と前記コイル接続部(52)とに渡って設けられた連結部(53)と、
を有し、
前記コイル接続部(52)には、前記引出線部(32)が挿入される引出線用溝(521)が形成されており、
前記引出線用溝(521)に前記引出線部(32)が挿入されることによって、前記引出線部(32)が前記コイル接続部(52)に保持されているモータステータ。
【請求項4】
前記コイル接続部(52)の形状は、U字状に形成されており、
U字状に形成された前記コイル接続部(52)の内周面が前記引出線用溝(521)の内周面になっており、
U字状に形成された前記コイル接続部(52)の内側に前記引出線部(32)が差し込まれることによって、前記引出線部(32)が前記コイル接続部(52)に保持されている請求項3に記載のモータステータ。
【請求項5】
ステータコア(1)と、
前記ステータコア(1)に設けられたボビン(2)と、
前記ボビン(2)を介して前記ステータコア(1)に設けられたコイル(3)と、
前記ステータコア(1)に設けられた端子取付部材(4)と、
前記端子取付部材(4)に取り付けられた接続端子(5)と、
を備え、
前記接続端子(5)は、
リード線(6)に接続されたリード線接続部(51)と、
前記コイル(3)の引出線部(32)に接続されたコイル接続部(52)と、
前記リード線接続部(51)と前記コイル接続部(52)とに渡って設けられた連結部(53)と、
を有し、
前記端子取付部材(4)には、前記引出線部(32)が挿入される引出線用溝が形成されており、
前記引出線用溝に前記引出線部(32)が挿入されることによって、前記引出線部(32)が前記端子取付部材(4)に保持されているモータステータ。
【請求項6】
前記端子取付部材(4)は、U字形状に形成されたU字部を有し、
前記U字部の内周面が前記引出線用溝の内周面になっており、
前記U字部の内側に前記引出線部(32)が差し込まれることによって、前記引出線部(32)が前記U字部に保持されている請求項5に記載のモータステータ。
【請求項7】
前記引出線用溝(521)に前記引出線部(32)が挿入された状態で、半田(7)を介して前記引出線部(32)と前記コイル接続部(52)とが互いに電気的に接続されている請求項3または請求項4に記載のモータステータ。
【請求項8】
前記接続端子(5)は、抜け防止爪(54)を有し、
前記端子取付部材(4)には、前記リード線接続部(51)が挿入された端子挿入穴(41)が形成されており、
前記端子取付部材(4)は、前記リード線接続部(51)が前記端子挿入穴(41)に挿入された場合に前記抜け防止爪(54)が引っ掛かる爪掛け部(43)を有し、
前記抜け防止爪(54)が前記爪掛け部(43)に引っ掛かることによって、前記リード線接続部(51)が前記端子挿入穴(41)から引き抜かれることが抑制されている請求項3または請求項4に記載のモータステータ。
【請求項9】
前記端子取付部材(4)は、抜け防止爪を有し、
前記端子取付部材(4)には、前記リード線接続部(51)が挿入された端子挿入穴(41)が形成されており、
前記接続端子(5)は、前記リード線接続部(51)が前記端子挿入穴(41)に挿入された場合に前記抜け防止爪が引っ掛かる爪掛け部を有し、
前記抜け防止爪が前記爪掛け部に引っ掛かることによって、前記リード線接続部(51)が前記端子挿入穴(41)から引き抜かれることが抑制されている請求項3または請求項4に記載のモータステータ。
【請求項10】
前記端子取付部材(4)には、前記端子取付部材(4)の外側から前記端子挿入穴(41)に繋がった端子引出用溝(42)が形成されており、
前記リード線接続部(51)が前記端子挿入穴(41)に挿入され、前記連結部(53)が前記端子引出用溝(42)に挿入された状態で、前記コイル接続部(52)が前記端子取付部材(4)の外側に配置されている請求項8に記載のモータステータ。
(【請求項11】以降は省略されています)
発明の詳細な説明
【技術分野】
【0001】
この発明は、コイルとリード線とを互いに電気的に接続する接続端子および接続端子を備えたモータステータに関する。
続きを表示(約 2,900 文字)
【背景技術】
【0002】
従来、コイルとリード線とを互いに電気的に接続する接続端子が知られている。コイルは、ボビンに巻かれている巻線部と、巻線部から引き出された引出線部と、を備えている。引出線部は、接続端子に巻き付けられた状態で、半田を介して接続端子に電気的に接続されている。接続端子には、リード線が電気的に接続されている(例えば、特許文献1参照)。
【先行技術文献】
【特許文献】
【0003】
実開平5-48559号公報
【発明の概要】
【発明が解決しようとする課題】
【0004】
しかしながら、特許文献1に記載された接続端子の構成では、コイルの引出線部が接続端子に巻き付けられた後に、コイルの引出線部が接続端子から外れないようにしながら、半田を介してコイルの引出線部が接続端子に接続される。これにより、コイルとリード線とを電気的に接続する作業の効率が悪いという問題点があった。
【0005】
この発明は、上述のような課題を解決するためになされたものであり、その目的は、コイルとリード線とを互いに電気的に接続する作業の効率を向上させることができる接続端子およびモータステータを提供するものである。
【課題を解決するための手段】
【0006】
この発明に係る接続端子は、リード線に接続されるリード線接続部と、コイルの引出線部に接続されるコイル接続部と、リード線接続部とコイル接続部とに渡って設けられた連結部と、を備え、コイル接続部には、引出線部が挿入される引出線用溝が形成されており、引出線用溝に引出線部が挿入されることによって、引出線部がコイル接続部に保持される。
この発明に係る接続端子では、コイル接続部の形状は、U字状に形成されており、U字状に形成されたコイル接続部の内周面が引出線用溝の内周面になっており、U字状に形成されたコイル接続部の内側に引出線部が差し込まれることによって、引出線部がコイル接続部に保持される。
この発明に係るモータステータは、ステータコアと、ステータコアに設けられたボビンと、ボビンを介してステータコアに設けられたコイルと、ステータコアに設けられた端子取付部材と、端子取付部材に取り付けられた接続端子と、を備え、接続端子は、リード線に接続されたリード線接続部と、コイルの引出線部に接続されたコイル接続部と、リード線接続部とコイル接続部とに渡って設けられた連結部と、を有し、コイル接続部には、引出線部が挿入される引出線用溝が形成されており、引出線用溝に引出線部が挿入されることによって、引出線部がコイル接続部に保持されている。
この発明に係るモータステータでは、コイル接続部の形状は、U字状に形成されており、U字状に形成されたコイル接続部の内周面が引出線用溝の内周面になっており、U字状に形成されたコイル接続部の内側に引出線部が差し込まれることによって、引出線部がコイル接続部に保持されている。
この発明に係るモータステータは、ステータコアと、ステータコアに設けられたボビンと、ボビンを介してステータコアに設けられたコイルと、ステータコアに設けられた端子取付部材と、端子取付部材に取り付けられた接続端子と、を備え、接続端子は、リード線に接続されたリード線接続部と、コイルの引出線部に接続されたコイル接続部と、リード線接続部とコイル接続部とに渡って設けられた連結部と、を有し、端子取付部材には、引出線部が挿入される引出線用溝が形成されており、引出線用溝に引出線部が挿入されることによって、引出線部が端子取付部材に保持されている。
この発明に係るモータステータでは、端子取付部材は、U字形状に形成されたU字部を有し、U字部の内周面が引出線用溝の内周面になっており、U字部の内側に引出線部が差し込まれることによって、引出線部がU字部に保持されている。
この発明に係るモータステータでは、引出線用溝に引出線部が挿入された状態で、半田を介して引出線部とコイル接続部とが互いに電気的に接続されている。
この発明に係るモータステータでは、接続端子は、抜け防止爪を有し、端子取付部材には、リード線接続部が挿入された端子挿入穴が形成されており、端子取付部材は、リード線接続部が端子挿入穴に挿入された場合に抜け防止爪が引っ掛かる爪掛け部を有し、抜け防止爪が爪掛け部に引っ掛かることによって、リード線接続部が端子挿入穴から引き抜かれることが抑制されている。
この発明に係るモータステータでは、端子取付部材は、抜け防止爪を有し、端子取付部材には、リード線接続部が挿入された端子挿入穴が形成されており、接続端子は、リード線接続部が端子挿入穴に挿入された場合に抜け防止爪が引っ掛かる爪掛け部を有し、抜け防止爪が爪掛け部に引っ掛かることによって、リード線接続部が端子挿入穴から引き抜かれることが抑制されている。
この発明に係るモータステータでは、端子取付部材には、端子取付部材の外側から端子挿入穴に繋がった端子引出用溝が形成されており、リード線接続部が端子挿入穴に挿入され、連結部が端子引出用溝に挿入された状態で、コイル接続部が端子取付部材の外側に配置されている。
この発明に係るモータステータでは、ボビンおよび端子取付部材は、互いに一体に形成されている。
【発明の効果】
【0007】
この発明に係る接続端子およびモータステータによれば、コイルとリード線とを互いに電気的に接続する作業の効率を向上させることができる。
【図面の簡単な説明】
【0008】
実施の形態1に係るモータステータを示す平面図である。
図1のモータステータを示す正面図である。
図1のA部を示す拡大図である。
図2のB部を示す拡大図である。
図3の接続端子を示す平面図である。
図3の接続端子を示す左側面図である。
図3の接続端子を示す右側面図である。
図5の接続端子を示す左側面図である。
図5の接続端子を示す右側面図である。
比較例のモータステータを示す平面図である。
図10のモータステータを示す正面図である。
図10のコイルとリード線とを互いに電気的に接続する方法を説明する図である。
【発明を実施するための形態】
【0009】
実施の形態1.
図1は、実施の形態1に係るモータステータを示す平面図である。図2は、図1のモータステータを示す正面図である。実施の形態1に係るモータステータは、ステータコア1と、ボビン2と、複数のコイル3と、端子取付部材4と、複数の接続端子5と、を備えている。
【0010】
ステータコア1は、コアバック11と、コアバック11に設けられた複数のティース12と、を備えている。コアバック11の形状は、環状に形成されている。
(【0011】以降は省略されています)
この特許をJ-PlatPat(特許庁公式サイト)で参照する
関連特許
多摩川精機株式会社
電流センサ
1か月前
多摩川精機株式会社
リニアアクチュエータ
7日前
多摩川精機株式会社
目印構造付きエンコーダ
19日前
多摩川精機株式会社
ステータ構造及び回転電機
11日前
多摩川精機株式会社
エンコーダ及び計測システム
25日前
多摩川精機株式会社
エンコーダ及び計測システム
1か月前
多摩川精機株式会社
エンコーダ及び計測システム
1か月前
多摩川精機株式会社
接続端子およびモータステータ
3日前
多摩川精機株式会社
回転電機コア、電磁鋼板、回転電機ステータ、および回転電機
11日前
多摩川精機株式会社
アキシャルギャップ型レゾルバ、その組立て方法、およびレゾルバ付きモータ
1か月前
多摩川精機株式会社
C型クランプ構造付きエンコーダ、エンコーダフレーム、エンコーダ取付け構造、およびエンコーダ搭載モータ
19日前
個人
電源装置
18日前
個人
バッテリ内蔵直流電源
17日前
株式会社FUJI
制御盤
7日前
オムロン株式会社
電源回路
11日前
オムロン株式会社
電源回路
11日前
オムロン株式会社
電源回路
11日前
ニデック株式会社
モータの制御方法
25日前
トヨタ自動車株式会社
回転子
3日前
日産自動車株式会社
電子機器
28日前
トヨタ自動車株式会社
回転子
18日前
ミサワホーム株式会社
居住設備
7日前
大豊工業株式会社
モータ
17日前
東京応化工業株式会社
発電装置
11日前
井関農機株式会社
充電システム
28日前
トヨタ自動車株式会社
溶接装置
1か月前
株式会社リコー
拡張アンテナ装置
10日前
富士電子工業株式会社
電力変換装置
19日前
ユタカ電業株式会社
ケーブルダクト
7日前
日産自動車株式会社
ステータ
4日前
ニチコン株式会社
AC入力検出回路
3日前
トヨタ自動車株式会社
ロータ
5日前
株式会社大林組
可搬式充電設備
4日前
株式会社ダイヘン
電力管理装置
26日前
株式会社デンソー
電力変換装置
3日前
株式会社アイシン
直流回転電機
1か月前
続きを見る
他の特許を見る