TOP
|
特許
|
意匠
|
商標
特許ウォッチ
Twitter
他の特許を見る
10個以上の画像は省略されています。
公開番号
2025151074
公報種別
公開特許公報(A)
公開日
2025-10-09
出願番号
2024052308
出願日
2024-03-27
発明の名称
地盤改良体、地盤改良体の構築方法及び基礎構造
出願人
公益財団法人鉄道総合技術研究所
,
東急建設株式会社
代理人
弁護士法人クレオ国際法律特許事務所
主分類
E02D
27/32 20060101AFI20251002BHJP(水工;基礎;土砂の移送)
要約
【課題】簡易な構成により補強を行うことが可能になる地盤改良体、地盤改良体の構築方法及び基礎構造を提供する。
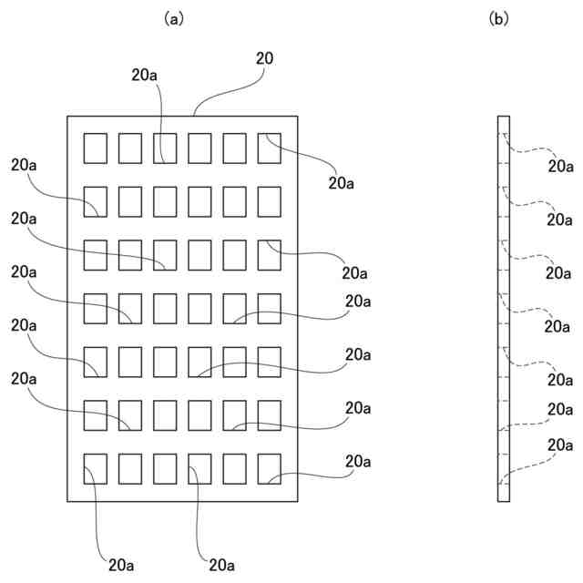
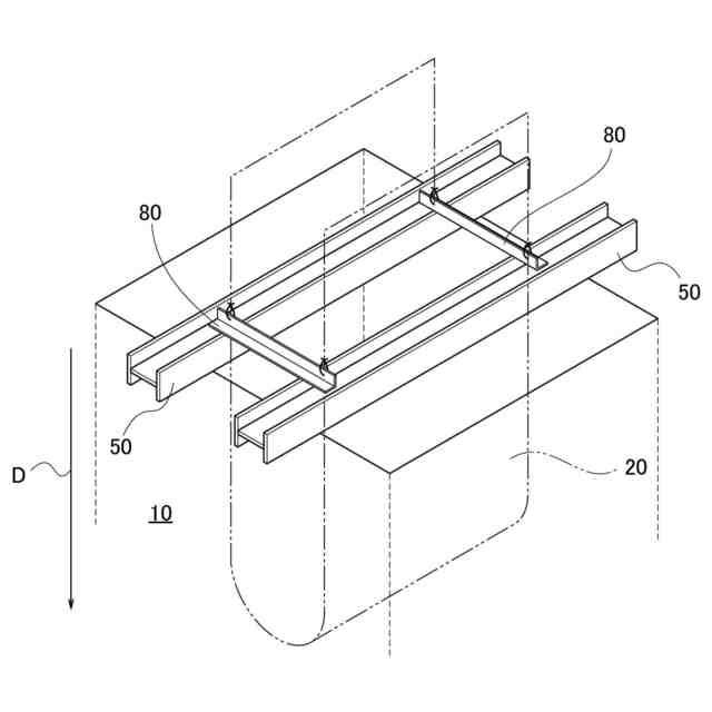
【解決手段】地盤の表面から下方側に壁状に形成される地盤改良体1は、土砂と固化材とが混合されて壁状に形成される本体部10と、硬化前の本体部10に地表から押し込まれて面状に埋設されて一体化される面状補強体20とを備え、本体部10において面状補強体20は地表から下方側に延びている。面状補強体20は、本体部10の厚さ方向に間隔をおいて複数層が形成されている。
【選択図】図1
特許請求の範囲
【請求項1】
地盤の表面から下方側に壁状に形成される地盤改良体であって、
土砂と固化材とが混合されて壁状に形成される本体部と、
前記本体部に面状に埋設されて一体化される面状補強体とを備え、
前記本体部において前記面状補強体は地表から下方側に延びていることを特徴とする地盤改良体。
続きを表示(約 590 文字)
【請求項2】
前記面状補強体は、前記本体部の厚さ方向に間隔をおいて複数層が形成されることを特徴とする請求項1に記載の地盤改良体。
【請求項3】
前記面状補強体には、厚さ方向に貫通する複数の貫通孔が形成されていることを特徴とする請求項1又は2に記載の地盤改良体。
【請求項4】
地盤の表面から下方側に壁状に形成される地盤改良体の構築方法であって、
土砂と固化材とが混合されて形成された壁状の本体部を形成する地盤改良工程と、
硬化前の前記本体部に地表から面状補強体を押し込む埋設工程とを備えたことを特徴とする地盤改良体の構築方法。
【請求項5】
前記埋設工程では、前記面状補強体の下端側に配置された前記本体部の幅方向が長手方向になる棒状体を深さ方向に押し込むことによって行われることを特徴とする請求項4に記載の地盤改良体の構築方法。
【請求項6】
前記地盤の表面に設けられる基礎構造体に前記面状補強体の上端を接続させる接続工程を備えたことを特徴とする請求項4又は5に記載の地盤改良体の構築方法。
【請求項7】
請求項6に記載の地盤改良体の構築方法により構築された基礎構造であって、
前記上端と前記本体部との間には、縁切り部材が介在されていることを特徴とする基礎構造。
発明の詳細な説明
【技術分野】
【0001】
本発明は、地盤改良体、地盤改良体の構築方法及び基礎構造に関するものである。
続きを表示(約 1,200 文字)
【背景技術】
【0002】
トンネルや橋梁をはじめとする公共インフラの老朽化に伴い、基礎構造を補強することが必須となっている。基礎構造を補強する場合には、地中に多数のシートパイルや鋼管矢板を打ち込み、地盤の強度を向上させることが行われる。これにより、基礎構造の耐震性を向上させ、大掛かりな改修工事を回避することができる。
【0003】
例えば、特許文献1には、既設基礎の補強構造が開示されている。この発明では、既設基礎の外側を取り囲むように突起付き鋼板から構成される第一型枠を設置し、第一型枠の外側を取り囲むように鋼管矢板から構成される第二型枠を設置し、第一型枠と第二型枠との間にコンクリート等の充填材を充填し既設基礎、第一型枠及び第二型枠を一体化して橋脚の新たな基礎を構築する。このような構成により、鋼管矢板を用いて橋脚などの既設基礎を傷つけることなく補強することができる。
【先行技術文献】
【特許文献】
【0004】
特開2010-095907号公報
【発明の概要】
【発明が解決しようとする課題】
【0005】
ところで、規模の大きい橋梁の橋脚を補強する場合には鋼管矢板を用いて作業することが必要になることもあるが、比較的小規模の既設橋梁などを補強する場合には過大設計となり合理的でない場合がある。
【0006】
そこで、本発明は、簡易な構成により補強を行うことが可能になる地盤改良体、地盤改良体の構築方法及び基礎構造を提供することを目的としている。
【課題を解決するための手段】
【0007】
上記課題に対して、本発明の地盤改良体は、地盤の表面から下方側に壁状に形成される地盤改良体であって、土砂と固化材とが混合されて壁状に形成される本体部と、前記本体部に面状に埋設されて一体化される面状補強体とを備え、前記本体部において前記面状補強体は地表から下方側に延びていることを特徴とする。
【0008】
ここで、前記面状補強体は、前記本体部の厚さ方向に間隔をおいて複数層が形成されることが望ましい。また、前記面状補強体には、厚さ方向に貫通する複数の貫通孔が形成されていることが望ましい。
【0009】
また、本発明の地盤改良体の構築方法は、地盤の表面から下方側に壁状に形成される地盤改良体の構築方法であって、土砂と固化材とが混合されて形成された壁状の本体部を形成する地盤改良工程と、硬化前の前記本体部に地表から面状補強体を押し込む埋設工程とを備えたことを特徴とする。
【0010】
ここで、前記埋設工程では、前記面状補強体の下端側に配置された前記本体部の幅方向が長手方向になる棒状体を深さ方向に押し込むことによって行われることが望ましい。また、前記埋設工程では、前記地盤の表面に設けられる基礎構造体に前記面状補強体の上端を接続させることが望ましい。
(【0011】以降は省略されています)
この特許をJ-PlatPat(特許庁公式サイト)で参照する
関連特許
個人
鋼管
22日前
FKS株式会社
擁壁
11日前
鈴健興業株式会社
敷板部材
7日前
株式会社奥村組
ケーソン工法
14日前
株式会社クボタ
作業車
9日前
株式会社クボタ
作業車
9日前
株式会社ネクステリア
平板基礎
7日前
個人
擁壁用ブロックおよび擁壁
8日前
株式会社奥村組
ケーソン刃口金物
14日前
株式会社大林組
建物の構造
8日前
株式会社熊谷組
密度計測方法
9日前
株式会社熊谷組
地盤改良方法
3日前
株式会社大林組
袋体付き排水パイプ
21日前
株式会社大林組
袋体付き排水パイプ
21日前
日立建機株式会社
建設機械
1日前
日立建機株式会社
建設機械
7日前
日立建機株式会社
作業機械
29日前
日立建機株式会社
建設機械
1日前
日立建機株式会社
作業機械
1日前
ヤマト発動機株式会社
浮遊型消波装置
11日前
日立建機株式会社
作業機械
11日前
大和ハウス工業株式会社
杭抜き先端具
15日前
ゼニヤ海洋サービス株式会社
通船ゲート
21日前
ライト工業株式会社
鉄筋保持用治具
1日前
鹿島建設株式会社
接続方法および接続構造
21日前
カナデビア株式会社
サクション基礎
1日前
株式会社フジタ
掘削機
1か月前
株式会社フジタ
建築物とその施工方法
21日前
JFEスチール株式会社
鋼管矢板の継手構造
23日前
JFEスチール株式会社
鋼管矢板の継手構造
23日前
日立建機株式会社
電動式作業機械
7日前
JFEスチール株式会社
鋼管矢板の継手構造
11日前
JFEスチール株式会社
鋼管矢板の継手構造
1日前
株式会社日立建機ティエラ
建設機械
2日前
株式会社大林組
建物の構築方法及び建物
21日前
浙江工業大学
多機能土柱モデル装置及び使用方法
7日前
続きを見る
他の特許を見る