TOP
|
特許
|
意匠
|
商標
特許ウォッチ
Twitter
他の特許を見る
10個以上の画像は省略されています。
公開番号
2025151405
公報種別
公開特許公報(A)
公開日
2025-10-09
出願番号
2024052809
出願日
2024-03-28
発明の名称
鳥獣忌避具
出願人
個人
,
個人
,
個人
,
個人
,
個人
,
個人
,
個人
代理人
個人
主分類
A01M
29/12 20110101AFI20251002BHJP(農業;林業;畜産;狩猟;捕獲;漁業)
要約
【課題】長期にわたって安定した鳥獣忌避効果を発揮することができる鳥獣忌避具を提供することを目的とする。
【解決手段】鳥獣忌避具1は、硫黄化合物を含む鳥獣忌避剤2と、内側に鳥獣忌避剤2を収容し、内側から外側に通じる複数の通気口を有する収容部材3と、内部に収容部材3を保持し、上方が封止され、下方が開放された筒状の保持部4と、を備える。鳥獣忌避剤2は、植物繊維に硫酸イオンを含有する温泉水と湯の花を混合して製造される。
【選択図】図2
特許請求の範囲
【請求項1】
硫黄化合物を含む鳥獣忌避剤と、
内側に前記鳥獣忌避剤を収容し、前記内側から外側に通じる複数の通気口を有する収容部材と、
内部に前記収容部材を保持し、上方が封止され、下方が開放された筒状の保持部と、を備える、鳥獣忌避具。
続きを表示(約 130 文字)
【請求項2】
前記鳥獣忌避剤は、植物繊維に硫酸イオンを含有する温泉水を混合して製造される、請求項1に記載の鳥獣忌避具。
【請求項3】
前記鳥獣忌避剤は、植物繊維に前記温泉水と湯の花を混合して製造される、請求項2に記載の鳥獣忌避具。
発明の詳細な説明
【技術分野】
【0001】
本発明は、畑などに設置して鳥獣を忌避させる鳥獣忌避具に関する。
続きを表示(約 1,800 文字)
【背景技術】
【0002】
里山などから出没して畑、菜園、ビールハウス、果樹園などを食い荒らす猪やカラスなどの鳥獣が畑などに近づかないように忌避させる鳥獣忌避具として、硫黄が蒸発したガスを発生させるものが知られている(例えば特許文献1)。特許文献1には、底部にガス通過孔を有し、硫黄又は硫黄混合物からなり硫黄昇華ガスを発生する忌避剤を収容する忌避剤収容部と、ガス通過孔を通過した硫黄昇華ガスを貯留するとともに、上方の側部に設けられたガス流出孔から硫黄昇華ガスを外部に流出させるガス貯留部を備えた動物忌避器が開示されている。特許文献1の動物忌避器は、ガス貯留部に貯留された高濃度の硫黄昇華ガスを周囲に流出させて、鳥獣を忌避させる。
【先行技術文献】
【特許文献】
【0003】
特開2012-115202号公報
【発明の概要】
【発明が解決しようとする課題】
【0004】
特許文献1を含む従来技術は、収容する固体の硫黄から発生した硫黄昇華ガスを一旦貯留させてから周囲に流出させるものであるため、設置個所の気温や日照りにより発生する硫黄昇華ガスの量や濃度が大きく変動するという問題点があり、長期にわたって安定した鳥獣忌避効果が得られるようにするためには更なる改善の余地があった。
【0005】
そこで本発明は、長期にわたって安定した鳥獣忌避効果を発揮することができる鳥獣忌避具を提供することを目的とする。
【課題を解決するための手段】
【0006】
本発明の鳥獣忌避具は、硫黄化合物を含む鳥獣忌避剤と、内側に前記鳥獣忌避剤を収容し、前記内側から外側に通じる複数の通気口を有する収容部材と、内部に前記収容部材を保持し、上方が封止され、下方が開放された筒状の保持部と、を備える。
【発明の効果】
【0007】
本発明によれば、長期にわたって安定した鳥獣忌避効果を発揮することができる。
【図面の簡単な説明】
【0008】
本発明の一実施の形態における鳥獣忌避具の斜視図
本発明の一実施の形態における鳥獣忌避具の(a)正面図(b)底面図
本発明の一実施の形態における鳥獣忌避剤の製造方法のフロー図
本発明の一実施の形態における鳥獣忌避具の製造工程の説明図
本発明の一実施の形態における鳥獣忌避具の製造工程の説明図
本発明の一実施の形態における鳥獣忌避具の製造工程の説明図
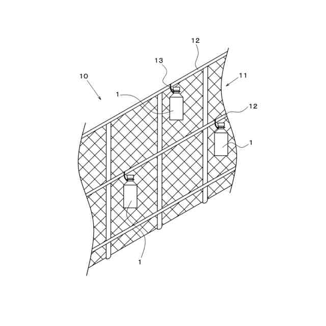
本発明の一実施の形態における鳥獣忌避具の使用方法の一例の説明図
本発明の一実施の形態における鳥獣忌避剤の実施例の製造に使用された温泉水の分析書
本発明の一実施の形態における鳥獣忌避剤の実施例を示す写真
本発明の一実施の形態における鳥獣忌避具の使用結果を示す表
(a)(b)本発明の一実施の形態における鳥獣忌避具を民家の空き地に設置した例を示す写真
本発明の一実施の形態における鳥獣忌避具を家庭菜園に設置した例を示す写真
本発明の一実施の形態における鳥獣忌避具を里山の森林に設置した例を示す写真
【発明を実施するための形態】
【0009】
図面を参照して、本発明の一実施の形態について説明する。本発明の一実施の形態における鳥獣忌避具は、畑、菜園、ビールハウス、果樹園などに設置され、内部に収容された鳥獣忌避剤から発生する忌避ガスを拡散させることにより、猪、アナグマ、カラスなどの鳥獣を忌避させる機能を有している。
【0010】
まず、図1、図2を参照して、鳥獣忌避具1の構成について説明する。鳥獣忌避具1は、鳥獣忌避剤2、収容部材3、保持部4を備えて構成されている。鳥獣忌避剤2は、二酸化硫黄や硫酸などの硫黄化合物を含んでおり、後述するように、植物繊維に硫酸イオンを含有する温泉水と湯の花を混合して製造される。収容部材3は、内側に鳥獣忌避剤2を収容し、内側から外側に通じる複数の通気口3a(網目)を有する袋状の網などで構成される。収容部材3の通気口3aのサイズは、内側に収容する鳥獣忌避剤2よりも小さく、鳥獣忌避剤2から発生する忌避ガスが通過可能な大きさである。
(【0011】以降は省略されています)
この特許をJ-PlatPat(特許庁公式サイト)で参照する
関連特許
個人
虫捕り器
11日前
個人
巻糸係止具
1か月前
個人
刈込鋏保持具
7日前
個人
飼育容器
21日前
個人
後付巻降ろし器
11日前
株式会社丹勝
緑化工法
8日前
個人
イカ釣り用ヤエン
11日前
井関農機株式会社
作業車両
9日前
井関農機株式会社
作業車両
11日前
井関農機株式会社
作業車両
1日前
井関農機株式会社
作業車両
11日前
株式会社シマノ
釣竿
11日前
井関農機株式会社
作業車両
1日前
井関農機株式会社
圃場作業機
1か月前
個人
水耕栽培システム
21日前
大栄工業株式会社
捕獲器
1日前
井関農機株式会社
作業車両
7日前
井関農機株式会社
作業車両
21日前
松山株式会社
農作業機
7日前
個人
伸縮する草刈り機の可動装置。
11日前
個人
妻面トラス梁付き園芸用ハウス
23日前
松山株式会社
農作業機
21日前
トヨタ自動車株式会社
育苗装置
8日前
個人
飼育水槽用の浄化装置
15日前
スガノ農機株式会社
圃場作業装置
8日前
株式会社クボタ
田植機
1か月前
株式会社小川農具製作所
穴明け装置
2日前
グローブライド株式会社
釣竿
2日前
株式会社クボタ
作業機
1か月前
グローブライド株式会社
釣竿
1日前
井関農機株式会社
コンバイン
8日前
株式会社デンソー
農業用装置
3日前
トヨタ自動車株式会社
植物栽培装置
1か月前
株式会社クボタ
作業車
1か月前
株式会社クボタ
田植機
1か月前
グローブライド株式会社
魚釣用リール
今日
続きを見る
他の特許を見る