TOP
|
特許
|
意匠
|
商標
特許ウォッチ
Twitter
他の特許を見る
10個以上の画像は省略されています。
公開番号
2025152126
公報種別
公開特許公報(A)
公開日
2025-10-09
出願番号
2024053873
出願日
2024-03-28
発明の名称
合成ガス製造方法、及び合成ガス製造システム
出願人
本田技研工業株式会社
代理人
個人
,
個人
,
個人
主分類
C10J
3/00 20060101AFI20251002BHJP(石油,ガスまたはコークス工業;一酸化炭素を含有する工業ガス;燃料;潤滑剤;でい炭)
要約
【課題】低コストで、二酸化炭素を有効活用でき、且つ環境への負荷を低減しながら生産性を向上できる合成ガス製造方法及び合成ガス製造システムを提供すること。
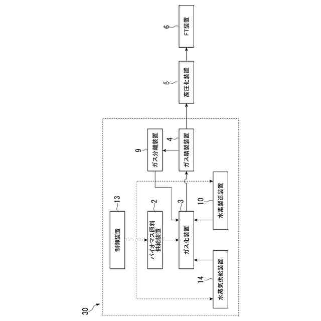
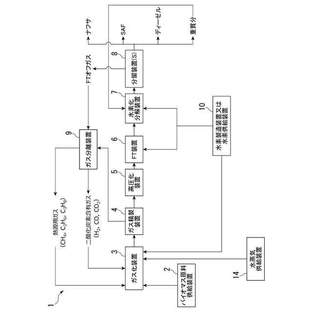
【解決手段】バイオマス原料からの合成ガス製造方法であって、供給されたバイオマス原料、水、及び二酸化炭素から、水素、一酸化炭素、及び二酸化炭素を含む合成ガスを製造する合成ガス製造工程を有し、前記合成ガス製造工程に供給する二酸化炭素が、前記合成ガス中の二酸化炭素を含む、合成ガス製造方法。
【選択図】図1
特許請求の範囲
【請求項1】
バイオマス原料からの合成ガス製造方法であって、
供給されたバイオマス原料、水、及び二酸化炭素から、水素、一酸化炭素、及び二酸化炭素を含む合成ガスを製造する合成ガス製造工程を有し、
前記合成ガス製造工程に供給する二酸化炭素が、前記合成ガス中の二酸化炭素を含む、合成ガス製造方法。
続きを表示(約 960 文字)
【請求項2】
前記合成ガス中の二酸化炭素を、前記合成ガス製造工程に供給する二酸化炭素供給工程を有する、請求項1に記載の合成ガス製造方法。
【請求項3】
前記合成ガスから、二酸化炭素及び炭化水素を含むオフガスと、水素及び一酸化炭素を含む精製合成ガスとに分離するガス精製工程を有する、請求項1に記載の合成ガス製造方法。
【請求項4】
前記オフガスを、二酸化炭素を含むガス化補助用ガスと、炭化水素を含む熱源用ガスとに分離するガス分離工程を有する、請求項3に記載の合成ガス製造方法。
【請求項5】
前記熱源用ガスを合成ガス製造工程における熱源として供給する熱源用ガス供給工程を有する、請求項4に記載の合成ガス製造方法。
【請求項6】
前記合成ガス製造工程において、水としての水蒸気を、[水蒸気の質量]/[バイオマスの質量]で表される質量比が1.3以上となるように供給する水蒸気供給工程を含む、請求項1に記載の合成ガス製造方法。
【請求項7】
前記合成ガス製造工程において、得られる合成ガスにおける[水素のモル数]/[一酸化炭素のモル数]で表されるモル比が1.95~2.05となるように、二酸化炭素を供給する二酸化炭素供給工程を含む、請求項1に記載の合成ガス製造方法。
【請求項8】
バイオマス原料から燃料を製造するための燃料製造システムであって、
供給されたバイオマス原料、水、及び二酸化炭素から、水素、一酸化炭素、二酸化炭素、及び炭化水素を含む合成ガスを製造するガス化装置と、
前記合成ガス中の二酸化炭素を、前記ガス化装置に供給する二酸化炭素供給装置と、を有する、合成ガス製造システム。
【請求項9】
前記合成ガスから、二酸化炭素及び炭化水素を含むオフガスと、水素及び一酸化炭素を含む精製合成ガスとに分離するガス精製装置を有する、請求項8に記載の合成ガス製造システム。
【請求項10】
前記オフガスを、二酸化炭素を含むガス化補助用ガスと、炭化水素を含む熱源用ガスとに分離するガス分離装置を有する、請求項9に記載の合成ガス製造システム。
(【請求項11】以降は省略されています)
発明の詳細な説明
【技術分野】
【0001】
本発明は、合成ガス製造方法、及び合成ガス製造システムに関する。
続きを表示(約 2,000 文字)
【背景技術】
【0002】
従来より気候変動の緩和または影響軽減を目的とした取り組みが継続され、この実現に向けて二酸化炭素の排出量低減に関する研究開発が行われている。
近年、化石燃料の代替として、再生可能エネルギーによって発電した電力によって生成した水素とバイオマスや工場から排出される二酸化炭素等の炭素源とを原材料とした合成燃料が注目されている。
【0003】
バイオマスを原料としてメタノールやガソリン等の液体燃料を製造する一般的な手順は以下の通りである。すなわち、所定の前処理を経たバイオマス原料をガス化炉内で水や酸素とともにガス化させ、水素及び一酸化炭素を含む合成ガスを生成するガス化工程と、生成された合成ガスを洗浄しタールを取り除く洗浄工程と、洗浄工程を経た合成ガスのH
2
/CO比を製造しようとする液体燃料に応じた目標比に調整するH
2
/CO比調整工程と、H
2
/CO比調整工程を経た合成ガスから硫黄成分を取り除く脱硫工程と、脱硫工程を経た合成ガスから液体燃料を製造する燃料製造工程と、を経てバイオマス原料から液体燃料が製造される。
【0004】
ここでガス化工程を経て生成される合成ガスのH
2
/CO比は、多くの場合目標比に到達しておらず水素が不足している状態となっている。このためガス化工程において水蒸気を供給することにより、H
2
/CO比をフィッシャー・トロプシュ合成反応(以下、FT合成反応ともいう)において好ましい2.0に近づけることも可能となっている。
【0005】
ところで、合成ガスに含まれる二酸化炭素は、FT合成反応に供給される前にオフガスの一部として排出される。しかし、二酸化炭素を環境に排出すると、環境への負荷が大きい。
【0006】
特許文献1には、上述のようなバイオマス原料から合成燃料を製造する燃料製造システムにおいて、再生可能エネルギーによって発電した電力によって水素を生成し、生成した水素をガス化炉によって生成される合成ガスに混ぜることにより、シフト反応器を必要とせずにH
2
/CO比を目標比に調整する発明が示されている。特許文献1の燃料製造システムによれば、再生可能エネルギーを用いて発電した電力によって電解装置によって水素を生成することにより、燃料製造システム全体での二酸化炭素の発生抑制を図ることができる。
特許文献2は、オフガスをガス化炉加熱のための燃料としてリサイクルする工程を含む、天然ガスから各種炭化水素油を製造する方法を提案している。特許文献1の製造方法によれば、オフガスをリサイクルすることができる。
【先行技術文献】
【特許文献】
【0007】
特開2021-147504号公報
特開2012-214528号公報
【発明の概要】
【発明が解決しようとする課題】
【0008】
しかし、特許文献1の燃料製造システムでは、水素の供給量を増やす必要があるため、水素製造のためのコストが増加してしまうのが課題である。
また、特許文献2の製造方法では、オフガスをガス化炉加熱のための燃料として燃焼させるが二酸化炭素は燃焼しないため、二酸化炭素を有効活用できないのが課題である。
さらに、二酸化炭素の排出量低減においては、オフガスを燃料としてリサイクルするだけでは、燃焼により生成する二酸化炭素を排出しなければならならず、環境への負荷が大きいのが課題である。
本願は上記課題の解決のため、低コストで、二酸化炭素を有効活用でき、且つ環境への負荷を低減しながら生産性を向上できる合成ガス製造方法及び合成ガス製造システムを提供することを目的としたものである。そして、延いては気候変動の緩和または影響軽減に寄与するものである。
【課題を解決するための手段】
【0009】
[1] バイオマス原料からの合成ガス製造方法であって、
供給されたバイオマス原料、水、及び二酸化炭素から、水素、一酸化炭素、及び二酸化炭素を含む合成ガスを製造する合成ガス製造工程を有し、
前記合成ガス製造工程に供給する二酸化炭素が、前記合成ガス中の二酸化炭素を含む、合成ガス製造方法。
【0010】
本発明の合成ガスの製造方法は、水素の供給量を増やす必要が無く低コストであり、合成ガス製造のための原料として二酸化炭素を有効活用できる。
また、二酸化炭素を原料として消費するため、二酸化炭素の排出量を削減することができ、環境への負荷を低減できる。
さらに、必要な電力として再生エネルギーを使用できるため、環境への負荷を低減しながら生産性を向上できる。
(【0011】以降は省略されています)
この特許をJ-PlatPat(特許庁公式サイト)で参照する
関連特許
本田技研工業株式会社
車両
1日前
本田技研工業株式会社
車両
1か月前
本田技研工業株式会社
車両
16日前
本田技研工業株式会社
車両
2日前
本田技研工業株式会社
車両
2日前
本田技研工業株式会社
車両
1日前
本田技研工業株式会社
装置
15日前
本田技研工業株式会社
移動体
3日前
本田技研工業株式会社
収納部
1か月前
本田技研工業株式会社
モータ
12日前
本田技研工業株式会社
飛行体
2日前
本田技研工業株式会社
バッテリ
9日前
本田技研工業株式会社
排気装置
1日前
本田技研工業株式会社
電気機器
2日前
本田技研工業株式会社
電解装置
23日前
本田技研工業株式会社
電気機器
3日前
本田技研工業株式会社
通知装置
15日前
本田技研工業株式会社
固体電池
3日前
本田技研工業株式会社
送電装置
10日前
本田技研工業株式会社
除草装置
1日前
本田技研工業株式会社
ロボット
1か月前
本田技研工業株式会社
バッテリ
9日前
本田技研工業株式会社
受電装置
10日前
本田技研工業株式会社
固体電池
1日前
本田技研工業株式会社
車両構造
12日前
本田技研工業株式会社
内燃機関
1日前
本田技研工業株式会社
内燃機関
15日前
本田技研工業株式会社
電気機器
2日前
本田技研工業株式会社
内燃機関
15日前
本田技研工業株式会社
搬送装置
1か月前
本田技研工業株式会社
保管装置
10日前
本田技研工業株式会社
ステータ
8日前
本田技研工業株式会社
断続装置
10日前
本田技研工業株式会社
排気装置
1日前
本田技研工業株式会社
会話装置
8日前
本田技研工業株式会社
清掃装置
2日前
続きを見る
他の特許を見る