TOP
|
特許
|
意匠
|
商標
特許ウォッチ
Twitter
他の特許を見る
公開番号
2025142514
公報種別
公開特許公報(A)
公開日
2025-10-01
出願番号
2024041922
出願日
2024-03-18
発明の名称
送電装置
出願人
本田技研工業株式会社
代理人
弁理士法人航栄事務所
主分類
H02J
50/80 20160101AFI20250924BHJP(電力の発電,変換,配電)
要約
【課題】種別の異なる受電装置であっても、各受電装置に最適な電力伝送制御を行うこと。
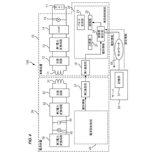
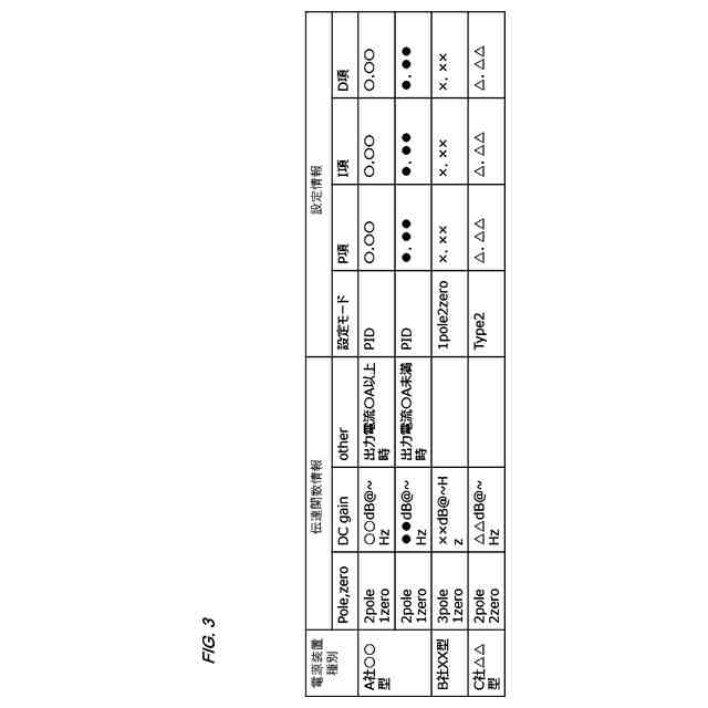
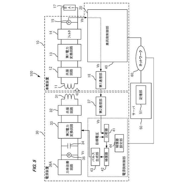
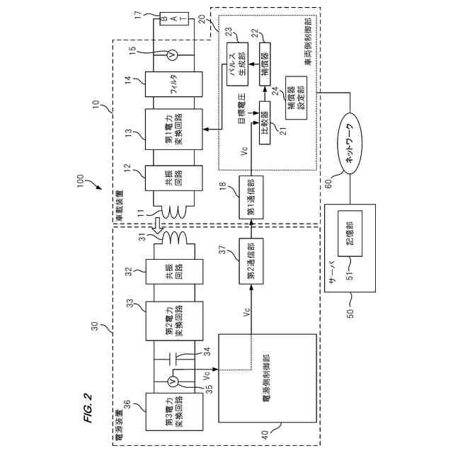
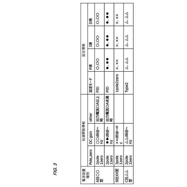
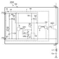
【解決手段】車載装置10は、車両側コイル11と、車両側コイル11に供給する供給電力を二次電池17の電力を用いて生成する第1電力変換回路13と、電源装置30が受電した電力によって充電されるコンデンサ34の端子電圧Vcを取得可能、且つ第1電力変換回路13を制御可能に構成され、端子電圧Vcが目標電圧となるように第1電力変換回路13を介して上記供給電力を制御する給電制御を実行可能な車両側制御部20と、を備え、給電制御には位相補償が含まれ、車両側制御部20は、送電先の電源装置30の種別を示す種別情報を取得し、電源装置30の種別ごとに位相補償に必要な設定情報を記憶した記憶部51から、上記種別情報に基づいて送電先の電源装置30に対応する設定情報を取得し、その設定情報に基づいて位相補償を行う。
【選択図】図3
特許請求の範囲
【請求項1】
受電装置に対して非接触電力伝送により送電する送電部と、
前記送電部に供給する供給電力を第1電源部の電力を用いて生成し、当該供給電力を前記送電部に供給する電力変換部と、
前記受電装置が受電した電力によって充電される第2電源部の端子電圧を取得可能、且つ前記電力変換部を制御可能に構成され、前記端子電圧が目標電圧となるように前記電力変換部を介して前記供給電力を制御する給電制御を実行可能な制御部と、
を備え、
前記給電制御には、前記第2電源部を充電する系の位相特性を調整する位相補償が含まれ、
前記制御部は、
送電先の受電装置の種別を示す種別情報を取得し、
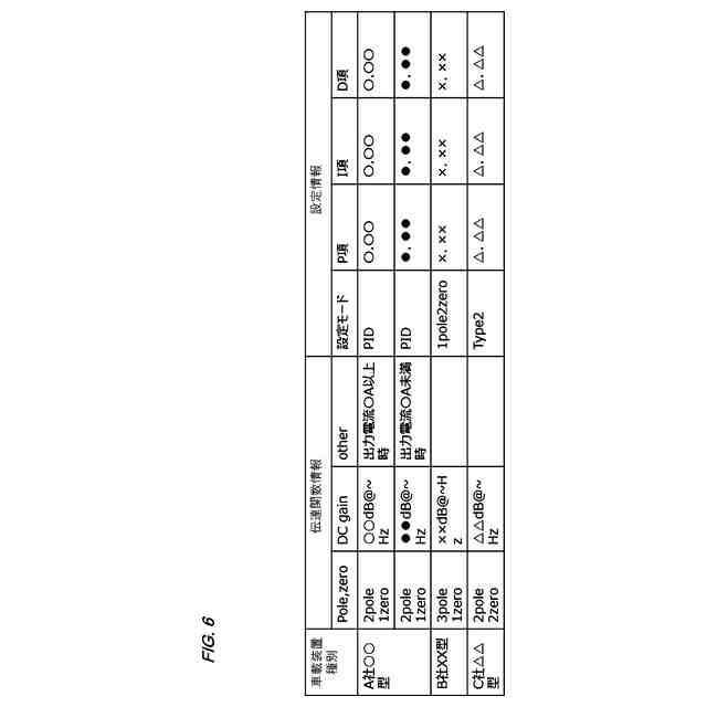
受電装置の種別ごとに前記位相補償に必要な制御情報を記憶した記憶部から、前記種別情報に基づいて前記送電先の受電装置に対応する制御情報を取得し、
取得した前記制御情報に基づいて、前記位相補償を行う、
送電装置。
続きを表示(約 650 文字)
【請求項2】
請求項1に記載の送電装置であって、
ネットワークを介してサーバと通信可能に構成され、
前記記憶部は、前記サーバに設けられる、
送電装置。
【請求項3】
請求項2に記載の送電装置であって、
前記制御部は、前記位相補償を行う補償器を含み、
前記制御情報は、前記補償器の設定値を示す情報である、
送電装置。
【請求項4】
請求項2に記載の送電装置であって、
前記制御部は、前記位相補償を行う補償器を含み、
前記制御情報は、前記系の伝達関数に関する伝達関数情報であり、
前記制御部は、取得した前記伝達関数情報に基づいて、前記補償器の設定値を示す情報を生成する、
送電装置。
【請求項5】
請求項4に記載の送電装置であって、
前記伝達関数情報は、前記伝達関数の極と零点を示す情報を含む、
送電装置。
【請求項6】
請求項1から5のいずれか1項に記載の送電装置であって、
前記第1電源部の電力を用いて駆動される駆動源としての電動機を備える車両に設けられる、
送電装置。
【請求項7】
請求項1から5のいずれか1項に記載の送電装置であって、
前記受電装置と、前記第2電源部の電力を用いて駆動される駆動源としての電動機とを備える車両、を駐車可能な場所に設けられる、
送電装置。
発明の詳細な説明
【技術分野】
【0001】
本開示の技術は、送電装置に関する。
続きを表示(約 1,200 文字)
【背景技術】
【0002】
近年、より多くの人々が手ごろで信頼でき、持続可能かつ先進的なエネルギーへのアクセスを確保できるようにするため、エネルギーの効率化に貢献する二次電池を搭載するモビリティにおける充給電に関する研究開発が行われている。
【0003】
例えば、充給電に関する研究開発として、2つの装置間で非接触により電力を伝送する非接触電力伝送に関する研究開発が行われている。
【0004】
特許文献1には、送電装置から転送される電力を、電磁共鳴によって非接触で受電するための受電装置が記載されている。
【0005】
特許文献2には、外部に設けられた送電装置から非接触で受電可能な移動体が記載されている。
【0006】
特許文献3には、受信機コイル、補償回路網、電力変換器、および受信端コントローラを備える無線充電受信端が記載されている。
【0007】
特許文献4には、インバータと、1次コイルと、インバータと1次コイルとの間に設けられた給電側共振回路とを含む給電装置と、1次コイルと磁気的に結合され、1次コイルからエネルギーを取得する2次コイルとを含み、2次コイルにより取得されたエネルギーを電圧変換して出力電力を生成する受電装置とを備える非接触給電装置が記載されている。
【先行技術文献】
【特許文献】
【0008】
特開2013-005615号公報
特開2023-20323号公報
特表2023-500133号公報
国際公開第2015/104779号
【発明の概要】
【発明が解決しようとする課題】
【0009】
本開示の技術は、種別の異なる受電装置であっても、各受電装置に最適な電力伝送制御を行うことを目的としている。
【課題を解決するための手段】
【0010】
本開示の一態様の送電装置は、受電装置に対して非接触電力伝送により送電する送電部と、前記送電部に供給する供給電力を第1電源部の電力を用いて生成し、当該供給電力を前記送電部に供給する電力変換部と、前記受電装置が受電した電力によって充電される第2電源部の端子電圧を取得可能、且つ前記電力変換部を制御可能に構成され、前記端子電圧が目標電圧となるように前記電力変換部を介して前記供給電力を制御する給電制御を実行可能な制御部と、を備え、前記給電制御には、前記第2電源部を充電する系の位相特性を調整する位相補償が含まれ、前記制御部は、送電先の受電装置の種別を示す種別情報を取得し、受電装置の種別ごとに前記位相補償に必要な制御情報を記憶した記憶部から、前記種別情報に基づいて前記送電先の受電装置に対応する制御情報を取得し、取得した前記制御情報に基づいて、前記位相補償を行う、ものである。
【発明の効果】
(【0011】以降は省略されています)
この特許をJ-PlatPat(特許庁公式サイト)で参照する
関連特許
ニチコン株式会社
AC入力検出回路
今日
富士電機株式会社
チャンネルベース
今日
富士電機株式会社
チャンネルベース
今日
矢崎総業株式会社
プロテクタ
今日
愛知製鋼株式会社
電動モータ
今日
株式会社豊田自動織機
回転電機のステータ
今日
古河電気工業株式会社
排水構造
今日
株式会社デンソー
ステータ
今日
古河電気工業株式会社
電気接続箱
今日
株式会社デンソー
ステータ
今日
トヨタ紡織株式会社
乗物用シート装置
今日
愛知製鋼株式会社
リラクタンスモータ
今日
Astemo株式会社
回転電機のロータ構造
今日
本田技研工業株式会社
ステータ
今日
株式会社ミツバ
モータ制御装置
今日
住友電装株式会社
絶縁構造体、及びワイヤハーネス
今日
住友電装株式会社
プロテクタ、及びワイヤハーネス
今日
株式会社オリジン
DC/DCコンバータ
今日
株式会社鷺宮製作所
振動発電装置
今日
トヨタ自動車株式会社
電動車
今日
愛知製鋼株式会社
リラクタンスモータ用ロータ
今日
株式会社椿本チエイン
多関節支持部材、フラット状伝送装置
今日
株式会社LIXIL
太陽光発電給電シート、建物およびペリカバー
今日
セイコーエプソン株式会社
回路装置及び電子機器
今日
矢崎総業株式会社
電線間止水材及びワイヤハーネス
今日
富士電機株式会社
電力変換システム
今日
多摩川精機株式会社
接続端子およびモータステータ
今日
ニデックプレシジョン株式会社
モータユニット
今日
株式会社アイシン
回転電機用ロータ製造方法、回転電機用ロータ
今日
三菱電機株式会社
電力変換装置および電力変換装置の制御方法
今日
三菱重工業株式会社
電力変換器、および電力変換器の製造方法
今日
ローム株式会社
ゲートドライバ回路、半導体装置、および電源装置
今日
パナソニックオートモーティブシステムズ株式会社
漏電検出回路
今日
ローム株式会社
ハイサイドドライバ回路、ローサイドドライバ回路、モータ駆動装置
今日
沖電気工業株式会社
駆動制御装置、駆動制御システム、駆動制御方法及び貨幣処理装置
今日
キオクシア株式会社
電源管理回路、メモリシステム及び電源管理方法
今日
続きを見る
他の特許を見る