TOP
|
特許
|
意匠
|
商標
特許ウォッチ
Twitter
他の特許を見る
公開番号
2025142511
公報種別
公開特許公報(A)
公開日
2025-10-01
出願番号
2024041916
出願日
2024-03-18
発明の名称
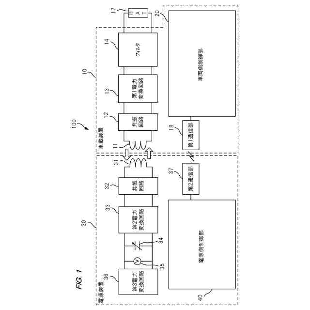
受電装置
出願人
本田技研工業株式会社
代理人
弁理士法人航栄事務所
主分類
H02J
50/12 20160101AFI20250924BHJP(電力の発電,変換,配電)
要約
【課題】送電装置と受電装置の個体差や相互の位置関係等によらずに、最適な電力伝送制御を行うこと。
【解決手段】電源装置30は、車載装置10から非接触電力伝送により送電された電力を受電する受電部(電源側コイル31及び共振回路32)と、上記受電部によって受電された電力によって充電可能、且つ蓄積した電力を負荷に対して供給可能に構成された可変コンデンサ34と、可変コンデンサ34の端子電圧を検出する電圧検出回路35と、電圧検出回路35によって検出された端子電圧の変化量に基づいて可変コンデンサ34の容量を制御する電源側制御部40と、を備える。
【選択図】図1
特許請求の範囲
【請求項1】
送電装置から非接触電力伝送により送電された電力を受電する受電部と、
上記受電部によって受電された電力によって充電可能、且つ蓄積した電力を負荷に対して供給可能に構成された容量可変の電源部と、
前記電源部の端子電圧を検出する検出部と、
前記検出部によって検出された端子電圧の変化量に基づいて前記電源部の容量を制御する制御部と、を備える、
受電装置。
続きを表示(約 890 文字)
【請求項2】
請求項1に記載の受電装置であって、
前記送電装置は、前記電源部の端子電圧が目標電圧となるように前記送電装置から前記受電部への供給電力を制御する給電制御を実行可能であり、
前記制御部は、前記送電装置による前記給電制御の実行前に、前記送電装置から前記受電装置へ所定電力が送電された場合の前記電源部の前記端子電圧の変化量に基づいて、前記給電制御時における前記電源部の容量を制御する、
受電装置。
【請求項3】
請求項2に記載の受電装置であって、
前記制御部は、前記電源部の容量を所定容量に制御した状態で前記所定電力を受電した場合の前記端子電圧の変化量が閾値以上であった場合には、前記給電制御時における前記電源部の容量を、前記所定容量よりも大きい容量に制御する、
受電装置。
【請求項4】
請求項2に記載の受電装置であって、
前記制御部は、前記電源部の容量を所定容量に制御した状態で前記所定電力を受電した場合の前記端子電圧の変化量が閾値未満であった場合には、前記給電制御時における前記電源部の容量を、前記所定容量よりも小さい容量に制御する、
受電装置。
【請求項5】
請求項2に記載の受電装置であって、
前記制御部は、更に、前記給電制御が行われている間に、前記電源部の端子電圧に基づいて、前記電源部の容量を制御する、
受電装置。
【請求項6】
請求項1から5のいずれか1項に記載の受電装置であって、
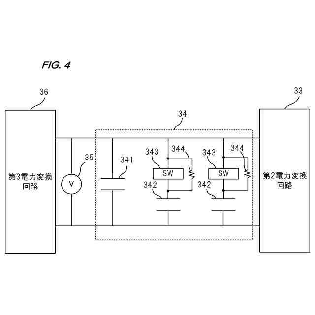
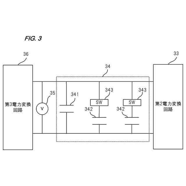
前記電源部は、第1コンデンサと、前記第1コンデンサに並列に設けられた少なくとも1つの第2コンデンサと、前記負荷と前記第2コンデンサの間に設けられたスイッチと、を有し、
前記制御部は、前記スイッチのオンオフを制御して、前記電源部の容量を制御する、
受電装置。
【請求項7】
請求項6に記載の受電装置であって、
前記電源部は、前記スイッチに並列に設けられた抵抗器を有する、
受電装置。
発明の詳細な説明
【技術分野】
【0001】
本開示の技術は、受電装置に関する。
続きを表示(約 1,300 文字)
【背景技術】
【0002】
近年、より多くの人々が手ごろで信頼でき、持続可能かつ先進的なエネルギーへのアクセスを確保できるようにするため、エネルギーの効率化に貢献する二次電池を搭載するモビリティにおける充給電に関する研究開発が行われている。
【0003】
例えば、充給電に関する研究開発として、2つの装置間で非接触により電力を伝送する非接触電力伝送に関する研究開発が行われている。
【0004】
特許文献1には、給電ユニットと受電ユニットを備えた非接触給電装置であって、前記給電ユニットは、給電コイルと、前記給電コイルに交流電力を供給する交流電源と、を備え、前記受電ユニットは、前記給電コイルに対向すると電磁結合して非接触で交流電力を受け取る受電コイルと、前記受電コイルに接続されて受電側共振回路を形成する受電側共振用コンデンサと、前記受電コイルが受け取った交流電力を変換して受電電圧を生成し、電気負荷に出力する受電回路と、前記受電電圧が過電圧状態を判定する閾値電圧を超過した場合に、前記受電側共振回路の受電側共振周波数を変移させる過電圧保護回路と、を備えた非接触給電装置が記載されている。
【0005】
特許文献2には、バッテリに蓄えられた電力により駆動力を得る移動体に搭載され、移動体が移動中及び停止中にワイヤレスにて電力が受電可能なワイヤレス受電装置が記載されている。
【0006】
特許文献3には、送電装置から転送される電力を、電磁共鳴によって非接触で受電するための受電装置が記載されている。
【0007】
特許文献4には、中継装置を備える非接触充電システムであって、中継コイルと受電コイルの間の相互インダクタンスが大きく変動する場合であっても、インバータの出力の過電流、過電圧を防止することが可能な非接触充電システムが記載されている。
【先行技術文献】
【特許文献】
【0008】
特開2017-147849号公報
特開2017-175703号公報
特開2013-005615号公報
特開2022-039628号公報
【発明の概要】
【発明が解決しようとする課題】
【0009】
本開示の技術は、送電装置と受電装置の個体差や相互の位置関係等によらずに、最適な電力伝送制御を行うことを目的としている。
【課題を解決するための手段】
【0010】
本開示の一態様の受電装置は、送電装置から非接触電力伝送により送電された電力を受電する受電部と、上記受電部によって受電された電力によって充電可能、且つ蓄積した電力を負荷に対して供給可能に構成された容量可変の電源部と、前記電源部の端子電圧を検出する検出部と、前記検出部によって検出された端子電圧の変化量に基づいて前記電源部の容量を制御する制御部と、を備える、ものである。
【発明の効果】
(【0011】以降は省略されています)
この特許をJ-PlatPat(特許庁公式サイト)で参照する
関連特許
本田技研工業株式会社
装置
9日前
本田技研工業株式会社
車両
1か月前
本田技研工業株式会社
車両
10日前
本田技研工業株式会社
モータ
6日前
本田技研工業株式会社
電解装置
17日前
本田技研工業株式会社
車両構造
6日前
本田技研工業株式会社
車両構造
6日前
本田技研工業株式会社
会話装置
2日前
本田技研工業株式会社
受電装置
4日前
本田技研工業株式会社
断続装置
4日前
本田技研工業株式会社
送電装置
4日前
本田技研工業株式会社
ステータ
2日前
本田技研工業株式会社
固体電池
4日前
本田技研工業株式会社
回転機械
1か月前
本田技研工業株式会社
保管装置
4日前
本田技研工業株式会社
保管装置
4日前
本田技研工業株式会社
バッテリ
3日前
本田技研工業株式会社
バッテリ
3日前
本田技研工業株式会社
保持装置
3日前
本田技研工業株式会社
ロボット
1か月前
本田技研工業株式会社
切断装置
2日前
本田技研工業株式会社
内燃機関
9日前
本田技研工業株式会社
内燃機関
9日前
本田技研工業株式会社
通知装置
9日前
本田技研工業株式会社
鞍乗型車両
16日前
本田技研工業株式会社
リンク機構
2日前
本田技研工業株式会社
触媒インク
1か月前
本田技研工業株式会社
リアクトル
9日前
本田技研工業株式会社
触媒インク
1か月前
本田技研工業株式会社
動力伝達装置
1か月前
本田技研工業株式会社
潤滑システム
16日前
本田技研工業株式会社
車両制御装置
18日前
本田技研工業株式会社
車両制御装置
16日前
本田技研工業株式会社
固体二次電池
16日前
本田技研工業株式会社
分離システム
6日前
本田技研工業株式会社
放電処理方法
4日前
続きを見る
他の特許を見る