TOP
|
特許
|
意匠
|
商標
特許ウォッチ
Twitter
他の特許を見る
10個以上の画像は省略されています。
公開番号
2025152418
公報種別
公開特許公報(A)
公開日
2025-10-09
出願番号
2024054302
出願日
2024-03-28
発明の名称
サーバーラック
出願人
株式会社電磁シールド研究所
代理人
個人
,
個人
,
個人
主分類
H05K
9/00 20060101AFI20251002BHJP(他に分類されない電気技術)
要約
【課題】外部から照射される強い電磁波に起因する脅威に対して、サーバーを物理的に保護することができると共にサーバーが記憶する情報を保護する。
【解決手段】サーバーラック1は、ラック筐体11とラック前扉6とを備える。ラック筐体11は、ラック開口11Sを形成すると共に、ラック前扉6の一部が押圧される筐体接触部220、320、420と、ラック開口11Sを囲むように設けられ、ラック前扉6の別の一部が押圧されることによって変形可能なガスケット410と、を有する。ラック前扉6は、ラック前扉6の一部であって、第1筐体部材に押し当てられることによって弾性変形可能な導電材料により形成されたシールドフィンガー64と、ラック前扉6の別の一部であって、シールドフィンガー64に押し当てることによってシールドフィンガー64を弾性変形させる扉補強シールド壁623と、を有する。
【選択図】図1
特許請求の範囲
【請求項1】
サーバーが配置される配置空間を形成するラック筐体と、
前記配置空間を閉鎖するためのラック扉と、を備え、
前記ラック筐体は、
前記配置空間にアクセスする開口を形成すると共に、前記ラック扉の一部が押圧される第1筐体部材と、
前記開口を囲むように設けられ、前記ラック扉の別の一部が押圧されることによって変形可能な第2筐体部材と、を有し、
前記ラック扉は、
前記ラック扉の一部であって、前記第1筐体部材に押し当てられることによって弾性変形可能な導電材料により形成された第1扉部材と、
前記ラック扉の別の一部であって、前記第2筐体部材に押し当てることによって前記第2筐体部材を弾性変形させる第2扉部材と、を有する、サーバーラック。
続きを表示(約 1,100 文字)
【請求項2】
前記ラック筐体は、前記開口を含む筐体主面を含み、
前記第1扉部材と前記第1筐体部材とが接触する位置から前記筐体主面までの距離は、前記第2扉部材と前記第2筐体部材とが接触する位置から前記筐体主面までの距離より、長い、請求項1に記載のサーバーラック。
【請求項3】
前記第1筐体部材は、前記第1扉部材が押圧される開口部主面と、前記開口部主面の法線方向と交差する方向を向く開口部端面と、を有し、
前記第2扉部材は、前記第2筐体部材に当接する扉部材端面と、前記扉部材端面の法線方向と交差する方向を向く扉部材側面と、を有し、
前記開口部主面は、前記筐体主面から前記筐体主面の法線方向に沿って離れている、請求項2に記載のサーバーラック。
【請求項4】
前記第1筐体部材は、前記第1扉部材が押圧される開口部主面と、前記開口部主面の法線方向と交差する方向を向く開口部端面と、を有し、
前記第2扉部材は、前記第2筐体部材に当接する扉部材端面と、前記扉部材端面の法線方向と交差する方向を向く扉部材側面と、を有し、
前記開口部端面は、前記扉部材側面と向き合う、請求項2に記載のサーバーラック。
【請求項5】
前記開口部端面は、前記扉部材側面から離れている、請求項3に記載のサーバーラック。
【請求項6】
前記ラック筐体は、前記配置空間を形成する内側壁部材を有し、
前記第1筐体部材において前記第1扉部材が押圧される面は、前記内側壁部材の一部分である、請求項1に記載のサーバーラック。
【請求項7】
前記第1筐体部材は、前記第1扉部材が押圧される開口部主面と、前記開口部主面の法線方向と交差する方向を向く開口部端面と、を有し、
前記第2扉部材は、前記第2筐体部材に当接する扉部材端面と、前記扉部材端面の法線方向と交差する方向を向く扉部材側面と、を有し、
前記開口部主面と前記第1扉部材との接触面積は、前記扉部材端面と前記第2扉部材の接触面積よりも、大きい、請求項1に記載のサーバーラック。
【請求項8】
前記ラック筐体は、電気的な接地のためのバスバーが接続されるバスバー接続部を含む、請求項1に記載のサーバーラック。
【請求項9】
前記ラック筐体は、吸気及び/又は排気のための吸排気開口を含み、
前記吸排気開口は、ハニカムパネル構造を含むカバーに覆われ、
前記カバーは、10本以上のねじによって前記ラック筐体に固定されている、請求項1に記載のサーバーラック。
発明の詳細な説明
【技術分野】
【0001】
本発明は、サーバーラックに関する。
続きを表示(約 1,400 文字)
【背景技術】
【0002】
サーバーが扱う情報の重要度がますます高まっている。特に、営業秘密や個人情報といった機密度の高い情報は、サーバーにおいて厳密に管理する必要がある。サーバーに対するアクセスは、サーバーに接続された通信回線を通じて行われる。このように、通信回線を通じて行われる不正なアクセス行為については、ファイアウォールといった技術手段などにより対策を講じることが可能である。
【0003】
サーバーへの脅威は、通信回線を介した不正アクセス行為に留まらない。例えば、サーバーが発生する微弱な電磁波を用いて、サーバーが管理する情報を抜き取るといった脅威があり得る。また、サーバーに対して強い電磁波を照射することにより、サーバーを構築するプロセッサやメモリと言った物理的な構成要素を破壊したり、サーバーに記憶されている情報を破壊するといった脅威も存在する。
【0004】
特許文献1には、サーバー及びサーバーに記憶されている情報を外部からの有害な電磁波から守るサーバーラックが記載されている。
【先行技術文献】
【特許文献】
【0005】
特許第428913号
【発明の概要】
【発明が解決しようとする課題】
【0006】
例えば、外部から照射される強い電磁波に起因する脅威は、自然災害に起因するものや、人為的な行為に起因するものが考えられる。強い電磁波の照射からサーバーを物理的に保護すること、サーバーが記憶する情報を保護することの重要性はますます高まっている。
【0007】
そこで、本発明は、外部から照射される強い電磁波に起因する脅威に対抗し得るサーバーラックを提供する。
【課題を解決するための手段】
【0008】
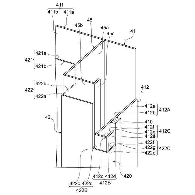
本発明の一形態であるサーバーラックは、サーバーが配置される配置空間を形成するラック筐体と、配置空間を閉鎖するためのラック扉と、を備え、ラック筐体は、配置空間にアクセスする開口を形成すると共に、ラック扉の一部が押圧される第1筐体部材と、開口を囲むように設けられ、ラック扉の別の一部が押圧されることによって変形可能な第2筐体部材と、を有し、ラック扉は、ラック扉の一部であって、第1筐体部材に押し当てられることによって弾性変形可能な導電材料により形成された第1扉部材と、ラック扉の別の一部であって、第2筐体部材に押し当てることによって第2筐体部材を弾性変形させる第2扉部材と、を有する。
【0009】
このサーバーラックは、第1筐体部材及び第1扉部材によって、電磁波に対する第1の障壁を構成する。さらに、サーバーラックは、第2筐体部材及び第2扉部材によって、電磁波に対する第2の障壁を構成する。その結果、開口を介して外部から電磁波が内部へ侵入することが抑制される。従って、外部から照射される強い電磁波に起因する脅威に対抗することができる。
【0010】
上記のサーバーラックが備えるラック筐体は、開口を含む筐体主面を含み、第1扉部材と第1筐体部材とが接触する位置から筐体主面までの距離は、第2扉部材と第2筐体部材とが接触する位置から筐体主面までの距離より、長くてもよい。この構成によっても、開口を介して外部から電磁波が内部へ侵入することを好適に抑制することができる。
(【0011】以降は省略されています)
この特許をJ-PlatPat(特許庁公式サイト)で参照する
関連特許
個人
電子部品の実装方法
23日前
日本精機株式会社
回路基板
1か月前
個人
電気式バーナー
7日前
愛知電機株式会社
装柱金具
15日前
イビデン株式会社
配線基板
16日前
アイホン株式会社
電気機器
1か月前
キヤノン株式会社
電子機器
1か月前
日本放送協会
基板固定装置
1か月前
メクテック株式会社
配線基板
2か月前
東レ株式会社
霧化状活性液体供給装置
1か月前
FDK株式会社
基板
22日前
サクサ株式会社
開き角度規制構造
14日前
サクサ株式会社
筐体の壁掛け構造
1か月前
シャープ株式会社
加熱機器
今日
株式会社デンソー
電子装置
16日前
イビデン株式会社
配線基板
1か月前
イビデン株式会社
プリント配線板
1か月前
株式会社レクザム
剥離装置
15日前
日産自動車株式会社
電子部品
1か月前
富士フイルム株式会社
積層体
16日前
新電元工業株式会社
電子装置
1か月前
株式会社レゾナック
冷却装置
22日前
オムロン株式会社
端子折り曲げ治具
25日前
タイガー魔法瓶株式会社
加熱器
1か月前
日本特殊陶業株式会社
配線基板
1か月前
新光電気工業株式会社
配線基板
28日前
富士電子工業株式会社
誘導加熱コイル
17日前
日本無線株式会社
電子機器用密閉構造
1か月前
富士電子工業株式会社
誘導加熱コイル
17日前
日本特殊陶業株式会社
セラミックヒータ
22日前
株式会社デンソー
電子装置
1か月前
東芝ライテック株式会社
照明装置
16日前
日本特殊陶業株式会社
セラミックヒータ
22日前
東芝ライテック株式会社
照明装置
21日前
センスネットシステム株式会社
回路基板
16日前
日本特殊陶業株式会社
セラミックヒータ
25日前
続きを見る
他の特許を見る