TOP
|
特許
|
意匠
|
商標
特許ウォッチ
Twitter
他の特許を見る
10個以上の画像は省略されています。
公開番号
2025123837
公報種別
公開特許公報(A)
公開日
2025-08-25
出願番号
2024019553
出願日
2024-02-13
発明の名称
配線基板
出願人
メクテック株式会社
代理人
個人
主分類
H05K
1/03 20060101AFI20250818BHJP(他に分類されない電気技術)
要約
【課題】各電極同士をより確実に絶縁するとともに、配線基板を対象面に対して良好に貼付することが可能な構造を容易に実現可能な配線基板を提供する。
【解決手段】配線基板100は、基材10と、基材10の一方の主面に形成されており、複数の電極22と、電極22と繋がっている配線部26と、を含む導体パターン20と、各電極22上に個別に形成されている無芯材の導電性粘着層30と、基材10の一方の主面における電極22の形成領域以外の領域に形成されている非導電性粘着層40と、を備えている。
【選択図】図2
特許請求の範囲
【請求項1】
基材と、
前記基材の一方の主面に形成されており、複数の電極と、前記電極と繋がっている配線部と、を含む導体パターンと、
各電極上に個別に形成されている無芯材の導電性粘着層と、
前記基材の前記一方の主面における前記電極の形成領域以外の領域に形成されている非導電性粘着層と、
を備える配線基板。
続きを表示(約 890 文字)
【請求項2】
各電極上の前記導電性粘着層同士の間に前記非導電性粘着層が介在して、前記非導電性粘着層が各電極を相互に絶縁している請求項1に記載の配線基板。
【請求項3】
前記非導電性粘着層は、各電極と対応する複数の開口を有し、
各開口内に前記導電性粘着層が配置されており、
各導電性粘着層の外周面が前記非導電性粘着層における前記開口の内周面に沿って周回状に延在している請求項2に記載の配線基板。
【請求項4】
各電極の面積は、対応する前記開口の面積よりも大きく、各電極の周縁部が前記非導電性粘着層により覆われている請求項3に記載の配線基板。
【請求項5】
各電極の面積は、対応する前記開口の面積よりも小さく、各電極は対応する開口内に収まっている請求項3に記載の配線基板。
【請求項6】
前記導電性粘着層における前記基材側とは反対側の面と、前記非導電性粘着層における前記基材側とは反対側の面と、が互いに面一である請求項1から5のいずれか一項に記載の配線基板。
【請求項7】
前記導電性粘着層は、当該導電性粘着層の外周に沿って、前記基材側とは反対側に向けて隆起した環状の隆起部を有する請求項1から5のいずれか一項に記載の配線基板。
【請求項8】
前記導電性粘着層の中央部における前記基材側とは反対側の面と、前記非導電性粘着層における前記基材側とは反対側の面と、が互いに面一である請求項7に記載の配線基板。
【請求項9】
前記非導電性粘着層は、各電極と対応する複数の開口を有し、
各開口と対応して前記導電性粘着層が配置されており、
各導電性粘着層は、各開口内に配置されている第1部分と、前記非導電性粘着層における前記開口の周囲縁部を覆っている第2部分と、を有する請求項8に記載の配線基板。
【請求項10】
前記隆起部は、前記電極の径方向において前記第2部分から前記第1部分に亘って存在している請求項9に記載の配線基板。
発明の詳細な説明
【技術分野】
【0001】
本発明は、配線基板に関する。
続きを表示(約 2,100 文字)
【背景技術】
【0002】
対象物の対象面に貼付して用いられる配線基板として、特許文献1には、基材と、基材の一方の主面に形成されており、複数の電極と、電極と繋がっている配線部と、を含む導体パターンと、基材の一方の主面に積層されている粘着層(同文献には、粘着剤層と記載)と、を備える配線基板が記載されている。
【先行技術文献】
【特許文献】
【0003】
特開2020-147659号公報
【発明の概要】
【発明が解決しようとする課題】
【0004】
しかしながら、特許文献1に記載の配線基板では、各電極同士をより確実に絶縁するとともに、配線基板を対象面に対して良好に貼付することが可能な構造を容易に実現する観点で、なお改善の余地がある。
【課題を解決するための手段】
【0005】
本発明によれば、基材と、
前記基材の一方の主面に形成されており、複数の電極と、前記電極と繋がっている配線部と、を含む導体パターンと、
各電極上に個別に形成されている無芯材の導電性粘着層と、
前記基材の前記一方の主面における前記電極の形成領域以外の領域に形成されている非導電性粘着層と、
を備える配線基板が提供される。
【発明の効果】
【0006】
本発明によれば、各電極同士をより確実に絶縁するとともに、配線基板を対象面に対して良好に貼付することが可能な構造を容易に実現することができる。
【図面の簡単な説明】
【0007】
実施形態に係る配線基板を示す模式的な平面図である。
図1に示すA-A線に沿った模式的な切断端面図である。
図3(a)、図3(b)及び図3(c)は実施形態に係る配線基板の製造方法の一例を説明するための模式図であり、図1のA-A線に沿った配線基板の切断端面を示している。
図4(a)及び図4(b)は実施形態に係る配線基板の製造方法の一例を説明するための模式図であり、図1のA-A線に沿った配線基板の切断端面を示している。
変形例1における電極及びその周辺構造を示す模式的な平面図である。
図5に示すA-A線に沿った模式的な切断端面図である。
図6に示すB部の部分拡大図である。
図8(a)、図8(b)及び図8(c)は変形例1に係る配線基板の製造方法の一例を説明するための模式図であり、図1のA-A線に相当する線に沿った配線基板の切断端面を示している。
図9(a)、図9(b)及び図9(c)は変形例1に係る配線基板の製造方法の一例を説明するための模式図であり、図1のA-A線に相当する線に沿った配線基板の切断端面を示している。
変形例2に係る配線基板を示す模式的な端面図であり、図1のA-A線に相当する線に沿った配線基板の切断端面を示している。
【発明を実施するための形態】
【0008】
以下、本発明の実施形態について、図1から図4(b)を用いて説明する。なお、すべての図面において、同様の構成要素には同一の符号を付し、適宜に説明を省略する。
【0009】
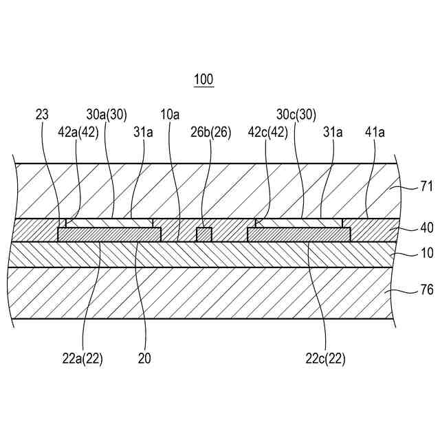
図1及び図2に示すように、本実施形態に係る配線基板100は、基材10と、基材10の一方の主面10aに形成されており、複数の電極22と、電極22と繋がっている配線部26と、を含む導体パターン20と、各電極22上に個別に形成されている無芯材の導電性粘着層30と、基材10の一方の主面10aにおける電極22の形成領域以外の領域に形成されている非導電性粘着層40と、を備えている。
なお、ここで、粘着材には一般的にハイドロゲル等の中間層として不織布等の芯材が含まれているものがあるが、本発明の導電性粘着層30にはこのような芯材が含まれていない。
また、ここで「各電極22上に個別に形成されている」とは、1つの電極22上に1つの導電性粘着層30が形成されていることを意味しており、各電極22上に形成されている導電性粘着層30同士は互いに独立(分離)している。
また、ここで「基材10の一方の主面における電極22の形成領域以外の領域に形成されている」とは、平面視において、非導電性粘着層40が、基材10の一方の主面における電極22の非形成領域の少なくとも一部分に形成されていることを意味している。そして、本実施形態に係る配線基板100の一方の主面10a側(対象面側)の面は、導電性粘着層30の形成領域と、非導電性粘着層40の形成領域とを含む。
【0010】
配線基板100は、対象物の対象面(例えば、生体の肌)に貼付して用いられ、当該配線基板100における対象物側とは反対側の面に外部機器(不図示)が取り付けられる。後述する外部端子部62は、外部機器と接続され、例えば、電極22によって検出された電気信号を当該外部機器に出力する。
(【0011】以降は省略されています)
この特許をJ-PlatPat(特許庁公式サイト)で参照する
関連特許
個人
電子部品の実装方法
13日前
個人
非衝突型ガウス加速器
2か月前
愛知電機株式会社
装柱金具
5日前
日本精機株式会社
回路基板
1か月前
イビデン株式会社
配線基板
6日前
アイホン株式会社
電気機器
27日前
日本放送協会
基板固定装置
1か月前
アイホン株式会社
電気機器
2か月前
個人
節電材料
2か月前
キヤノン株式会社
電子機器
27日前
メクテック株式会社
配線基板
1か月前
東レ株式会社
霧化状活性液体供給装置
1か月前
イビデン株式会社
プリント配線板
2か月前
イビデン株式会社
配線基板
2か月前
株式会社レクザム
剥離装置
5日前
サクサ株式会社
開き角度規制構造
4日前
イビデン株式会社
プリント配線板
1か月前
FDK株式会社
基板
12日前
イビデン株式会社
配線基板
1か月前
株式会社デンソー
電子装置
6日前
サクサ株式会社
筐体の壁掛け構造
1か月前
オムロン株式会社
端子折り曲げ治具
15日前
富士フイルム株式会社
積層体
6日前
カシン工業株式会社
PTC発熱装置
2か月前
日産自動車株式会社
電子部品
25日前
新電元工業株式会社
電子装置
27日前
日産自動車株式会社
電子機器
2か月前
株式会社レゾナック
冷却装置
12日前
富士電子工業株式会社
誘導加熱コイル
7日前
富士電子工業株式会社
誘導加熱コイル
7日前
富士電子工業株式会社
高周波焼入装置
2か月前
日本特殊陶業株式会社
配線基板
1か月前
新光電気工業株式会社
配線基板
18日前
日本無線株式会社
電子機器用密閉構造
1か月前
タイガー魔法瓶株式会社
加熱器
25日前
株式会社デンソー
電子装置
2か月前
続きを見る
他の特許を見る