TOP
|
特許
|
意匠
|
商標
特許ウォッチ
Twitter
他の特許を見る
10個以上の画像は省略されています。
公開番号
2025152573
公報種別
公開特許公報(A)
公開日
2025-10-10
出願番号
2024054522
出願日
2024-03-28
発明の名称
電気化学セル、固体酸化物形電解セル、セルスタック、ホットモジュール、および水素製造装置
出願人
日本特殊陶業株式会社
代理人
弁理士法人プロスペック特許事務所
主分類
C25B
9/00 20210101AFI20251002BHJP(電気分解または電気泳動方法;そのための装置)
要約
【課題】 電気化学セルの耐久性を向上させること。
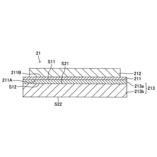
【解決手段】 電気化学セルとしての電解セル21は、固体電解質層211と、固体電解質層211の裏面211A側に積層配置した燃料極層213と、固体電解質層211の上面211B側に積層配置した空気極層212と、を備える。燃料極層213は、Ni及びFeを含む。そして、燃料極層213の厚さ方向における位置を、燃料極層213の厚さに対する燃料極層213と固体電解質層211との境界からの距離の比率Xによって表したとき、比率Xが0以上0.6以下である位置に存在するFeの濃度が、(-14X/60+0.14)wt%以上であり、且つ、(-56X/60+0.8)wt%以下である。
【選択図】 図5
特許請求の範囲
【請求項1】
固体電解質層と、
前記固体電解質層の一方面側に積層配置した燃料極層と、
前記固体電解質層の他方面側に積層配置した空気極層と、
を備えた電気化学セルであって、
前記燃料極層は、Ni及びFeを含み、
前記燃料極層の厚さ方向における位置を、前記燃料極層の厚さに対する前記燃料極層と前記固体電解質層との境界からの距離の比率Xによって表したとき、前記比率Xが0以上0.6以下である位置に存在するFeの濃度が、(-14X/60+0.14)wt%以上であり、且つ、(-56X/60+0.8)wt%以下である、
電気化学セル。
続きを表示(約 850 文字)
【請求項2】
請求項1に記載の電気化学セルであって、
前記燃料極層は、異なる気孔率を有する第一層及び第二層を備え、
前記第一層の気孔率は前記第二層の気孔率よりも小さく、
前記第一層及び前記第二層は、前記固体電解質層の前記一方面側に前記第一層、前記第二層の順に積層配置され、
前記第一層内のFeの濃度は、前記第二層内のFeの濃度よりも高い、
電気化学セル。
【請求項3】
請求項2に記載の電気化学セルであって、
前記第一層は、前記固体電解質層と界面を形成する第一面を有し、
前記第二層は、前記第一層と界面を形成する第二面を有し、
前記第二面に存在するFeの濃度が、前記第一面に存在するFeの濃度の0.7倍以上であり、且つ、1.0倍以下である、
電気化学セル。
【請求項4】
請求項1乃至3のいずれか1項に記載の電気化学セルであって、
前記比率Xが0以上0.6以下である位置に存在するFeの濃度が、(-28X/60+0.28)wt%以上であり、且つ、(-39X/60+0.56)wt%以下である、
電気化学セル。
【請求項5】
請求項1に記載の電気化学セルからなる固体酸化物形電解セル。
【請求項6】
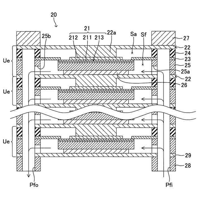
請求項5に記載の固体酸化物形電解セルが積層されて成るセルスタック。
【請求項7】
請求項6に記載のセルスタックと、
前記セルスタックに供給される水蒸気を生成する気化器と、
前記セルスタックに供給されるガスと熱交換を行う熱交換器と、
前記セルスタックを加熱するためのヒータと、
前記セルスタック、前記気化器、前記熱交換器及び前記ヒータがその内部に配置される断熱材と、
を備える、
ホットモジュール。
【請求項8】
請求項7に記載のホットモジュールを備える、水素製造装置。
発明の詳細な説明
【技術分野】
【0001】
本開示は、電気化学セル、固体酸化物形電解セル、セルスタック、ホットモジュール、および水素製造装置に関する。
続きを表示(約 1,800 文字)
【背景技術】
【0002】
従来から、電解質として固体酸化物が用いられた固体酸化物形の電気化学セルが知られている(例えば、特許文献1参照)。固体酸化物形の電気化学セルは、高温環境下において高効率で電気化学反応を行うことを特徴とし、固体酸化物形電解セル(SOEC:Solid Oxide Electrolysis Cell)、或いは固体酸化物形燃料電池(SOFC:Solid Oxide Fuel Cell)として利用することができる。固体酸化物形電解セルは、電気エネルギーにより水蒸気を水素と酸素とに分解する電気分解装置である。固体酸化物形燃料電池は、水素と酸素との化学反応により電気エネルギーを発生させる発電装置である。
【先行技術文献】
【特許文献】
【0003】
特開2019-8914号公報
【発明の概要】
【0004】
電気化学セルは、固体電解質層と、固体電解質層の一方面側に積層配置した燃料極層と、固体電解質層の他方面側に積層配置した空気極層と、を備えて構成することができる。燃料極層は、電極触媒としてのNi(ニッケル)及びイオン伝導性を有する酸化物(例えばYSZ(イットリア安定化ジルコニア))を含むように構成することができる。
【0005】
燃料極層にNiが含まれる電気化学セルを厳しい作動環境(高温度、高湿度、高電流)の下で長時間作動させた場合、燃料極層内でのNiの移動、凝集が引き起こされる。燃料極層内でNiが移動または凝集した場合、燃料極層の内部抵抗が増加し、また、反応場としての三相界面(燃料ガス、Ni、電解質(YSZ)の境界)が減少する。これにより、電気化学セルの性能が低下し、所望の性能を得ることができない。従って、長時間作動させた場合であっても所望の性能を維持することができるような、耐久性の向上した電気化学セルが望まれる。
【0006】
本開示は、上記した課題を解決することを目的とする。すなわち本開示の目的の一つは、電気化学セルの耐久性を向上させることである。
【0007】
本開示に係る電気化学セル(21)は、固体電解質層(211)と、固体電解質層(211)の一方面(211A)側に積層配置した燃料極層(213)と、固体電解質層(211)の他方面(211B)側に積層配置した空気極層(212)と、を備える。燃料極層(213)は、Ni及びFeを含む。そして、燃料極層(213)の厚さ方向における位置を、燃料極層(213)の厚さに対する燃料極層(213)と固体電解質層(211)との境界からの距離の比率Xによって表したとき、比率Xが0以上0.6以下である位置に存在するFeの濃度が、(-14X/60+0.14)wt%以上であり、且つ、(-56X/60+0.8)wt%以下である。
【0008】
本開示に係る電気化学セルの燃料極層は、NiおよびFe(鉄)を含む。燃料極層に含まれるFeは、Niの移動及び凝集を抑制する。しかしながら、Feの濃度が高すぎると、燃料極層の成形時(焼結時)に燃料極層内部の緻密化が促進されるために、燃料極層内を通過するガスの拡散性が悪化し、電気化学セルの初期性能が低下する。また、Feの濃度が低すぎると、Feを添加したことによるNiの移動および凝集の抑制効果が低下し、耐久性が十分に向上しない。
【0009】
本開示に係る電気化学セルによれば、燃料極層の厚さ方向における位置を正規化して固体電解質層に近い側から遠い側に向かって0から1となるように比率Xで表したとき、比率Xが0以上0.6以下である位置に存在するFeの濃度が(-14X/60+0.14)wt%以上であり、(-56X/60+0.8)wt%以下であるように構成される。このようにFeを燃料極層内に含ませることにより、電気化学セルの初期性能の低下を抑制しつつ、耐久性を向上させることができる。
【0010】
なお、本開示においては、燃料極層の厚さ方向位置を表す比率Xが0以上0.6以下の領域におけるFeの濃度範囲を定めたのであって、比率Xが0.6よりも大きい位置にFeが存在することを否定するものではない。
(【0011】以降は省略されています)
この特許をJ-PlatPat(特許庁公式サイト)で参照する
関連特許
日本特殊陶業株式会社
電極
11日前
日本特殊陶業株式会社
電極
11日前
日本特殊陶業株式会社
電極
11日前
日本特殊陶業株式会社
電極
11日前
日本特殊陶業株式会社
センサ
4日前
日本特殊陶業株式会社
センサ
4日前
日本特殊陶業株式会社
センサ
4日前
日本特殊陶業株式会社
センサ
4日前
日本特殊陶業株式会社
センサ
4日前
日本特殊陶業株式会社
保持装置
15日前
日本特殊陶業株式会社
保持装置
13日前
日本特殊陶業株式会社
保持装置
11日前
日本特殊陶業株式会社
保持装置
11日前
日本特殊陶業株式会社
圧電発音体
4日前
日本特殊陶業株式会社
超音波発生装置
15日前
日本特殊陶業株式会社
超音波発生装置
15日前
日本特殊陶業株式会社
セラミック部品
5日前
日本特殊陶業株式会社
セラミックヒータ
12日前
日本特殊陶業株式会社
マイクロリアクタ
15日前
日本特殊陶業株式会社
セラミックヒータ
12日前
日本特殊陶業株式会社
ホットモジュール
5日前
日本特殊陶業株式会社
ホットモジュール
5日前
日本特殊陶業株式会社
セラミックヒータ
15日前
日本特殊陶業株式会社
圧電セラミック積層体
12日前
日本特殊陶業株式会社
ガスセンサの製造方法
6日前
日本特殊陶業株式会社
圧電セラミック積層体
4日前
日本特殊陶業株式会社
圧電素子およびその利用
15日前
日本特殊陶業株式会社
圧電素子およびその利用
15日前
日本特殊陶業株式会社
金属有機構造体、および賦形体
7日前
日本特殊陶業株式会社
積層圧電セラミック素子及び装置
15日前
日本特殊陶業株式会社
積層圧電セラミック素子及び装置
15日前
日本特殊陶業株式会社
積層圧電セラミック素子及び装置
15日前
日本特殊陶業株式会社
配線基板および導電層の製造方法
11日前
日本特殊陶業株式会社
配線基板および導電層の製造方法
11日前
日本特殊陶業株式会社
セラミックヒータ及び液体加熱装置
12日前
日本特殊陶業株式会社
海洋無脊椎動物の陸上養殖システム
11日前
続きを見る
他の特許を見る