TOP
|
特許
|
意匠
|
商標
特許ウォッチ
Twitter
他の特許を見る
10個以上の画像は省略されています。
公開番号
2025152648
公報種別
公開特許公報(A)
公開日
2025-10-10
出願番号
2024054647
出願日
2024-03-28
発明の名称
積層体、積層体の製造方法、及び超伝導転移温度を上昇させる方法
出願人
国立大学法人東京科学大学
代理人
個人
主分類
C23C
14/06 20060101AFI20251002BHJP(金属質材料への被覆;金属質材料による材料への被覆;化学的表面処理;金属質材料の拡散処理;真空蒸着,スパッタリング,イオン注入法,または化学蒸着による被覆一般;金属質材料の防食または鉱皮の抑制一般)
要約
【課題】酸化物超伝導材料等の物体を持続的に加圧する構造の積層体、及びその製造方法、並びに、超伝導転移温度を上昇させる方法を提供すること。
【解決手段】酸化物超伝導材料及び導電性材料より選択される材料を含む物体上に、ダイヤモンド状炭素(DLC)膜を備える積層体であって、前記物体が、線材、シート材、又は、基材上に形成されたパターン状の薄膜である、積層体。
【選択図】図1
特許請求の範囲
【請求項1】
酸化物超伝導材料及び導電性材料より選択される材料を含む物体上に、ダイヤモンド状炭素(DLC)膜を備える積層体であって、
前記物体が、線材、シート材、又は、基材上に形成されたパターン状の薄膜である、積層体。
続きを表示(約 560 文字)
【請求項2】
前記物体が基材上に形成されたパターン状の薄膜であって、当該パターン状の薄膜が、繰り返しパターンを有する、請求項1に記載の積層体。
【請求項3】
前記繰り返しパターンが、ストライプ状、又はタイル状パターンである、請求項2に記載の積層体。
【請求項4】
前記薄膜のライン幅が、0.5~500μmである、請求項2に記載の積層体。
【請求項5】
前記薄膜の厚みが、0.05~5μmである、請求項2に記載の積層体。
【請求項6】
前記物体が、断面の長径が50mm以下の線材である、請求項1に記載の積層体。
【請求項7】
前記物体がシート材であって、前記シート材の少なくとも一方の面に前記DLC膜を備える、請求項1に記載の積層体。
【請求項8】
前記シート材の前記DLC膜とは反対の面から厚さ約1/3の範囲に圧縮応力を生じさせる、請求項7に記載の積層体。
【請求項9】
前記DLC膜の厚みが、0.05~5μmである、請求項1に記載の積層体。
【請求項10】
前記DLC膜が、20MPa以上の圧縮内部応力を有する、請求項1に記載の積層体。
(【請求項11】以降は省略されています)
発明の詳細な説明
【技術分野】
【0001】
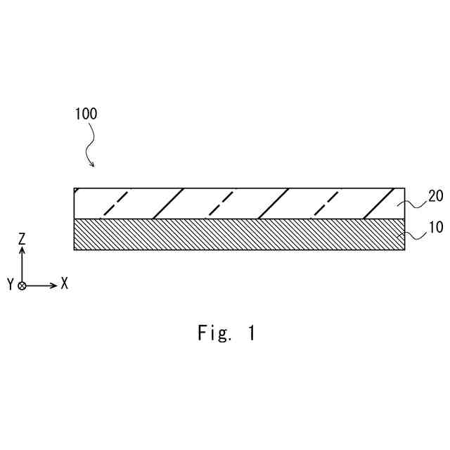
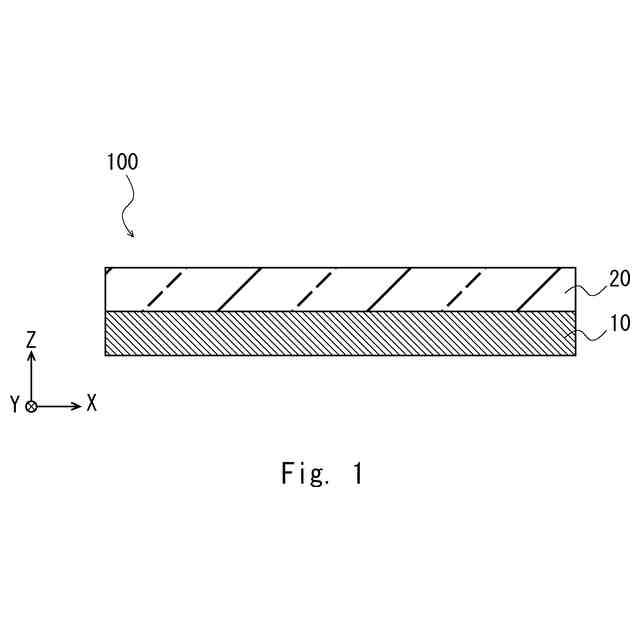
本開示は、積層体、積層体の製造方法、及び超伝導転移温度を上昇させる方法に関する。
続きを表示(約 3,200 文字)
【背景技術】
【0002】
超伝導は、ある転移温度Tc以下で材料の電気抵抗がなくなる現象である。現在では、カーボンニュートラルやSDGsの達成に向けた省エネルギー化やCO
2
の削減などが行われており、超伝導はこれらを解決する現象として注目されている。例えば,省エネルギーに関しては超伝導状態を利用した無抵抗送電線が期待されている。また、それ以外にも超伝導を用いたアプリケーションとしては、高速移動を可能にするリニアモーターカーや、人体の内部を精密に画像化することができる磁気共鳴画像法(Magnetic Resonance Image:MRI)、並列計算を可能にする量子コンピュータなどがある。
【0003】
超伝導体には圧力を加えることでTcが上昇するものがあることが知られており、これは圧力効果と呼ばれている。例えば特許文献1には、超伝導体の圧力効果を調査するために使用される高圧発生装置が開示されている。
【0004】
また、特許文献2には、金属製長尺基材上に、ダイヤモンドライクカーボン薄膜を用いた緩衝層を介して、酸化物超伝導体を成膜してなる酸化物超伝導複合長尺体が開示されている。特許文献2によれば、緩衝層を設けることで、熱処理中に生じる、基材中の原子と、酸化物超伝導材料との相互拡散を防止できるとされている。
【先行技術文献】
【特許文献】
【0005】
特開2012-187612号公報
特開平02-243781号公報
【発明の概要】
【発明が解決しようとする課題】
【0006】
超伝導の産業上利用の観点から、様々な方法でTcを上昇させることが検討されている。一つの手段として、上記圧力効果が検討されている。しかしながら例えば、液体窒素下で配線されている量子コンピュータ等の配線を大型プレスにより加圧するのは困難である。そのため機械的圧縮機器を用いずに圧力効果が得られる方法が求められている。
【0007】
本発明は上記課題を解決するものであり、酸化物超伝導材料等の物体を持続的に加圧する構造の積層体、及びその製造方法、並びに、超伝導転移温度を上昇させる方法を提供することを目的とする。
【課題を解決するための手段】
【0008】
本発明は以下の態様を含む。
[1]
酸化物超伝導材料及び導電性材料より選択される材料を含む物体上に、ダイヤモンド状炭素(Diamond-Like Carbon、DLC)膜を備える積層体であって、
前記物体が、線材、シート材、又は、基材上に形成されたパターン状の薄膜である、積層体。
[2]
前記物体が基材上に形成されたパターン状の薄膜であって、当該パターン状の薄膜が、繰り返しパターンを有する、[1]に記載の積層体。
[3]
前記繰り返しパターンが、ストライプ状、又はタイル状パターンである、[2]に記載の積層体。
[4]
前記薄膜のライン幅が、0.5~500μmである、[2]又は[3]に記載の積層体。
[5]
前記薄膜の厚みが、0.05~5μmである、[2]~[4]のいずれかに記載の積層体。
[6]
前記物体が、断面の長径が50mm以下の線材である、[1]に記載の積層体。
[7]
前記物体がシート材であって、前記シート材の少なくとも一方の面に前記DLC膜を備える、[1]に記載の積層体。
[8]
前記シート材の前記DLC膜とは反対の面から厚さ約1/3の範囲に圧縮応力を生じさせる、[7]に記載の積層体。
[9]
前記DLC膜の厚みが、0.05~5μmである、[1]~[8]のいずれかに記載の積層体。
[10]
前記DLC膜が、20MPa以上の圧縮内部応力を有する、[1]~[9]のいずれかに記載の積層体。
[11]
前記材料が、酸化物超伝導材料である、[1]~[10]のいずれかに記載の積層体。
[12]
前記酸化物超伝導材料が、銅酸化物超伝導体である、[11]に記載の積層体。
[13]
DLC膜を有しない物体に対して、超伝導転移温度が0.5K以上高い、[11]又は[12]に記載の積層体。
[14]
前記材料が導電性材料であり、前記物体がパターン状の薄膜であり、前記パターンが回路パターンを構成する、[1]~[10]のいずれかに記載の積層体。
[15]
[1]~[14]のいずれかに記載の積層体の製造方法であって、
酸化物超伝導材料及び導電性材料より選択される材料を含む物体を準備することと、
前記物体上にDLC膜を成膜することと、を含む、積層体の製造方法。
[16]
前記DLC膜の成膜が、気相成長法により行われる、請求項15に記載の積層体の製造方法。
[17]
前記DLC膜の成膜が、Filtered Cathodic Vacuum Arc法により行われる、[15]に記載の積層体の製造方法。
[18]
酸化物超伝導材料を含む物体に、DLCをコーティングすることを含む、物体の超伝導転移温度を上昇させる方法。
[19]
前記物体がシート材であって、前記シート材の少なくとも一方の面にDLCをコーティングすることを含み、
前記シート材の前記DLC膜とは反対の面から厚さ約1/3の範囲に圧縮応力を生じさせる、[18]に記載の物体の超伝導転移温度を上昇させる方法。
[20]
前記DLC膜のコーティングが、Filtered Cathodic Vacuum Arc法により行われる、[18]又は[19]に記載の物体の超伝導転移温度を上昇させる方法。
【発明の効果】
【0009】
本発明により、酸化物超伝導材料等の物体を持続的に加圧する構造の積層体、及びその製造方法、並びに、超伝導転移温度を上昇させる方法を提供することができる。
【図面の簡単な説明】
【0010】
第1実施形態の積層体の一例を示す模式的断面図である。
積層体中の物体が加圧されることを説明するために用いる模式的断面図である。
第1実施形態の物体の一例を示す斜視図である。
第1実施形態の積層体の一例を示す模式的断面図である。
第2実施形態の積層体の一例を示す模式的断面図である。
第2実施形態の積層体の一例を示す模式的断面図である。
第3実施形態の積層体の一例を示す模式的断面図及び正面図である。
積層体中の物体が加圧されることを説明するために用いる模式的断面図である。
第3実施形態の積層体の一例を示す模式的正面図である。
第3実施形態の積層体の一例を示す模式的断面図である。
FCVA法の概略図である。
レーザー顕微鏡を用いた構造評価結果である。
YBCO薄膜のパターン形状を示すレーザー顕微鏡像である。
DLC膜のラマンスペクトルである。
Stoneyの式のパラメータを説明するための模式的断面図である。
薄膜の超伝導性評価を示すグラフである。
DLC膜の膜厚を示すグラフである。
【発明を実施するための形態】
(【0011】以降は省略されています)
この特許をJ-PlatPat(特許庁公式サイト)で参照する
関連特許
国立大学法人東京科学大学
修飾ヘテロ核酸
7日前
個人
フッ素樹脂塗装鋼板の保管方法
2か月前
株式会社カネカ
製膜装置
18日前
株式会社京都マテリアルズ
めっき部材
22日前
株式会社カネカ
製膜装置
18日前
株式会社オプトラン
蒸着装置
6か月前
株式会社三愛工業所
アルミニウム材
5か月前
株式会社KSマテリアル
防錆組成物
3か月前
日本化学産業株式会社
複合めっき皮膜
2か月前
エドワーズ株式会社
真空排気システム
11日前
台灣晶技股ふん有限公司
無電解めっき法
1か月前
東京エレクトロン株式会社
成膜方法
1か月前
日東電工株式会社
積層体の製造方法
5か月前
JFEスチール株式会社
鋼部品
2か月前
株式会社カネカ
気化装置及び製膜装置
12日前
東京エレクトロン株式会社
基板処理装置
4か月前
住友重機械工業株式会社
成膜装置
4か月前
DOWAサーモテック株式会社
浸炭方法
5か月前
信越半導体株式会社
真空蒸着方法
5か月前
TOTO株式会社
構造部材
12日前
株式会社アルバック
マスクユニット
12日前
東京エレクトロン株式会社
基板処理装置
6か月前
東京エレクトロン株式会社
基板処理装置
5か月前
住友重機械工業株式会社
成膜装置
3か月前
株式会社内村
防食具、防食具の設置方法
1か月前
黒崎播磨株式会社
溶射装置
26日前
株式会社アルバック
基板ステージ装置
19日前
国立大学法人千葉大学
成膜装置及び成膜方法
1か月前
株式会社デンソー
接合体
1か月前
フジタ技研株式会社
被覆部材、及び、表面被覆金型
20日前
日本コーティングセンター株式会社
炭化ホウ素被膜
12日前
川崎重工業株式会社
水素遮蔽膜
2か月前
ケニックス株式会社
蒸発源装置
2か月前
株式会社アルバック
成膜装置、および搬送方法
2か月前
黒崎播磨株式会社
溶射用ランス
4か月前
学校法人静岡理工科大学
放電被覆装置及び放電被覆方法
1か月前
続きを見る
他の特許を見る