TOP
|
特許
|
意匠
|
商標
特許ウォッチ
Twitter
他の特許を見る
公開番号
2025152835
公報種別
公開特許公報(A)
公開日
2025-10-10
出願番号
2024054960
出願日
2024-03-28
発明の名称
情報処理装置、情報処理システム、情報処理方法及びプログラム
出願人
株式会社リコー
代理人
弁理士法人酒井国際特許事務所
主分類
B65G
1/137 20060101AFI20251002BHJP(運搬;包装;貯蔵;薄板状または線条材料の取扱い)
要約
【課題】物体の位置情報の管理に影響する異常が移動体に起きている場合に、移動体に異常が発生していることをユーザに通知する。
【解決手段】ネットワークを介して取得した画像に基づき、移動体により移動される物体の位置情報を管理する情報処理装置において、前記画像に基づいて、前記物体の位置情報の管理に影響する異常が、前記移動体に起きていることを判定する異常判定部と、前記異常判定部によって異常が起きていると判定された場合、異常が発生している旨を示す表示を生成する通知生成部と、前記通知生成部が生成した表示を外部端末に出力する出力部と、を備える。
【選択図】図6
特許請求の範囲
【請求項1】
ネットワークを介して取得した画像に基づき、移動体により移動される物体の位置情報を管理する情報処理装置において、
前記画像に基づいて、前記物体の位置情報の管理に影響する異常が、前記移動体に起きていることを判定する異常判定部と、
前記異常判定部によって異常が起きていると判定された場合、異常が発生している旨を示す表示を生成する通知生成部と、
前記通知生成部が生成した表示を外部端末に出力する出力部と、
を備えることを特徴とする情報処理装置。
続きを表示(約 1,000 文字)
【請求項2】
前記画像に基づき、前記移動体の位置情報を演算により取得する移動体位置取得部と、
前記画像に基づき、前記物体の着脱位置および高さを推定する貨物着脱位置・高さ推定部と、
を備え、
前記異常判定部は、前記移動体位置取得部の出力、前記貨物着脱位置・高さ推定部の出力、前記ネットワークの状態の出力、のいずれかの出力をもとに、異常が起きたことを判定する、
ことを特徴とする請求項1に記載の情報処理装置。
【請求項3】
前記通知生成部は、前記異常判定部により判明した異常に基づいて、前記移動体を運転するオペレータ向け表示と、前記オペレータ以外の管理者向け表示と、を生成する、
ことを特徴とする請求項1に記載の情報処理装置。
【請求項4】
前記通知生成部によって生成された表示には、異常を復旧する手法を含む、
ことを特徴とする請求項3に記載の情報処理装置。
【請求項5】
移動体と、
画像を撮像する撮像部と、
請求項1ないし4の何れか一項に記載の情報処理装置と、
を備えることを特徴とする情報処理システム。
【請求項6】
ネットワークを介して取得した画像に基づき、移動体により移動される物体の位置情報を管理する情報処理装置における情報処理方法であって、
前記画像に基づいて、前記物体の位置情報の管理に影響する異常が、前記移動体に起きていることを判定する異常判定工程と、
前記異常判定工程によって異常が起きていると判定された場合、異常が発生している旨を示す表示を生成する通知生成工程と、
前記通知生成工程が生成した表示を外部端末に出力する出力工程と、
を含むことを特徴とする情報処理方法。
【請求項7】
ネットワークを介して取得した画像に基づき、移動体により移動される物体の位置情報を管理するコンピュータを、
前記画像に基づいて、前記物体の位置情報の管理に影響する異常が、前記移動体に起きていることを判定する異常判定部と、
前記異常判定部によって異常が起きていると判定された場合、異常が発生している旨を示す表示を生成する通知生成部と、
前記通知生成部が生成した表示を外部端末に出力する出力部と、
として機能させるプログラム。
発明の詳細な説明
【技術分野】
【0001】
本発明は、情報処理装置、情報処理システム、情報処理方法及びプログラムに関する。
続きを表示(約 1,400 文字)
【背景技術】
【0002】
従来、フォークリフト等の移動体により移動される貨物又はパレット等の物体の位置情報を管理する情報処理装置が知られている。
【0003】
特許文献1には、物体を移動する移動体について、移動体の稼働状況をより細かく分類する技術が開示されている。
【発明の概要】
【発明が解決しようとする課題】
【0004】
しかしながら、従来の技術では、ユーザが気づかない間に、物体の位置情報の管理に影響する異常が移動体に起きていた場合、物体の位置情報を正しく取得することができず、ユーザが気づかぬ間に、実態に基づかない物体の位置情報が登録されてしまうという問題がある。そのため、システムに登録された位置情報の場所に物体がなく、物体の捜索の無駄が発生する等の悪影響を及ぼす可能性がある。
【0005】
本発明は、上記に鑑みてなされたものであって、物体の位置情報の管理に影響する異常が移動体に起きている場合に、移動体に異常が発生していることをユーザに通知することを目的とする。
【課題を解決するための手段】
【0006】
上述した課題を解決し、目的を達成するために、本発明は、ネットワークを介して取得した画像に基づき、移動体により移動される物体の位置情報を管理する情報処理装置において、前記画像に基づいて、前記物体の位置情報の管理に影響する異常が、前記移動体に起きていることを判定する異常判定部と、前記異常判定部によって異常が起きていると判定された場合、異常が発生している旨を示す表示を生成する通知生成部と、前記通知生成部が生成した表示を外部端末に出力する出力部と、を備えることを特徴とする。
【発明の効果】
【0007】
本発明によれば、物体の位置情報の管理に影響する異常が移動体に起きている場合に、移動体に異常が発生していることをユーザに通知することができる、という効果を奏する。
【図面の簡単な説明】
【0008】
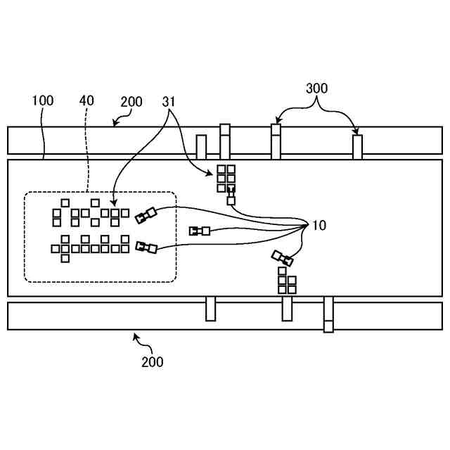
図1は、倉庫内における物体の位置情報の一例を説明する図である。
図2は、実施形態に係る情報処理システムの全体構成の一例を示す図である。
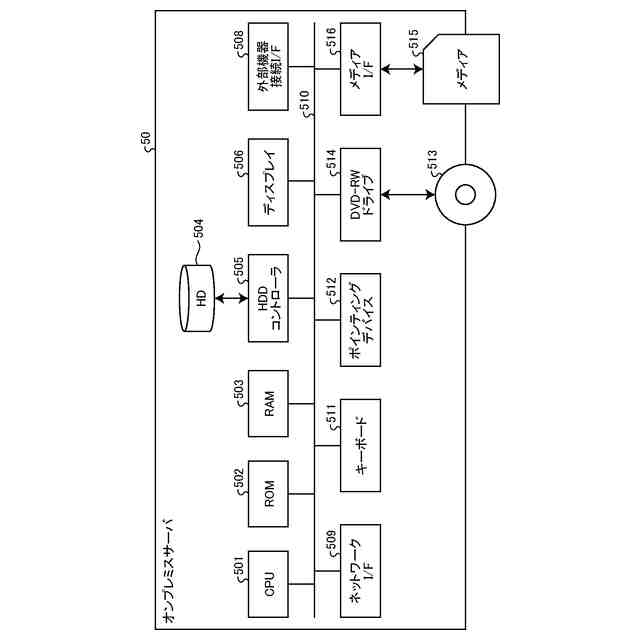
図3は、オンプレミスサーバのハードウェア構成の一例を示すブロック図である。
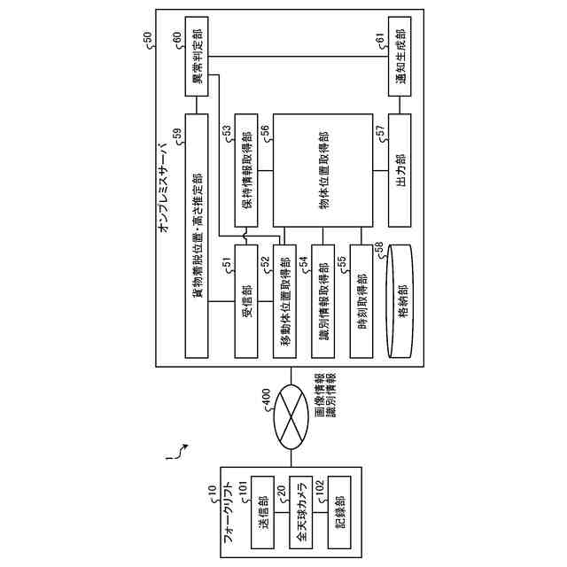
図4は、情報処理システムの機能構成の一例を示すブロック図である。
図5は、オンプレミスサーバによる処理の一例を示すフローチャートである。
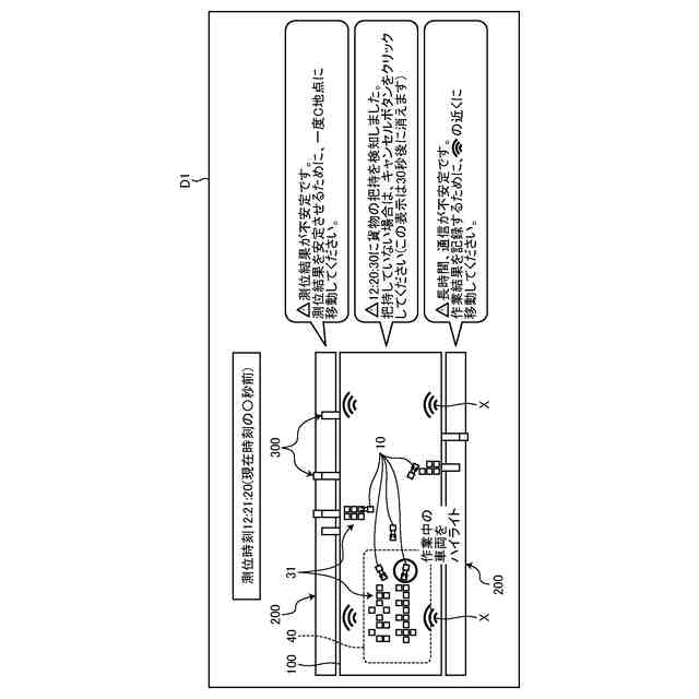
図6は、作業者(フォークリフトオペレータ)向け表示画面の一例を示す図である。
図7は、管理者向け表示画面の一例を示す図である。
【発明を実施するための形態】
【0009】
以下に添付図面を参照して、情報処理装置、情報処理システム、情報処理方法及びプログラムの実施の形態を詳細に説明する。
【0010】
実施形態に係る情報処理装置は、移動体により移動される物体の位置情報を処理するものである。例えば、移動体はフォークリフトであり、物体はパレットを含む。実施形態に係る情報処理装置は、フォークリフトにより移動されるパレット等の物体の位置情報を処理して、物体の移動を認識し、また追跡する。
(【0011】以降は省略されています)
この特許をJ-PlatPat(特許庁公式サイト)で参照する
関連特許
株式会社リコー
画像形成装置
2日前
株式会社リコー
機器及び異常判定方法
2日前
株式会社リコー
画像形成装置及びシステム
今日
株式会社リコー
定着装置、及び画像形成装置
2日前
株式会社リコー
表示装置、切替方法、プログラム
7日前
株式会社リコー
加熱装置、定着装置及び画像形成装置
1日前
株式会社リコー
シート給送装置及び画像形成システム
3日前
株式会社リコー
通信装置、通信方法、及びプログラム
今日
株式会社リコー
通信端末、通信方法、及びプログラム
今日
株式会社リコー
光源装置、画像投影装置および調整方法
7日前
株式会社リコー
ノード、データ共有方法、及びプログラム
14日前
株式会社リコー
通信装置、状態制御方法、及びプログラム
3日前
株式会社リコー
画像形成装置、及び、プロセスカートリッジ
7日前
株式会社リコー
画像形成装置、情報処理方法及びプログラム
今日
株式会社リコー
画像形成装置、情報処理方法およびプログラム
1日前
株式会社リコー
画像読取装置、画像判定方法およびプログラム
今日
株式会社リコー
モノクロ用光走査装置及びモノクロ画像形成装置
今日
株式会社リコー
表示装置、表示方法、プログラム、表示システム
15日前
株式会社リコー
対話装置、対話システム、対話方法及びプログラム
14日前
株式会社リコー
情報処理装置、情報処理システムおよび情報処理方法
14日前
株式会社リコー
情報処理システム、情報処理装置および情報処理方法
14日前
株式会社リコー
電気機器、画像形成装置、制御方法、及びプログラム
10日前
株式会社リコー
情報処理装置、情報処理システム、情報処理方法及びプログラム
14日前
株式会社リコー
情報処理装置、画面作成方法、プログラム、及び情報処理システム
1日前
株式会社リコー
情報処理装置、画面作成方法、プログラム、及び情報処理システム
10日前
株式会社リコー
情報処理装置、情報処理方法、プログラム、および情報処理システム
14日前
株式会社リコー
手書き入力装置、手書き入力システム、手書き入力方法、プログラム
14日前
株式会社リコー
表示装置、表示方法、プログラム
7日前
株式会社リコー
画像処理装置、方法、およびプログラム
7日前
株式会社リコー
情報処理システム、情報処理方法およびプログラム
9日前
株式会社リコー
通信端末、取引システム、表示方法、及びプログラム
2日前
株式会社リコー
情報処理システム、サービス提供システム、設定方法
9日前
株式会社リコー
通信端末、画像通信システム、表示方法、及びプログラム
7日前
株式会社リコー
情報処理システム、サーバ、情報処理方法、及びプログラム
7日前
株式会社リコー
情報処理装置、サービス提供システム、方法およびプログラム
10日前
株式会社リコー
電子機器、情報処理システム、情報処理方法およびプログラム
10日前
続きを見る
他の特許を見る