TOP
|
特許
|
意匠
|
商標
特許ウォッチ
Twitter
他の特許を見る
公開番号
2025155113
公報種別
公開特許公報(A)
公開日
2025-10-14
出願番号
2024058575
出願日
2024-04-01
発明の名称
情報処理装置、画面作成方法、プログラム、及び情報処理システム
出願人
株式会社リコー
代理人
個人
,
個人
主分類
H04N
7/18 20060101AFI20251006BHJP(電気通信技術)
要約
【課題】撮影により得た撮影画像を補完することで、利用者の利便性を向上させることを目的とする。
【解決手段】本開示は、対象物を撮影することで得られた撮影画像中の第1の位置を示す位置情報と、前記対象物に対応する三次元領域を含む三次元画像中の第2の位置を示す位置情報を対応付ける処理部と、前記撮影画像における所定領域である所定領域画像を表示する第1の表示領域と、前記処理部により前記撮影画像中の前記第1の位置と前記第2の位置が対応付けられた前記三次元画像を表示する第2の表示領域と、を含む画面を作成する作成部を有し、作成部は、時間情報に対応して、三次元画像に含まれる三次元モデルの配置及び大きさの少なくとも一方が変化するように、第2の表示領域を作成する、情報処理装置である。
【選択図】図31
特許請求の範囲
【請求項1】
対象物を撮影することで得られた撮影画像中の第1の位置を示す位置情報と、前記対象物に対応する三次元領域を含む三次元画像中の第2の位置を示す位置情報を対応付ける処理部と、
前記撮影画像における所定領域である所定領域画像を表示する第1の表示領域と、前記処理部により前記撮影画像中の前記第1の位置と前記第2の位置が対応付けられた前記三次元画像の少なくとも一部を表示する第2の表示領域と、を含む画面を作成する作成部と、
を有し、
前記作成部は、時間情報に対応して、前記三次元画像に含まれる三次元モデルの配置及び大きさの少なくとも一方が変化するように、前記第2の表示領域を作成する、
情報処理装置。
続きを表示(約 1,200 文字)
【請求項2】
前記作成部は、前記時間情報を含む前記第2の表示領域を作成する、
請求項1記載の情報処理装置。
【請求項3】
前記作成部は、前記撮影画像を撮影した時間より前の時間の前記時間情報に対応して、前記第2の表示領域を作成する、
請求項1記載の情報処理装置。
【請求項4】
前記作成部は、前記撮影画像を撮影した時間の前記時間情報に対応して、前記第2の表示領域を作成する、
請求項1記載の情報処理装置。
【請求項5】
前記作成部は、前記撮影画像を撮影した時間より後の時間の前記時間情報に対応して、前記第2の表示領域を作成する、
請求項1記載の情報処理装置。
【請求項6】
前記三次元画像に含まれる三次元モデルの配置及び大きさの少なくとも一方の変化が前記時間情報と対応付けられており、
前記作成部は、前記三次元モデルの配置及び大きさの少なくとも一方の変化と対応付けられた前記時間情報が変更された場合に、前記時間情報に対応する前記三次元モデルの配置及び大きさの少なくとも一方の変化を変更するように前記第2の表示領域を作成する、
請求項1記載の情報処理装置。
【請求項7】
前記作成部は、第1の前記時間情報に対応する前記三次元画像と異なる箇所を識別する第1の識別情報を、第2の前記時間情報に対応する前記三次元画像に重畳して前記第2の表示領域を作成する、
請求項1乃至6の何れか一項に記載の情報処理装置。
【請求項8】
前記作成部は、前記三次元画像と前記撮影画像とが異なる箇所を識別する第2の識別情報を、前記三次元画像に重畳して前記第2の表示領域を作成、又は前記撮影画像に重畳して前記第1の表示領域を作成する、
請求項1乃至6の何れか一項に記載の情報処理装置。
【請求項9】
情報処理装置が実行する画面作成方法であって、
対象物を撮影することで得られた撮影画像中の第1の位置を示す位置情報と、前記対象物に対応する三次元領域を含む三次元画像中の第2の位置を示す位置情報を対応付ける対応付け処理と、
前記撮影画像における所定領域である所定領域画像を表示する第1の表示領域と、前記対応付け処理により前記撮影画像中の前記第1の位置と前記第2の位置が対応付けられた前記三次元画像を表示する第2の表示領域とを含む画面を作成する作成処理と、
を実行し、
前記作成処理は、
時間情報に対応して、前記三次元画像に含まれる三次元モデルの配置及び大きさの少なくとも一方が変化するように、前記第2の表示領域を作成する、
画面作成方法。
【請求項10】
コンピュータに、請求項9に記載の方法を実行させるためのプログラム。
(【請求項11】以降は省略されています)
発明の詳細な説明
【技術分野】
【0001】
本開示は、情報処理装置、画面作成方法、プログラム、及び情報処理システムに関する。
続きを表示(約 2,800 文字)
【背景技術】
【0002】
近年、通常の画角では確認しきれないような箇所も含む撮像範囲として、例えば360度の全周囲が撮像された360度画像(全天球画像、全方位画像、全周囲画像ともいう)等の広い視野角を有する広視野の画像(以下「広視野画像」と示す。)が知られている。このような広視野画像の全てを表示端末で表示させようとすると、広視野画像が湾曲して見えづらいため、表示端末には広視野画像における所定領域を示す所定領域画像を表示して、ユーザが所定領域画像を閲覧している(特許文献1参照)。
【発明の概要】
【発明が解決しようとする課題】
【0003】
しかしながら、ユーザは、表示される範囲の所定領域画像を閲覧するだけでは、所定領域画像がどこの何を撮影したものか、把握することが困難であった。
【0004】
また、撮影装置は、撮影位置から一度の撮影で撮影装置の周囲360度の対象物を撮影するのであって、対象物に対して360度の方向から撮影できるわけではない。よって、撮影範囲に入っている対象物であっても、対象物の裏側等を撮影することはできないため、利用者は対象物の裏側等の状態を把握することができない。
【0005】
さらに、ユーザは、表示される範囲の所定領域画像を閲覧するだけでは、時間情報に対応する所定領域画像として適切であるかを把握することができない。
【0006】
以上の課題は、撮影画像が、広視野画像のように湾曲する画像ではない場合も同様であった。
【0007】
本開示は、上記事情に鑑みてなされたもので、撮影により得た撮影画像を補完することにより、利用者の利便性を向上させることを目的とする。
【課題を解決するための手段】
【0008】
請求項1に係る開示内容は、表示する画面を作成する情報処理装置であって、対象物を撮影することで得られた撮影画像中の第1の位置を示す位置情報と、前記対象物に対応する三次元領域を含む三次元画像中の第2の位置を示す位置情報を対応付ける処理部と、前記撮影画像における所定領域である所定領域画像を表示する第1の表示領域と、前記処理部により前記撮影画像中の前記第1の位置と前記第2の位置が対応付けられた前記三次元画像の少なくとも一部を表示する第2の表示領域と、を含む画面を作成する作成部を有し、前記作成部は、時間情報に対応して、前記三次元画像に含まれる三次元モデルの配置及び大きさの少なくとも一方が変化するように、前記第2の表示領域を作成する、情報処理装置である。
【発明の効果】
【0009】
本開示によれば、撮影により得た撮影画像を補完する画像を作成することで、利用者の利便性を向上させることができるという効果を奏する。
【図面の簡単な説明】
【0010】
(a)は撮影装置の左側面図であり、(b)は撮影装置の正面図であり、(c)は撮影装置の平面図である。
撮影装置の使用イメージ図である。
(a)は撮影装置で撮影された半球画像(前)、(b)は撮影装置で撮影された半球画像(後)、(c)はメルカトル図法により表された画像を示した図である。
(a)メルカトル画像で球を被う状態を示した概念図、(b)全天球画像を示した図である。
全天球画像を3次元の立体球とした場合の仮想カメラ及び所定領域の位置を示した図である。
(a)は図5の立体斜視図、(b)は(a)の状態の所定領域画像がディスプレイに表示されている図、(c)は(a)における仮想カメラICの視点を変更後の所定領域を示した図、(d)は(c)の状態の所定領域画像がディスプレイに表示されている図である。
球座標による三次元ユークリッド空間内の点を示した図である。
所定領域と注目点との関係を示した概念図である。
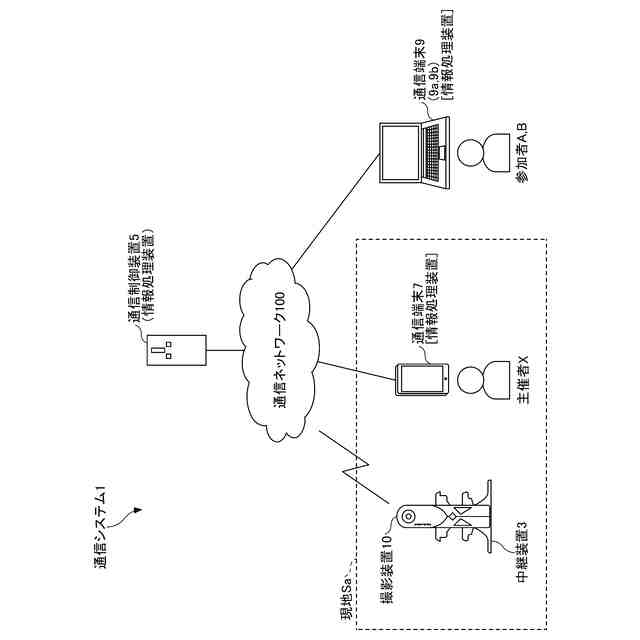
実施形態に係る通信システムの概略図である。
撮影装置のハードウェア構成図である。
中継装置のハードウェア構成図である。
通信制御装置及び通信端末のハードウェア構成図である。
実施形態に係る通信システムの各機能構成図である。
ユーザ・デバイス管理テーブルの概念図である。
仮想ルーム管理テーブルの概念図である。
三次元画像管理テーブル(その1)の概念図である。
三次元画像管理テーブル(その2)の概念図である。
通信システムにおいてコンテンツデータの通信処理を示したシーケンス図である。
通信システムにおいて録画及び録音を開始する処理を示すシーケンス図である。
通信システムにおいて録画及び録音を停止する処理を示すシーケンス図である。
通信システムにおいて録画及び録音の再生の処理を示すシーケンス図である。
録画データ選択画面を示す図である。
画面表示処理において通信制御装置が実行する処理を示すフローチャートである。
画面表示処理において通信制御装置が実行する処理を示すフローチャートである。
画面表示処理において通信制御装置が実行する処理を示すフローチャートである。
通信端末9aに表示する画面の初期表示例を示す図である。
図25に示す三次元画像の状態から、仮想カメラIC2の位置及び画角を変更した状態を示した図である。
仮想カメラのIC2の異なる位置毎に表示される三次元画像を示した図である。
三次元画像の拡大に伴い所定領域画像を拡大した状態を表示した画面を示す図である。
三次元画像の縮小に伴い所定領域画像を縮小した状態を表示した画面を示す図である。
表示領域620に対して、対応所定領域、仮想カメラIC1のアイコン、及び仮想カメラIC1の視線を表示した画面を示す図である。
時間情報の変更に伴い三次元画像が変化した状態を表示した画面を示す図である。
時間情報の変更に伴い三次元画像が変化した状態を表示した画面を示す図である。
時間情報の変更に伴い三次元画像が変化した状態を表示した画面を示す図である。
第1の識別情報が重畳表示された画面を示す図である。
第2の識別情報が重畳表示される前の画面を示す図である。
第2の識別情報が重畳表示された後の画面を示す図である。
時間情報の変化が同じであっても三次元モデルの変化が異なる画面を示す図である。
【発明を実施するための形態】
(【0011】以降は省略されています)
この特許をJ-PlatPat(特許庁公式サイト)で参照する
関連特許
株式会社リコー
移動体
9日前
株式会社リコー
画像形成装置
14日前
株式会社リコー
感熱記録媒体
15日前
株式会社リコー
生体情報測定装置
15日前
株式会社リコー
画像形成システム
14日前
株式会社リコー
液体を吐出する装置
15日前
株式会社リコー
電極及びその製造方法
16日前
株式会社リコー
印刷装置および印刷システム
14日前
株式会社リコー
液体吐出装置及び液体吐出方法
14日前
株式会社リコー
システム、方法およびプログラム
14日前
株式会社リコー
パーソナライズビデオメカニズム
16日前
株式会社リコー
ベルト装置、及び、画像形成装置
14日前
株式会社リコー
媒体処理装置及び画像形成システム
14日前
株式会社リコー
媒体処理装置及び画像形成システム
14日前
株式会社リコー
mRNA発現量の免疫学的評価方法
15日前
株式会社リコー
媒体処理装置及び画像形成システム
14日前
株式会社リコー
液体吐出ヘッドおよび液体吐出装置
15日前
株式会社リコー
媒体処理装置及び画像形成システム
16日前
株式会社リコー
媒体処理装置及び画像形成システム
15日前
株式会社リコー
媒体処理装置及び画像形成システム
14日前
株式会社リコー
液滴形成装置及びゲル粒子の製造方法
16日前
株式会社リコー
シート給紙装置、および画像形成装置
14日前
株式会社リコー
原稿処理装置、及び原稿処理システム
15日前
株式会社リコー
処理剤液塗布装置および画像形成装置
14日前
株式会社リコー
液体吐出ヘッド及び液体を吐出する装置
15日前
株式会社リコー
画像形成装置及び転写残トナーの回収方法
15日前
株式会社リコー
ノード、データ共有方法、及びプログラム
7日前
株式会社リコー
画像形成装置及び転写残トナーの回収方法
15日前
株式会社リコー
投受光装置、測距システムおよびプログラム
15日前
株式会社リコー
画像形成装置、情報処理方法およびプログラム
14日前
株式会社リコー
面発光レーザ、レーザ装置、検出装置及び移動体
14日前
株式会社リコー
用紙処理装置、用紙処理方法、およびプログラム
14日前
株式会社リコー
表示装置、表示方法、プログラム、表示システム
8日前
株式会社リコー
画像形成装置、画像形成方法、およびプログラム
14日前
株式会社リコー
画像処理装置、画像処理方法、およびプログラム
14日前
株式会社リコー
対話装置、対話システム、対話方法及びプログラム
7日前
続きを見る
他の特許を見る