TOP
|
特許
|
意匠
|
商標
特許ウォッチ
Twitter
他の特許を見る
10個以上の画像は省略されています。
公開番号
2025153595
公報種別
公開特許公報(A)
公開日
2025-10-10
出願番号
2024056146
出願日
2024-03-29
発明の名称
情報処理装置、情報処理方法、プログラム、および情報処理システム
出願人
株式会社リコー
代理人
弁理士法人酒井国際特許事務所
主分類
G01J
3/52 20060101AFI20251002BHJP(測定;試験)
要約
【課題】品質評価パターンに面内ムラがある場合でも、読取データと基準データの位置ずれの影響を抑え、画像読取装置の異常を適切に検知することができることを目的とする。
【解決手段】画像読取装置のセンサユニットがカラーチャートを読み取った読取データを受信する受信部と、前記カラーチャートに含まれる品質評価パターンの基準データを記憶する記憶部と、前記読取データの読み取り位置のずれを判定する位置ずれ判定部と、前記センサユニットの異常を検知する異常検知部と、を備える。
【選択図】図9
特許請求の範囲
【請求項1】
画像読取装置のセンサユニットがカラーチャートを読み取った読取データを受信する受信部と、
前記カラーチャートに含まれる品質評価パターンの基準データを記憶する記憶部と、
前記読取データの読み取り位置のずれを判定する位置ずれ判定部と、
前記センサユニットの異常を検知する異常検知部と、
を備え、
前記異常検知部は、前記位置ずれ判定部の判定結果を用いて前記品質評価パターンの同じ位置に対応する前記読取データと前記基準データの差分を算出し、前記差分が所定の閾値以上であるか否かにより異常を検知する、
情報処理装置。
続きを表示(約 1,800 文字)
【請求項2】
前記基準データを識別するデータ識別部を更に備え、
前記カラーチャートは、
前記品質評価パターンに対応する識別コードと、
前記読み取り位置のずれを判定するための位置ずれ判定パターンと、
を含み、
前記位置ずれ判定部は、前記位置ずれ判定パターンの読取データを用いて前記読み取り位置のずれを判定し、
前記データ識別部は、前記識別コードの読取データを用いて前記基準データを識別する、
請求項1に記載の情報処理装置。
【請求項3】
前記品質評価パターンの基準データは、
基準測色器で前記品質評価パターンを測定して生成されたデータ、又は、
前記画像読取装置の出荷時に、前記画像読取装置で前記品質評価パターンを測定して生成されたデータ、のいずれかである、
請求項1に記載の情報処理装置。
【請求項4】
前記センサユニットは、複数のセンサを有し、
前記異常検知部は、前記センサの各々の異常を検知する、
請求項1に記載の情報処理装置。
【請求項5】
表示画面に情報を表示させる表示制御部を更に備え、
前記表示制御部は、前記異常検知部が異常を検知した場合に、異常が検知されたセンサの情報を前記表示画面に表示させる、
請求項4に記載の情報処理装置。
【請求項6】
前記カラーチャートの交換時期を判定する交換時期判定部と、
表示画面に情報を表示させる表示制御部と、を更に備え、
前記表示制御部は、前記交換時期判定部で判定された交換時期を示す情報を前記表示画面に表示させる、
請求項1に記載の情報処理装置。
【請求項7】
前記受信部は、前記センサユニットが前記カラーチャートの少なくとも一部を反復して読み取った反復読取データを更に受信し、
前記異常検知部は、
前記位置ずれ判定部の判定結果を用いて前記品質評価パターンの同じ位置に対応する前記読取データと前記基準データの差分を算出し、前記差分が所定の閾値以上であるか否かにより異常を検知する、第1の異常検知処理を行い、
前記反復読取データを用いて異常を検知する、第2の異常検知処理を行う、
請求項1に記載の情報処理装置。
【請求項8】
前記受信部は、前記センサユニットが白色基準板を反復して読み取った反復読取データを更に受信し、
前記異常検知部は、
前記読取データ、前記基準データ、及び、前記位置ずれ判定部の判定結果を用いて異常を検知する、第1の異常検知処理を行い、
前記反復読取データを用いて異常を検知する、第2の異常検知処理を行う、
請求項1に記載の情報処理装置。
【請求項9】
画像読取装置のセンサユニットがカラーチャートを読み取った読取データを受信する受信ステップと、
前記カラーチャートに含まれる品質評価パターンの基準データを記憶する記憶ステップと、
前記読取データの読み取り位置のずれを判定する位置ずれ判定ステップと、
前記センサユニットの異常を検知する異常検知ステップと、
を備え、
前記異常検知ステップは、前記位置ずれ判定ステップの判定結果を用いて前記品質評価パターンの同じ位置に対応する前記読取データと前記基準データの差分を算出し、前記差分が所定の閾値以上であるか否かにより異常を検知する、
情報処理方法。
【請求項10】
コンピュータを、
画像読取装置のセンサユニットがカラーチャートを読み取った読取データを受信する受信手段と、
前記カラーチャートに含まれる品質評価パターンの基準データを記憶する記憶手段と、
前記読取データの読み取り位置のずれを判定する位置ずれ判定手段と、
前記センサユニットの異常を検知する異常検知手段と、
として機能させるものであって、
前記異常検知手段は、前記位置ずれ判定手段の判定結果を用いて前記品質評価パターンの同じ位置に対応する前記読取データと前記基準データの差分を算出し、前記差分が所定の閾値以上であるか否かにより異常を検知する、
プログラム。
(【請求項11】以降は省略されています)
発明の詳細な説明
【技術分野】
【0001】
本発明は、情報処理装置、情報処理方法、プログラム、および情報処理システムに関する。
続きを表示(約 2,000 文字)
【背景技術】
【0002】
従来、画像形成装置においては、印刷物の品質を保つため、印刷した所定のカラーチャートを画像読取装置によって読み取って色調整を行っている。例えば、色調整後に印刷したチェック用のカラーパッチを搭載した確認チャートを画像読取装置によって読み取り、画像形成装置の印刷品質が基準を満たしているかを確認する技術が知られている。また、カラーチャート等の画像読取を行う画像読取装置の状態が適切でない場合には、画像形成装置の印刷品質を正しく評価することができないため、画像読取装置によるカラーチャートの読取データと、カラーチャートの光学特性に対応した基準データとを比較して画像読取装置の異常検知を行う技術が知られている。
【0003】
特許文献1には、光学特性測定装置による測定を行って実測データを与えるための試料部と、試料部の種類を識別するための識別データおよび試料部の光学特性に対応した基準データが記憶された記憶媒体と、記憶媒体に記憶されたデータを光学特性測定装置に送るためのインタフェース手段と、が一体的に設けられた構成が開示されている。
【発明の概要】
【発明が解決しようとする課題】
【0004】
しかしながら、従来の技術によれば、試料として用いる品質評価パターンに面内ムラがある場合に、読取データと基準データの位置ずれの影響が考慮されてないため、画像読取装置の異常を適切に検知することができない、という問題がある。例えば、品質評価パターンに縦方向の色ムラがある場合、画像読取装置による読取データの値は縦方向に変化する。同様に、品質評価パターンに対応する基準データも、品質評価パターンの縦方向の色ムラによって基準データの値が縦方向に変化している。そのため、読取データと基準データとを比較する際、読取データと基準データとを比較する位置が縦方向にずれていると、正しく比較することができず、画像読取装置の異常を適切に検知することができない。
【0005】
本発明は、上記に鑑みてなされたものであって、品質評価パターンに面内ムラがある場合でも、読取データと基準データの位置ずれの影響を抑え、画像読取装置の異常を適切に検知することを目的とする。
【課題を解決するための手段】
【0006】
上述した課題を解決し、目的を達成するために、本発明は、画像読取装置のセンサユニットがカラーチャートを読み取った読取データを受信する受信部と、前記カラーチャートに含まれる品質評価パターンの基準データを記憶する記憶部と、前記読取データの読み取り位置のずれを判定する位置ずれ判定部と、前記センサユニットの異常を検知する異常検知部と、を備える。
【発明の効果】
【0007】
本発明によれば、品質評価パターンに面内ムラがある場合でも、読取データと基準データの位置ずれの影響を抑え、画像読取装置の異常を適切に検知することができる、という効果を奏する。
【図面の簡単な説明】
【0008】
図1は、第1の実施の形態に係る情報処理システムの構成を示す図である。
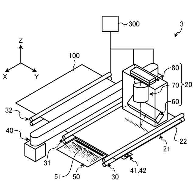
図2は、画像読取装置の構成を示す斜視図である。
図3は、画像読取装置のセンサユニットを例示する断面図である。
図4は、回折像と撮像素子による受光を説明する図である。
図5は、画像読取装置のハードウェア構成の一例を示すブロック図である。
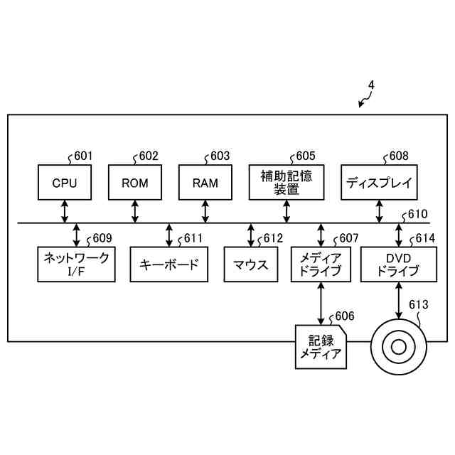
図6は、情報処理装置のハードウェア構成の一例を示すブロック図である。
図7は、カラーチャートに含まれる画像の一例を示す図である。
図8は、センサユニットによって読み取られた品質評価パターンと位置検出パターンの読取データの例を示す図である。
図9は、第1の実施の形態に係る情報処理装置の機能構成を示すブロック図である。
図10は、第1の実施の形態に係るセンサユニットの異常を検知する処理手順の一例を示すフローチャートである。
図11は、第2の実施の形態に係るセンサユニットの異常を検知する処理手順の一例を示すフローチャートである。
図12は、第3の実施の形態に係る情報処理装置の機能構成を示すブロック図である。
【発明を実施するための形態】
【0009】
以下に添付図面を参照して、情報処理装置、情報処理方法、プログラム、および情報処理システムの実施の形態を詳細に説明する。
【0010】
(第1の実施の形態)
図1は、第1の実施の形態にかかる情報処理システム1の構成を示す図である。図1に示すように、情報処理システム1は、ネットワーク5を介して互いに接続された画像読取装置3及び情報処理装置4で構成されている。
(【0011】以降は省略されています)
この特許をJ-PlatPat(特許庁公式サイト)で参照する
関連特許
株式会社リコー
移動体
4日前
株式会社リコー
画像形成装置
9日前
株式会社リコー
感熱記録媒体
10日前
株式会社リコー
生体情報測定装置
10日前
株式会社リコー
画像形成システム
9日前
株式会社リコー
液体を吐出する装置
10日前
株式会社リコー
電極及びその製造方法
11日前
株式会社リコー
印刷装置および印刷システム
9日前
株式会社リコー
液体吐出装置及び液体吐出方法
9日前
株式会社リコー
システム、方法およびプログラム
9日前
株式会社リコー
ベルト装置、及び、画像形成装置
9日前
株式会社リコー
パーソナライズビデオメカニズム
11日前
株式会社リコー
液体吐出ヘッドおよび液体吐出装置
10日前
株式会社リコー
媒体処理装置及び画像形成システム
10日前
株式会社リコー
媒体処理装置及び画像形成システム
9日前
株式会社リコー
媒体処理装置及び画像形成システム
9日前
株式会社リコー
媒体処理装置及び画像形成システム
9日前
株式会社リコー
mRNA発現量の免疫学的評価方法
10日前
株式会社リコー
媒体処理装置及び画像形成システム
11日前
株式会社リコー
媒体処理装置及び画像形成システム
9日前
株式会社リコー
情報処理システム、及び情報処理方法
11日前
株式会社リコー
処理剤液塗布装置および画像形成装置
9日前
株式会社リコー
シート給紙装置、および画像形成装置
9日前
株式会社リコー
原稿処理装置、及び原稿処理システム
10日前
株式会社リコー
液滴形成装置及びゲル粒子の製造方法
11日前
株式会社リコー
液体吐出ヘッド及び液体を吐出する装置
10日前
株式会社リコー
画像形成装置及び転写残トナーの回収方法
10日前
株式会社リコー
画像形成装置及び転写残トナーの回収方法
10日前
株式会社リコー
ノード、データ共有方法、及びプログラム
2日前
株式会社リコー
投受光装置、測距システムおよびプログラム
10日前
株式会社リコー
画像形成装置、制御方法、およびプログラム
11日前
株式会社リコー
画像形成装置、情報処理方法およびプログラム
9日前
株式会社リコー
ファクシミリ装置、受信方法、及びプログラム
11日前
株式会社リコー
面発光レーザ、レーザ装置、検出装置及び移動体
9日前
株式会社リコー
用紙処理装置、用紙処理方法、およびプログラム
9日前
株式会社リコー
表示装置、表示方法、プログラム、表示システム
3日前
続きを見る
他の特許を見る