TOP
|
特許
|
意匠
|
商標
特許ウォッチ
Twitter
他の特許を見る
10個以上の画像は省略されています。
公開番号
2025161574
公報種別
公開特許公報(A)
公開日
2025-10-24
出願番号
2024064878
出願日
2024-04-12
発明の名称
モノクロ用光走査装置及びモノクロ画像形成装置
出願人
株式会社リコー
代理人
個人
主分類
G02B
26/10 20060101AFI20251017BHJP(光学)
要約
【課題】転用されたモノクロ用光走査装置において、所望の光学特性を得ることができるモノクロ用光走査装置、モノクロ用画像形成装置を提供する。
【解決手段】モノクロ画像形成装置に搭載されるモノクロ用光走査装置は、偏向器たるポリゴンミラー5aにより偏向走査された光源2Kからの光を、感光体上に導き結像させる光学素子たる走査レンズ6Kを備えている。この走査レンズ6Kが載置される土台部9は、走査レンズ6Kと同形状であり、走査レンズ6Kの材料と同一あるいは同種の材料からなる。
【選択図】図7
特許請求の範囲
【請求項1】
偏向器により偏向走査された光源からの光を、感光体上に導き結像させる光学素子を備え、モノクロ画像形成装置に搭載されるモノクロ用光走査装置において、
前記光学素子が載置される土台部は、前記光学素子と同形状であり、前記光学素子の材料と同一あるいは同種の材料からなることを特徴とするモノクロ用光走査装置。
続きを表示(約 580 文字)
【請求項2】
請求項1に記載のモノクロ用光走査装置において、
前記土台部は、光学特性が規格外の光学素子であることを特徴とするモノクロ用光走査装置。
【請求項3】
請求項1に記載のモノクロ用光走査装置において、
前記土台部は、複数の感光体に対して光走査を行うカラー用光走査装置で使用された光学素子であることを特徴とするモノクロ用光走査装置。
【請求項4】
請求項1に記載のモノクロ用光走査装置において、
前記光源、前記偏向器および前記光学素子が収納される筐体として、複数の感光体に対して光走査を行うカラー用光走査装置の筐体を用いたことを特徴とするモノクロ用光走査装置。
【請求項5】
請求項1に記載のモノクロ用光走査装置において、
前記土台部には、土台用であることを識別するマーキングが施されていることを特徴とするモノクロ用光走査装置。
【請求項6】
感光体の表面に光走査手段を用いて光を照射することにより前記感光体の表面に潜像を形成し、前記潜像を現像することで得た画像を最終的に記録材上に転移させることでモノクロ画像を形成するモノクロ画像形成装置において、
前記光走査手段として、請求項1のモノクロ用光走査装置を用いることを特徴とするモノクロ画像形成装置。
発明の詳細な説明
【技術分野】
【0001】
本発明は、モノクロ用光走査装置及びモノクロ画像形成装置に関するものである。
続きを表示(約 1,800 文字)
【背景技術】
【0002】
従来、偏向器により偏向走査された光源からの光を、感光体上に導き結像させる光学素子を備え、モノクロ画像形成装置に搭載されるモノクロ用光走査装置が知られている。
【0003】
特許文献1には、上記光走査装置として、光学素子たる走査レンズを上下に積み重ねて配置した2色用光走査装置が記載されている。かかる2色用光走査装置は、下段に赤色用の走査レンズ、上段に黒用の走査レンズが配置され、上段の黒用の走査レンズは、赤色用の走査レンズに載置されている。2色用光走査装置からモノクロ用光走査装置へ転用するときは、黒色用の走査レンズを載置する部材を、下段の赤色用の走査レンズから土台部たるスペーサへ変更する。
【発明の概要】
【発明が解決しようとする課題】
【0004】
しかしながら、転用されたモノクロ用光走査装置において、所望の光学特性が得られないおそれがある。
【課題を解決するための手段】
【0005】
上述した課題を解決するために、本発明は、偏向器により偏向走査された光源からの光を、感光体上に導き結像させる光学素子を備え、モノクロ画像形成装置に搭載されるモノクロ用光走査装置において、前記光学素子が載置される土台部は、前記光学素子と同形状であり、前記光学素子の材料と同一あるいは同種の材料からなることを特徴とするものである。
【発明の効果】
【0006】
本発明によれば、転用されたモノクロ用光走査装置において、所望の光学特性を得ることができる。
【図面の簡単な説明】
【0007】
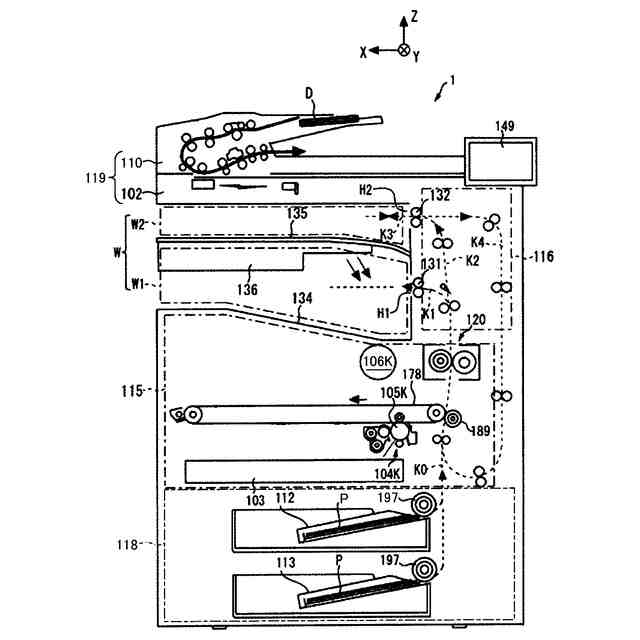
本実施形態のモノクロ画像形成装置の概略構成図。
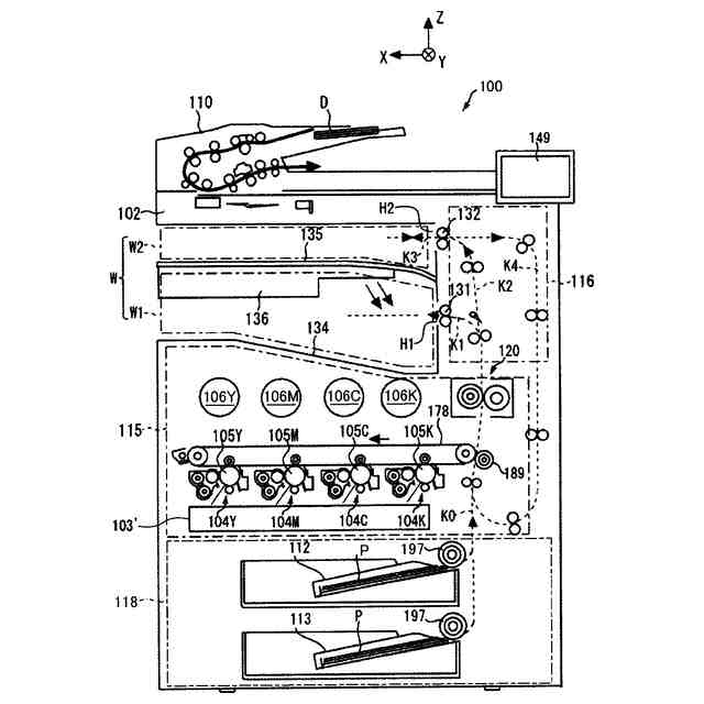
本実施形態のモノクロ画像形成装置へ転写可能なカラー画像形成装置の概略構成図。
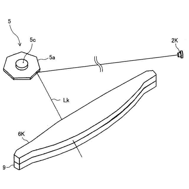
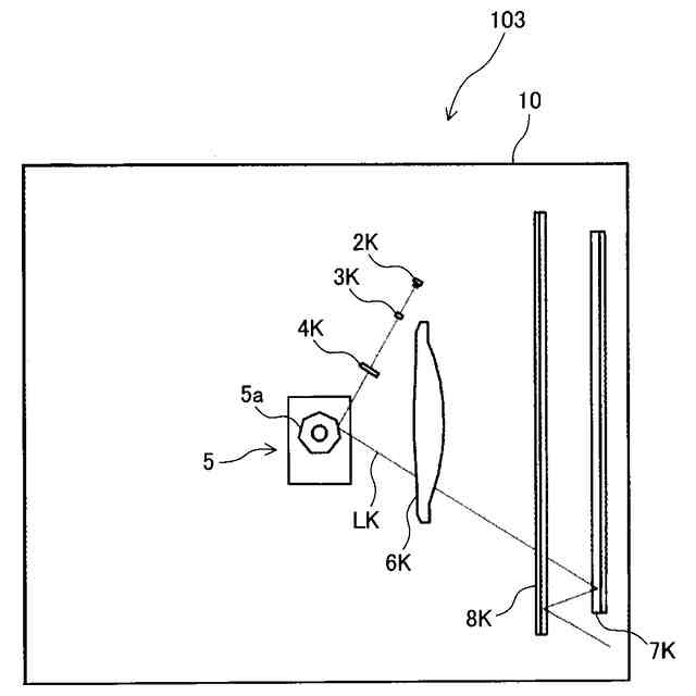
本実施形態のモノクロ画像形成装置に搭載されるモノクロ用光走査装置の概略模式図。
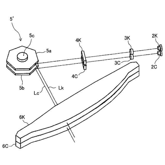
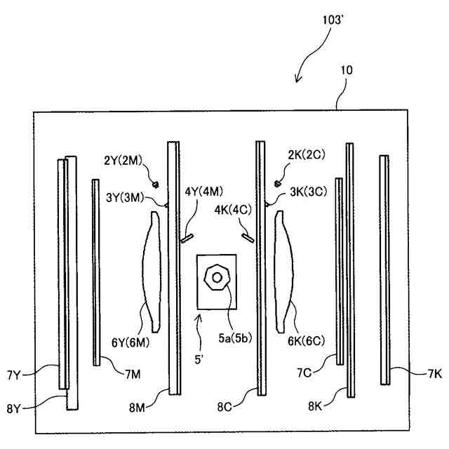
本実施形態のモノクロ用光走査装置へ転用可能なカラー用光走査装置の概略模式図。
図4に示したカラー用光走査装置の走査レンズの周辺を示す斜視図。
走査レンズを保持する保持機構の概略図。
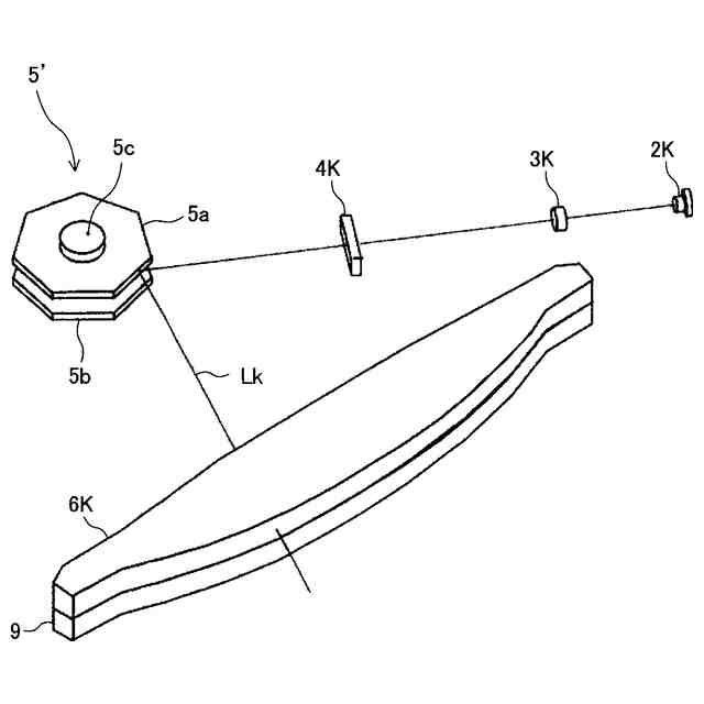
本実施形態のモノクロ用光走査装置の走査レンズ周辺の概略斜視図。
土台部として用いる規格外の走査レンズに識別マークを施す一例を示す斜視図。
カラー用の光走査装置のC色の走査レンズをモノクロ用光走査装置において土台部として用いる一例を示す斜視図。
【発明を実施するための形態】
【0008】
以下に、本発明を実施するための最良の形態を図面に基づいて説明する。なお、いわゆる当業者は特許請求の範囲内における本発明を変更・修正をして他の実施形態をなすことは容易であり、これらの変更・修正はこの特許請求の範囲に含まれるものである。以下の説明はこの発明における最良の形態の例であって、この特許請求の範囲を限定するものではない。
【0009】
図1は、本実施形態のモノクロ画像形成装置の概略構成図である。
図1に示すモノクロ画像形成装置1は、図2に示すカラー画像形成装置100から転用されたものである。カラーの作像ユニット104Y,104M,104Cおよびカラーのトナーボトル106Y、106M、106Cを未搭載とし、カラー画像形成装置100をモノクロ画像形成装置1として転用する。本モノクロ画像形成装置1は、カラー画像形成装置100とで構成部品、システムおよび機能を共通化し、新規投入資源を削減し、装置のコストダウンを図ったものである。さらに、本実施形態のモノクロ画像形成装置は、モノクロ画像形成装置からカラー画像形成装置、カラー画像形成装置からモノクロ画像形成装置へのリサイクル性を高めることができる。
【0010】
図1に示すモノクロ画像形成装置は、画像形成部115、給紙部118、画像形成対象である原稿の画像を読み取る画像読取装置119などを備えている。画像読取装置119は、画像形成部115の上方に配置されており、原稿搬送部110と、スキャナ部102とを備えている。給紙部118は、画像形成部115の下方に配置されており、シートPを収容する2つの給送トレイ112、113を備えている。
(【0011】以降は省略されています)
この特許をJ-PlatPat(特許庁公式サイト)で参照する
関連特許
株式会社リコー
移動体
19日前
株式会社リコー
画像形成装置
今日
株式会社リコー
画像形成装置
5日前
株式会社リコー
機器及び異常判定方法
5日前
株式会社リコー
画像形成装置及びシステム
3日前
株式会社リコー
延長トレイ及び画像形成装置
今日
株式会社リコー
定着装置、及び画像形成装置
5日前
株式会社リコー
表示装置、切替方法、プログラム
10日前
株式会社リコー
媒体処理装置及び画像形成システム
今日
株式会社リコー
通信装置、通信方法、及びプログラム
3日前
株式会社リコー
通信端末、通信方法、及びプログラム
3日前
株式会社リコー
読取装置、読取方法およびプログラム
今日
株式会社リコー
シート給送装置及び画像形成システム
6日前
株式会社リコー
加熱装置、定着装置及び画像形成装置
4日前
株式会社リコー
光源装置、画像投影装置および調整方法
10日前
株式会社リコー
通信装置、状態制御方法、及びプログラム
6日前
株式会社リコー
ノード、データ共有方法、及びプログラム
17日前
株式会社リコー
画像形成装置、情報処理方法及びプログラム
3日前
株式会社リコー
画像形成装置、及び、プロセスカートリッジ
10日前
株式会社リコー
画像形成装置、情報処理方法およびプログラム
4日前
株式会社リコー
画像読取装置、画像判定方法およびプログラム
3日前
株式会社リコー
モノクロ用光走査装置及びモノクロ画像形成装置
3日前
株式会社リコー
表示装置、表示方法、プログラム、表示システム
18日前
株式会社リコー
対話装置、対話システム、対話方法及びプログラム
17日前
株式会社リコー
電気機器、画像形成装置、制御方法、及びプログラム
13日前
株式会社リコー
情報処理装置、情報処理システムおよび情報処理方法
17日前
株式会社リコー
情報処理システム、情報処理装置および情報処理方法
17日前
株式会社リコー
障害物検出システム、移動体、プログラムおよび障害物検出方法
24日前
株式会社リコー
情報処理装置、情報処理システム、情報処理方法及びプログラム
19日前
株式会社リコー
情報処理装置、情報処理システム、情報処理方法及びプログラム
17日前
株式会社リコー
検索システム、プログラム、検索方法、および顧客選定システム
24日前
株式会社リコー
液体吐出ヘッド、液体吐出装置、および液体吐出ヘッドの製造方法
24日前
株式会社リコー
情報処理装置、画面作成方法、プログラム、及び情報処理システム
13日前
株式会社リコー
情報処理装置、画面作成方法、プログラム、及び情報処理システム
4日前
株式会社リコー
手書き入力装置、手書き入力システム、手書き入力方法、プログラム
17日前
株式会社リコー
情報処理装置、情報処理方法、プログラム、および情報処理システム
17日前
続きを見る
他の特許を見る