TOP
|
特許
|
意匠
|
商標
特許ウォッチ
Twitter
他の特許を見る
10個以上の画像は省略されています。
公開番号
2025154155
公報種別
公開特許公報(A)
公開日
2025-10-10
出願番号
2024057011
出願日
2024-03-29
発明の名称
情報処理システム、情報処理装置および情報処理方法
出願人
株式会社リコー
代理人
弁理士法人酒井国際特許事務所
主分類
B66F
9/24 20060101AFI20251002BHJP(巻上装置;揚重装置;牽引装置)
要約
【課題】移動体のバックレストの上昇および下降移動方向の延長線上でない箇所にカメラを取り付けることによって、バックレストに設置されたマーカを確実に撮像し、撮像したマーカの位置から移動体により移動される物体の高さを推定する。
【解決手段】物体を保持し、前記物体の上昇および下降移動が可能な保持部と、前記保持部に設置されたマーカと、を備える移動体と、前記物体の上昇および下降移動方向に対して同一線上でない箇所であって前記移動体に取り付けられ、前記移動体の周囲を撮像する少なくとも一つの撮像装置と、前記撮像装置により撮像された前記マーカの画像から前記マーカの位置を検出することにより、前記物体の高さを推定する推定部と、を備える。
【選択図】図3
特許請求の範囲
【請求項1】
物体を保持し、前記物体の上昇および下降移動が可能な保持部と、前記保持部に設置されたマーカと、を備える移動体と、
前記物体の上昇および下降移動方向に対して同一線上でない箇所であって前記移動体に取り付けられ、前記移動体の周囲を撮像する少なくとも一つの撮像装置と、
前記撮像装置により撮像された前記マーカの画像から前記マーカの位置を検出することにより、前記物体の高さを推定する推定部と、
を備えることを特徴とする情報処理システム。
続きを表示(約 1,400 文字)
【請求項2】
前記推定部は、全天球または全天球に近い広視野を有する一つの撮像装置で撮像された前記マーカの画像から前記マーカの位置を検出する、
ことを特徴とする請求項1に記載の情報処理システム。
【請求項3】
前記推定部は、
上向きの180度または180度に近い方位を視野角として撮像可能な一つの撮像装置で撮像された前記マーカの画像から前記マーカの位置を検出して、一定の高さ以上における前記物体の高さを推定し、
下向きの180度または180度に近い方位を視野角として撮像可能な他の撮像装置で撮像された前記マーカの画像から前記マーカの位置を検出して、地面から一定の高さまでの前記物体の高さを推定する、
ことを特徴とする請求項1に記載の情報処理システム。
【請求項4】
前記推定部は、前記移動体の運転席の屋根に取り付けられた全天球または全天球に近い広視野を有する一つの撮像装置で撮像された前記マーカの画像から前記マーカの位置を検出する、
ことを特徴とする請求項1に記載の情報処理システム。
【請求項5】
前記推定部は、前記少なくとも一つの撮像装置で撮像された画像に基づき、前記保持部のリーチ量を推定する、
ことを特徴とする請求項1に記載の情報処理システム。
【請求項6】
前記推定部は、前記保持部に設置された前記少なくとも一つの撮像装置で撮像された画像に基づき、前記保持部のリーチ量を推定する、
ことを特徴とする請求項1に記載の情報処理システム。
【請求項7】
前記推定部は、前記保持部に設置された円筒形状の前記マーカの画像から前記マーカの位置を検出することにより、前記物体の高さを推定する、
ことを特徴とする請求項1に記載の情報処理システム。
【請求項8】
前記移動体における前記物体の着脱状態を管理する管理部を更に備える、
ことを特徴とする請求項1に記載の情報処理システム。
【請求項9】
物体を保持し、前記物体の上昇および下降移動が可能な保持部と、前記保持部に設置されたマーカと、を備える移動体により移動される前記物体の位置情報を処理する情報処理装置において、
前記物体の上昇および下降移動方向に対して同一線上でない箇所であって前記移動体に取り付けられた少なくとも一つの撮像装置で撮像した画像であって、前記保持部に設置されたマーカの画像から前記マーカの位置を検出することにより、前記物体の高さを推定する推定部を備える、
ことを特徴とする情報処理装置。
【請求項10】
物体を保持し、前記物体の上昇および下降移動が可能な保持部と、前記保持部に設置されたマーカと、を備える移動体により移動される前記物体の位置情報を処理する情報処理装置による情報処理方法であって、
前記物体の上昇および下降移動方向に対して同一線上でない箇所であって前記移動体に取り付けられた少なくとも一つの撮像装置で撮像した画像であって、前記保持部に設置されたマーカの画像から前記マーカの位置を検出することにより、前記物体の高さを推定する推定ステップを含む、
ことを特徴とする情報処理方法。
発明の詳細な説明
【技術分野】
【0001】
本発明は、情報処理システム、情報処理装置および情報処理方法に関する。
続きを表示(約 2,000 文字)
【背景技術】
【0002】
従来、倉庫や工場などの主に屋内で走行するフォークリフト等の移動体に取り付けたカメラにより撮像された画像に基づいて移動体の位置情報を推定し、さらに移動体により移動される物体(貨物またはパレット)の搬送状態(保持/非保持)の認識を行うことで、物体の位置情報を取得する技術が既に知られている。
【0003】
特許文献1には、物体を移動させる移動体において、物体を移動させるためのフォークを備えたバックレストの上昇および下降移動方向の延長線上、かつ、バックレストの下に取り付けたカメラによって、真上のバックレストに設置されたマーカを撮像して、フォークリフトにより移動される物体の高さを検出する技術が開示されている。
【発明の概要】
【発明が解決しようとする課題】
【0004】
しかしながら、特許文献1の従来技術では、移動体の車体の形状によっては、バックレストの上昇および下降移動方向の延長線上に取り付けたカメラからバックレストのマーカを撮像できない、という問題がある。そのため、バックレストに設置されたマーカの位置を検出することができず、移動体により移動される物体の高さを推定することができない可能性がある。
【0005】
本発明は、上記に鑑みてなされたものであって、移動体のバックレストの上昇および下降移動方向の延長線上でない箇所にカメラを取り付けることによって、バックレストに設置されたマーカを確実に撮像し、撮像したマーカの位置から移動体により移動される物体の高さを推定することができる情報処理システム、情報処理装置および情報処理方法の提供を目的とする。
【課題を解決するための手段】
【0006】
上述した課題を解決し、目的を達成するために、本発明は、物体を保持し、前記物体の上昇および下降移動が可能な保持部と、前記保持部に設置されたマーカと、を備える移動体と、前記物体の上昇および下降移動方向に対して同一線上でない箇所であって前記移動体に取り付けられ、前記移動体の周囲を撮像する少なくとも一つの撮像装置と、前記撮像装置により撮像された前記マーカの画像から前記マーカの位置を検出することにより、前記物体の高さを推定する推定部と、を備える、ことを特徴とする。
【発明の効果】
【0007】
本発明によれば、移動体のバックレストの上昇および下降移動方向の延長線上でない箇所にカメラを取り付けることによって、バックレストに設置されたマーカを確実に撮像し、撮像したマーカの位置から移動体により移動される物体の高さを推定することができる、という効果を奏する。
【図面の簡単な説明】
【0008】
図1は、倉庫内における物体の位置情報の一例を説明する図である。
図2は、第1の実施の形態に係る情報処理システムの全体構成の一例を示す図である。
図3は、フォークリフトの全天球カメラとマーカとの関係を示す図である。
図4は、マーカの構成および設置態様を示す図である。
図5は、オンプレミスサーバのハードウェア構成の一例を示すブロック図である。
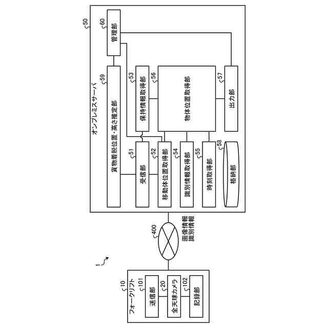
図6は、情報処理システムの機能構成の一例を示すブロック図である。
図7は、貨物着脱位置・高さ推定部による貨物着脱位置・高さ推定処理の一例を示すフローチャートである。
図8は、管理部によるアタッチ時の処理の流れを示すフローチャートである。
図9は、管理部によるデタッチ時の処理の流れを示すフローチャートである。
図10は、第2の実施の形態にかかるフォークリフトの構成を示す図である。
図11は、2つのカメラの切り替え処理の流れを示すフローチャートである。
図12は、第3の実施の形態にかかるフォークリフトの構成を示す図である。
図13は、第3の実施の形態にかかるフォークリフトの構成の変形例1を示す図である。
図14は、第3の実施の形態にかかるフォークリフトの構成の変形例2を示す図である。
【発明を実施するための形態】
【0009】
以下に添付図面を参照して、情報処理システム、情報処理装置および情報処理方法の実施の形態を詳細に説明する。
【0010】
(第1の実施の形態)
第1の実施の形態に係る情報処理装置は、移動体により移動される物体の位置情報を処理するものである。例えば、移動体はカウンター型のフォークリフトであり、物体はパレットを含む。実施形態に係る情報処理装置は、フォークリフトにより移動されるパレット等の物体の位置情報を処理して、物体の移動を認識し、また追跡する。
(【0011】以降は省略されています)
この特許をJ-PlatPat(特許庁公式サイト)で参照する
関連特許
株式会社リコー
移動体
5日前
株式会社リコー
印刷システム
14日前
株式会社リコー
画像形成装置
10日前
株式会社リコー
画像形成装置
14日前
株式会社リコー
感熱記録媒体
11日前
株式会社リコー
画像形成システム
10日前
株式会社リコー
生体情報測定装置
11日前
株式会社リコー
液体を吐出する装置
11日前
株式会社リコー
電極及びその製造方法
12日前
株式会社リコー
電極及びその製造方法
14日前
株式会社リコー
多孔質構造体の製造方法
14日前
株式会社リコー
液体塗布装置および洗浄方法
14日前
株式会社リコー
ファイル分析・保存システム
14日前
株式会社リコー
塗装システム、及び塗装方法
14日前
株式会社リコー
印刷装置および印刷システム
10日前
株式会社リコー
定着装置、及び、画像形成装置
14日前
株式会社リコー
定着装置、及び、画像形成装置
14日前
株式会社リコー
液体吐出装置及び液体吐出方法
10日前
株式会社リコー
パーソナライズビデオメカニズム
12日前
株式会社リコー
レーザ照射装置、レーザ照射方法
14日前
株式会社リコー
ベルト装置、及び、画像形成装置
10日前
株式会社リコー
液体吐出装置、及び液体吐出方法
14日前
株式会社リコー
システム、方法およびプログラム
10日前
株式会社リコー
媒体処理装置及び画像形成システム
10日前
株式会社リコー
媒体処理装置及び画像形成システム
10日前
株式会社リコー
媒体処理装置及び画像形成システム
10日前
株式会社リコー
液体吐出ヘッドおよび液体吐出装置
11日前
株式会社リコー
媒体処理装置及び画像形成システム
11日前
株式会社リコー
媒体処理装置及び画像形成システム
10日前
株式会社リコー
mRNA発現量の免疫学的評価方法
11日前
株式会社リコー
媒体処理装置及び画像形成システム
12日前
株式会社リコー
処理剤液塗布装置および画像形成装置
10日前
株式会社リコー
情報処理システム、及び情報処理方法
12日前
株式会社リコー
液滴形成装置及びゲル粒子の製造方法
12日前
株式会社リコー
表示装置、表示方法およびプログラム
14日前
株式会社リコー
原稿処理装置、及び原稿処理システム
11日前
続きを見る
他の特許を見る