TOP
|
特許
|
意匠
|
商標
特許ウォッチ
Twitter
他の特許を見る
10個以上の画像は省略されています。
公開番号
2025156454
公報種別
公開特許公報(A)
公開日
2025-10-14
出願番号
2025128082,2024114805
出願日
2025-07-31,2019-06-28
発明の名称
電子機器、情報処理システム、情報処理方法およびプログラム
出願人
株式会社リコー
代理人
弁理士法人酒井国際特許事務所
主分類
H04N
1/00 20060101AFI20251002BHJP(電気通信技術)
要約
【課題】電子機器のファームウェアのアップデートを柔軟に行わせることができる電子機器、情報処理システムおよび情報処理方法を提供する。
【解決手段】本発明の電子機器は、操作を受け付ける入力部と、少なくとも前記ソフトウェアのうち有効化する対象のソフトウェアを表示部に表示させる表示制御部と、前記ソフトウェアをダウンロードして、前記電子機器にインストールされているソフトウェアを更新する更新部と、前記更新部により更新されたソフトウェアの機能を有効化する有効化部と、を備え、前記有効化部は、前記表示制御部によって有効化する対象として表示されるソフトウェアについて、前記入力部を介した指定操作に応じて、該指定操作がなされた該ソフトウェアの機能を有効化し、前記表示制御部によって有効化する対象として表示されないソフトウェアについて、該ソフトウェアの更新の後に、自動的に該ソフトウェアの機能を有効化する。
【選択図】図5
特許請求の範囲
【請求項1】
ソフトウェアをネットワーク経由で取得可能な電子機器であって、
少なくとも前記ソフトウェアのうち有効化する対象のソフトウェアに対応する識別情報を表示部に表示させる表示制御部と、
有効化する対象のソフトウェアとして前記表示制御部によって識別情報が表示されるソフトウェアについて、指定操作に応じて、該指定操作がなされた該ソフトウェアの機能を有効化し、
有効化する対象のソフトウェアとして前記表示制御部によって識別情報が表示されないソフトウェアについて、該ソフトウェアのダウンロードの後に、自動的に該ソフトウェアの機能を有効化する有効化部と、
を備える電子機器。
続きを表示(約 1,000 文字)
【請求項2】
前記有効化部は、前記表示制御部によって有効化する対象として表示されるソフトウェアについて、指定操作に応じて、該指定操作がなされた該ソフトウェアのダウンロードおよび機能を有効化する、請求項1に記載の電子機器。
【請求項3】
前記有効化部は、前記電子機器にダウンロードされた前記ソフトウェアのうち、前記表示制御部によって有効化する対象として表示されるソフトウェアについて、指定操作に応じて、該指定操作がなされた該ソフトウェアの機能を有効化する、請求項1に記載の電子機器。
【請求項4】
前記表示制御部は、有効化する対象のソフトウェアの識別情報と、有効化されたソフトウェアの識別情報とを含む一覧画面を前記表示部に表示させる、請求項1に記載の電子機器。
【請求項5】
前記識別情報は、ソフトウェアの名称、該ソフトウェアのバージョン、および該ソフトウェアが有する機能に関する情報のうち少なくともいずれか含む、請求項1に記載の電子機器。
【請求項6】
前記ソフトウェアをダウンロードして、前記電子機器にインストールされているソフトウェアを更新する更新部をさらに備え、
前記有効化部は、前記更新されたソフトウェアの機能を有効化する、請求項1に記載の電子機器。
【請求項7】
前記有効化部は、更新されたソフトウェアのうち、有効化する対象のソフトウェアとして前記表示制御部によって識別情報が表示されないソフトウェアについて、該ソフトウェアの更新の後に自動的に該ソフトウェアの機能を有効化する、請求項6に記載の電子機器。
【請求項8】
前記表示制御部は、
前記ソフトウェアのうち、所定条件を満たすソフトウェアを有効化する対象のソフトウェアとして識別情報を前記表示部に表示させ、
前記ソフトウェアのうち、所定条件を満たさないソフトウェアを有効化する対象のソフトウェアとして識別情報を前記表示部に表示させない、請求項1に記載の電子機器。
【請求項9】
前記所定条件は、前記ソフトウェアのバージョン情報が所定の値であることである、請求項8に記載の電子機器。
【請求項10】
前記ソフトウェアは、ファームウェアである請求項1~9のいずれか一項に記載の電子機器。
(【請求項11】以降は省略されています)
発明の詳細な説明
【技術分野】
【0001】
本発明は、電子機器、情報処理システム、情報処理方法およびプログラムに関する。
続きを表示(約 2,800 文字)
【背景技術】
【0002】
従来、電子機器の一例である複合機(MFP:Multifunction Peripheral)において、アプリケーションおよびファームウェアを自動更新する技術が知られている。このような、ファームウェア等を自動更新する技術として、ファームウェアを指定のタイミングで遠隔からダウンロードして更新する技術が開示されている(例えば特許文献1)。
【発明の概要】
【発明が解決しようとする課題】
【0003】
しかしながら、画像形成装置等の電子機器でのファームウェア等のプリインストールソフトウェアのアップデートは、ユーザにとって、アップデートを行う作業手順が煩雑で難しいという問題があった。例えば、どの画面からいつどのようにファームウェアのアップデート作業を行うのかユーザには分かりづらく、柔軟に行えないという問題があった。
【0004】
また、ファームウェア等のアップデートにおいて追加される機能にはいろいろな機能があるが、新機能の追加についてユーザ自身が柔軟に選択ができないという問題もあった。
【0005】
本発明は、上記に鑑みてなされたものであり、電子機器のファームウェアのアップデートを柔軟に行わせることができる電子機器、情報処理システム、情報処理方法およびプログラムを提供することを目的とする。
【課題を解決するための手段】
【0006】
上述した課題を解決し、目的を達成するために、本発明は、ソフトウェアをネットワーク経由で取得可能な電子機器であって、少なくとも前記ソフトウェアのうち有効化する対象のソフトウェアに対応する識別情報を表示部に表示させる表示制御部と、有効化する対象のソフトウェアとして前記表示制御部によって識別情報が表示されるソフトウェアについて、指定操作に応じて、該指定操作がなされた該ソフトウェアの機能を有効化し、有効化する対象のソフトウェアとして前記表示制御部によって識別情報が表示されないソフトウェアについて、該ソフトウェアのダウンロードの後に、自動的に該ソフトウェアの機能を有効化する有効化部と、を備えることを特徴とする。
【発明の効果】
【0007】
本発明によれば、電子機器のファームウェアのアップデートを柔軟に行わせることができることができる。
【図面の簡単な説明】
【0008】
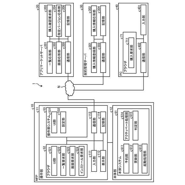
図1は、実施形態に係る情報処理システムの全体構成の一例を示す図である。
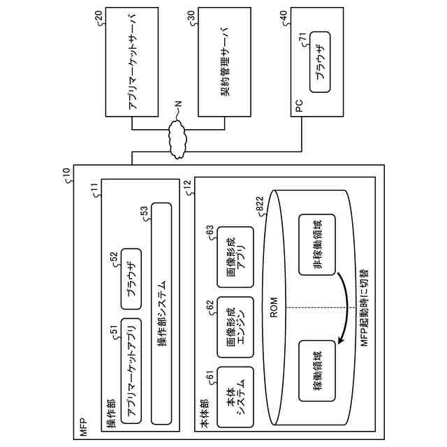
図2は、実施形態に係るMFPのハードウェア構成の一例を示す図である。
図3は、実施形態に係るアプリマーケットサーバのハードウェア構成の一例を示す図である。
図4は、実施形態に係る情報処理システムのソフトウェア構成の一例を示す図である。
図5は、実施形態に係る情報処理システムの機能ブロックの構成の一例を示す図である。
図6は、画面遷移の一例を示す図である。
図7は、画面遷移の一例を示す図である。
図8は、ホーム画面の一例を示す図である。
図9は、アプリケーションサイトのインストール対象となるアプリケーションおよびファームウェアの一例を示す一覧画面の一例を示す図である。
図10は、各機能バージョンがサポートする機能の一例を示す図である。
図11は、最大機能バージョンと現在の機能バージョンとの関係を示す図である。
図12は、無償のファームウェアをインストールするためのインストール画面の一例を示す図である。
図13は、有償のファームウェアをインストールするためのインストール画面の一例を示す図である。
図14は、インストール済みのファームウェアのインストール画面の一例を示す図である。
図15は、現在の機能バージョンを上げる場合の動作を説明する図である。
図16は、有償の機能バージョンを利用する場合を説明する図である。
図17は、自動更新設定画面の一例を示す図である。
図18は、自動アクティベート設定画面の一例を示す図である。
図19は、ファームウェアを購入する動作の一例を示すシーケンス図である。
図20は、インストールを実行する場合の動作の一例を示すシーケンス図である。
図21は、自動更新設定および自動アクティベート設定がされていない場合のインストールの実行動作の一例を示すシーケンス図である。
図22は、自動更新設定がされていて、自動アクティベート設定がされていない場合のインストールの実行動作の一例を示すシーケンス図である。
図23は、自動アクティベート設定がされている場合の動作の一例を示すシーケンス図である。
【発明を実施するための形態】
【0009】
以下、添付図面を参照しながら、本発明に係る電子機器、情報処理システムおよび情報処理方法を詳細に説明する。また、以下の実施形態によって本発明が限定されるものではなく、以下の実施形態における構成要素には、当業者が容易に想到できるもの、実質的に同一のもの、およびいわゆる均等の範囲のものが含まれる。さらに、以下の実施形態の要旨を逸脱しない範囲で構成要素の種々の省略、置換、変更および組み合わせを行うことができる。
【0010】
また、コンピュータソフトウェアとは、コンピュータの動作に関するプログラム、その他コンピュータによる処理の用に供する情報であってプログラムに準ずるものをいう(以下、コンピュータソフトウェアは、ソフトウェアという)。アプリケーションソフトとは、ソフトウェアの分類のうち、特定の作業を行うために使用されるソフトウェアの総称である。一方、オペレーティングシステム(OS)とは、コンピュータを制御し、アプリケーションソフト等がコンピュータ資源を利用可能にするためのソフトウェアのことである。オペレーティングシステムは、入出力の制御、メモリやハードディスクなどのハードウェアの管理、プロセスの管理といった、コンピュータの基本的な管理・制御を行っている。アプリケーションソフトウェアは、オペレーティングシステムが提供する機能を利用して動作する。プログラムとは、コンピュータに対する指令であって、一の結果を得ることができるように組み合わせたものをいう。また、プログラムに準ずるものとは、コンピュータに対する直接の指令ではないためプログラムとは呼べないが、コンピュータの処理を規定するという点でプログラムに類似する性質を有するものをいう。例えば、データ構造(データ要素間の相互関係で表される、データの有する論理的構造)がプログラムに準ずるものに該当する。
(【0011】以降は省略されています)
この特許をJ-PlatPat(特許庁公式サイト)で参照する
関連特許
株式会社リコー
情報処理装置、プログラム、Webアプリケーション管理方法及び情報処理システム
1日前
個人
監視カメラシステム
3日前
個人
店内配信予約システム
3か月前
キーコム株式会社
光伝送線路
4日前
個人
スキャン式車載用撮像装置
3日前
WHISMR合同会社
収音装置
1か月前
サクサ株式会社
中継装置
9日前
サクサ株式会社
中継装置
10日前
アイホン株式会社
電気機器
1か月前
キヤノン株式会社
電子機器
3か月前
キヤノン株式会社
撮像装置
1か月前
サクサ株式会社
無線システム
8日前
キヤノン電子株式会社
画像読取装置
2日前
キヤノン電子株式会社
画像読取装置
1か月前
株式会社リコー
画像形成装置
2か月前
株式会社リコー
画像形成装置
1か月前
個人
ワイヤレスイヤホン対応耳掛け
29日前
サクサ株式会社
無線通信装置
9日前
サクサ株式会社
無線通信装置
9日前
株式会社リコー
画像形成装置
1か月前
個人
発信機及び発信方法
8日前
日本電気株式会社
海底分岐装置
4日前
ブラザー工業株式会社
読取装置
2か月前
キヤノン株式会社
撮像システム
1か月前
株式会社ニコン
撮像装置
2か月前
キヤノン電子株式会社
画像処理システム
2日前
沖電気工業株式会社
画像形成装置
11日前
株式会社小糸製作所
画像照射装置
1か月前
国立大学法人電気通信大学
小型光学装置
1か月前
株式会社NTTドコモ
端末
3日前
株式会社NTTドコモ
端末
3日前
株式会社NTTドコモ
端末
3日前
大日本印刷株式会社
写真撮影装置
1か月前
株式会社NTTドコモ
端末
4日前
沖電気工業株式会社
画像形成装置
19日前
シャープ株式会社
端末装置
1日前
続きを見る
他の特許を見る