TOP
|
特許
|
意匠
|
商標
特許ウォッチ
Twitter
他の特許を見る
10個以上の画像は省略されています。
公開番号
2025160988
公報種別
公開特許公報(A)
公開日
2025-10-24
出願番号
2024063787
出願日
2024-04-11
発明の名称
通信端末、通信方法、及びプログラム
出願人
株式会社リコー
代理人
個人
,
個人
主分類
H04L
41/06 20220101AFI20251017BHJP(電気通信技術)
要約
【課題】ネットワークに接続されるエッジ端末である通信端末において、本来、エッジ端末が受信するはずのないパケットを受信したことを検知し、ネットワーク環境の改善を促すことを可能にする。
【解決手段】通信端末は、ネットワークに接続される通信端末であって、前記ネットワークから受信したパケットが、中継装置間で送受信されるパケットであるかを判定する判定部と、前記ネットワークから受信したパケットが前記中継装置間で送受信されるパケットである場合、前記中継装置間で送受信されるパケットを受信したことを通知する通知部と、を有する。
【選択図】図3
特許請求の範囲
【請求項1】
ネットワークに接続される通信端末であって、
前記ネットワークから受信したパケットが、中継装置間で送受信されるパケットであるかを判定する判定部と、
前記ネットワークから受信したパケットが前記中継装置間で送受信されるパケットである場合、前記中継装置間で送受信されるパケットを受信したことを通知する通知部と、
を有する、通信端末。
続きを表示(約 1,000 文字)
【請求項2】
前記中継装置間で送受信されるパケットは、スイッチ間のみで送受信されるパケット、又はルータ間のみで送受信されるパケットを含む、請求項1に記載の通信端末。
【請求項3】
前記中継装置間で送受信されるパケットは、VLANタグが付加されたパケットを含む、請求項1又は2に記載の通信端末。
【請求項4】
前記中継装置間で送受信されるパケットは、MPLSラベルが付加されたパケットを含む、請求項1又は2に記載の通信端末。
【請求項5】
前記中継装置間で送受信されるパケットは、ルーティングプロトコルのヘッダ情報が付加されたパケットを含む、請求項1又は2に記載の通信端末。
【請求項6】
表示画面を表示する表示部を有し、
前記通知部は、前記中継装置間で送受信されるパケットを受信したことを、前記表示画面を用いて通知する、請求項1又は2に記載の通信端末。
【請求項7】
前記通知部は、前記中継装置間で送受信されるパケットを受信したことに対する対応方法を、前記表示画面を用いて通知する、請求項6に記載の通信端末。
【請求項8】
前記ネットワークから受信したパケットのうち、前記通信端末で処理するパケットを選択的に出力するフィルタ処理を実行する宛先フィルタ部を有し、
前記判定部は、前記フィルタ処理を実行する前に、前記ネットワークから受信したパケットが中継装置間で送受信されるパケットであるかを判定する、
請求項1又は2に記載の通信端末。
【請求項9】
ネットワークに接続される通信端末が、
前記ネットワークから受信したパケットが、中継装置間で送受信されるパケットであるかを判定する処理と、
前記ネットワークから受信したパケットが前記中継装置間で送受信されるパケットである場合、前記中継装置間で送受信されるパケットを受信したことを通知する処理と、
を実行する、通信方法。
【請求項10】
ネットワークに接続される通信端末に、
前記ネットワークから受信したパケットが、中継装置間で送受信されるパケットであるかを判定する処理と、
前記ネットワークから受信したパケットが前記中継装置間で送受信されるパケットである場合、前記中継装置間で送受信されるパケットを受信したことを通知する処理と、
を実行させる、プログラム。
発明の詳細な説明
【技術分野】
【0001】
本発明は、通信端末、通信方法、及びプログラムに関する。
続きを表示(約 1,900 文字)
【背景技術】
【0002】
ネットワークパケットを解析して、プロトコルの不具合を検出する技術がある。例えば、パケットの送受信状態に関する状態情報と、の送受信制御処理の不具合を特徴付ける不具合情報との比較結果に基づいて、不具合の発生している送受信制御処理を検出する不具合自動検出装置が知られている(例えば、特許文献1参照)。
【発明の概要】
【発明が解決しようとする課題】
【0003】
特許文献1に開示された従来の技術では、TCP(Transmission Control Protocol)プロトコルのフォーマットチェックにより、不具合検出を行っている。しかし、この方法だけでは、例えば、ルーティングの誤りにより、本来、エッジ端末が受信するはずのないパケットを受信したことを検知し、ネットワーク環境の改善を促すことはできない。
【0004】
本発明の一実施形態は、上記の問題点に鑑みてなされたものであって、ネットワークに接続されるエッジ端末である通信端末において、本来、エッジ端末が受信するはずのないパケットを受信したことを検知し、ネットワーク環境の改善を促すことを可能にする。
【課題を解決するための手段】
【0005】
上記の課題を解決するため、本発明の一実施形態に係る通信端末は、ネットワークに接続される通信端末であって、前記ネットワークから受信したパケットが、中継装置間で送受信されるパケットであるかを判定する判定部と、前記ネットワークから受信したパケットが前記中継装置間で送受信されるパケットである場合、前記中継装置間で送受信されるパケットを受信したことを通知する通知部と、を有する。
【発明の効果】
【0006】
本発明の一実施形態によれば、ネットワークに接続されるエッジ端末である通信端末において、本来、エッジ端末が受信するはずのないパケットを受信したことを検知し、ネットワーク環境の改善を促すことが可能になる。
【図面の簡単な説明】
【0007】
一実施形態に係る通信端末のハードウェア構成の例を示す図である。
一実施形態に係る通信端末の機能構成の例を示す図である。
一実施形態に係るパケット解析部の機能構成の一例を示す図である。
一実施形態に係るパケット解析処理の概要を示すフローチャートである。
第1の実施形態に係るパケット解析処理の例を示すフローチャートである。
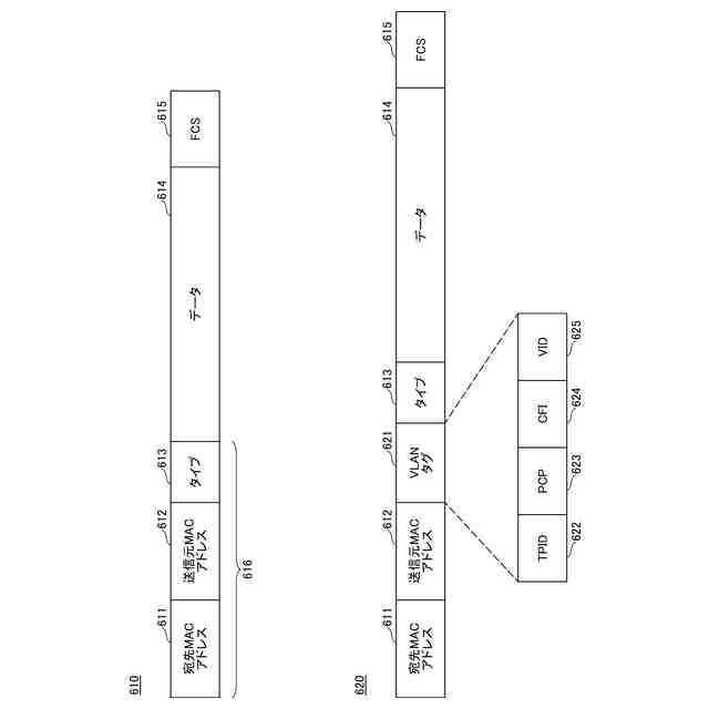
第1の実施形態に係るVLANタグ付加されたパケットの一例を示す図である。
第1の実施形態に係る表示画面の例を示す図(1)である。
第1の実施形態に係る表示画面の例を示す図(2)である。
第2の実施形態に係るパケット解析処理の例を示すフローチャートである。
第2の実施形態に係るMLPSのラベルが付加されたパケットの一例を示す図である。
第2の実施形態に係る表示画面の例を示す図である。
第3の実施形態に係るパケット解析処理の例を示すフローチャートである。
第3の実施形態に係るルーティングプロトコルのヘッダ情報が付加されたパケットの一例を示す図である。
第3の実施形態に係る表示画面の例を示す図である。
一実施形態に係る通信端末の処理の例を示すシーケンス図である。
【発明を実施するための形態】
【0008】
以下、本発明の実施形態について、図面を参照しながら詳細に説明する。
【0009】
<通信端末の構成>
図1は、一実施形態に係る通信端末のハードウェア構成の例を示す図である。通信端末100は、ネットワークに接続されるエッジ端末である。一例として、通信端末100は、例えば、印刷、スキャン、及びコピー等の画像形成処理を実行する画像形成装置である。ただし、通信端末100は、画像形成装置に限られず、ネットワーク接続される様々な端末装置であってよい。
【0010】
例えば、通信端末100は、ビデオ会議装置、プロジェクタ、又はIWB(Interactive White Board:相互通信が可能な電子式の黒板機能を有する白板)等の電子機器であってもよい。また、通信端末100は、例えば、デジタルサイネージ、又はHUD(Head Up Display)装置等の表示装置であってもよい。さらに、通信端末100は、例えば、産業機械、撮像装置、集音装置、医療機器、ネットワーク家電、自動車(Connected Car)、又は車載装置等であってもよい。
(【0011】以降は省略されています)
この特許をJ-PlatPat(特許庁公式サイト)で参照する
関連特許
株式会社リコー
移動体
19日前
株式会社リコー
画像形成装置
今日
株式会社リコー
画像形成装置
5日前
株式会社リコー
画像形成装置
24日前
株式会社リコー
画像形成システム
24日前
株式会社リコー
機器及び異常判定方法
5日前
株式会社リコー
画像形成装置及びシステム
3日前
株式会社リコー
延長トレイ及び画像形成装置
今日
株式会社リコー
印刷装置および印刷システム
24日前
株式会社リコー
定着装置、及び画像形成装置
5日前
株式会社リコー
液体吐出装置及び液体吐出方法
24日前
株式会社リコー
表示装置、切替方法、プログラム
10日前
株式会社リコー
システム、方法およびプログラム
24日前
株式会社リコー
媒体処理装置及び画像形成システム
24日前
株式会社リコー
媒体処理装置及び画像形成システム
今日
株式会社リコー
媒体処理装置及び画像形成システム
24日前
株式会社リコー
媒体処理装置及び画像形成システム
24日前
株式会社リコー
媒体処理装置及び画像形成システム
24日前
株式会社リコー
読取装置、読取方法およびプログラム
今日
株式会社リコー
加熱装置、定着装置及び画像形成装置
4日前
株式会社リコー
処理剤液塗布装置および画像形成装置
24日前
株式会社リコー
シート給送装置及び画像形成システム
6日前
株式会社リコー
シート給紙装置、および画像形成装置
24日前
株式会社リコー
通信装置、通信方法、及びプログラム
3日前
株式会社リコー
通信端末、通信方法、及びプログラム
3日前
株式会社リコー
光源装置、画像投影装置および調整方法
10日前
株式会社リコー
ノード、データ共有方法、及びプログラム
17日前
株式会社リコー
通信装置、状態制御方法、及びプログラム
6日前
株式会社リコー
画像形成装置、及び、プロセスカートリッジ
10日前
株式会社リコー
画像形成装置、情報処理方法及びプログラム
3日前
株式会社リコー
画像形成装置、情報処理方法およびプログラム
24日前
株式会社リコー
画像形成装置、情報処理方法およびプログラム
4日前
株式会社リコー
画像読取装置、画像判定方法およびプログラム
3日前
株式会社リコー
用紙処理装置、用紙処理方法、およびプログラム
24日前
株式会社リコー
モノクロ用光走査装置及びモノクロ画像形成装置
3日前
株式会社リコー
画像処理装置、画像処理方法、およびプログラム
24日前
続きを見る
他の特許を見る