TOP
|
特許
|
意匠
|
商標
特許ウォッチ
Twitter
他の特許を見る
公開番号
2025144341
公報種別
公開特許公報(A)
公開日
2025-10-02
出願番号
2024044077
出願日
2024-03-19
発明の名称
製氷装置及び製氷方法
出願人
島田工業株式会社
代理人
個人
,
個人
主分類
F25C
1/18 20060101AFI20250925BHJP(冷凍または冷却;加熱と冷凍との組み合わせシステム;ヒートポンプシステム;氷の製造または貯蔵;気体の液化または固体化)
要約
【課題】 透明度の高い氷を製造可能な製氷装置及び製氷方法を提供する。
【解決手段】 本願の製氷装置は、液体が収容される容器と、容器内の液体を冷却する冷却器を備え、冷却器は容器の外面に沿って配置される冷媒管を備え、容器の冷媒管が配置された面の内側にその面との間に空間を形成する空間形成体が設けられたものである。本願の製氷装置は、容器内の液体を循環させる循環器や空間形成体を振動させる振動機を備えたものや、空間形成体を容器から取り出す取出しハンドルを備えたものとすることもできる。本願の製氷方法は、容器の外面に沿って配置された冷媒管内の冷媒で容器内の液体を冷却することによって、容器内に空間形成体によって形成された空隙に基礎氷を製造し、基礎氷の製造後も、冷媒による容器内の液体の冷却を継続することによって、空間形成体の基礎氷とは反対の面側に氷を製造する方法である。
【選択図】図1
特許請求の範囲
【請求項1】
製氷装置において、
液体が収容される容器と、
前記容器内の液体を冷却する冷却器を備え、
前記冷却器は、前記容器の外面に沿って配置される冷媒管を備え、
前記容器の前記冷媒管が配置された面の内側に、当該面との間に空間を形成する空間形成体が設けられた、
ことを特徴とする製氷装置。
続きを表示(約 530 文字)
【請求項2】
請求項1記載の製氷装置において、
容器内の液体を循環させる循環器又は/及び空間形成体を振動させる振動機を備えた、
ことを特徴とする製氷装置。
【請求項3】
請求項1記載の製氷装置において、
空間形成体を容器から取り出す取出しハンドルを備えた、
ことを特徴とする製氷装置。
【請求項4】
製氷方法において、
容器の外面に沿って配置された冷媒管内の冷媒で当該容器内の液体を冷却することによって、当該容器内に空間形成体によって形成された空隙に基礎氷を製造し、
前記基礎氷の製造後も、前記冷媒による容器内の液体の冷却を継続することによって、前記空間形成体の基礎氷とは反対の面側に氷を製造する、
ことを特徴とする製氷方法。
【請求項5】
請求項4記載の製氷方法において、
基礎氷の製造及び氷の製造を、容器内の液体を循環させながら行う、
ことを特徴とする製氷方法。
【請求項6】
請求項5記載の製氷方法において、
基礎氷ができるまでの間、液体の循環を停止させておく、
ことを特徴とする製氷方法。
発明の詳細な説明
【技術分野】
【0001】
本発明は、氷(より詳しくは、透明度の高いいわゆる透明氷)の製造装置(製氷装置)及び製造方法(製氷方法)に関する。
続きを表示(約 1,000 文字)
【背景技術】
【0002】
従来、製氷装置として、水を循環させながら冷却して透明氷を製造する水循環式の製氷機が知られている(特許文献1)。
【先行技術文献】
【特許文献】
【0003】
特開平4-214161号公報
【発明の概要】
【発明が解決しようとする課題】
【0004】
透明氷の製造時には、氷の内部が白っぽく濁る(白濁する)ことがある。白濁した氷は高い透明度が求められる製品としては使用することができず、透明氷を取り扱う業界では、解決策の提案が望まれている。
【0005】
本発明は係る事情に鑑みてなされたものであり、その解決課題は、透明度の高い氷を製造することのできる製氷装置及び製氷方法を提案することにある。
【課題を解決するための手段】
【0006】
[製氷装置]
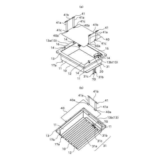
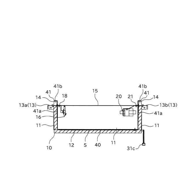
本願の製氷装置は、液体が収容される容器と、容器内の液体を冷却する冷却器を備え、冷却器は容器の外面に沿って配置される冷媒管を備え、容器の冷媒管が配置された面の内側にその面との間に空間を形成する空間形成体が設けられたものである。
【0007】
本願の製氷装置は、容器内の液体を循環させる循環器や空間形成体を振動させる振動機を備えたものとすることもできる。また、本願の製氷装置は、空間形成体を容器から取り出す取出しハンドルを備えたものとすることもできる。
【0008】
[製氷方法]
本願の製氷方法は、容器の外面に沿って配置された冷媒管内の冷媒で容器内の液体を冷却することによって、容器内に空間形成体によって形成された空隙に基礎氷を製造し、基礎氷の製造後も、冷媒による容器内の液体の冷却を継続することによって、空間形成体の基礎氷とは反対の面側に氷を製造する方法である。
【0009】
本願の製氷方法は、基礎氷の製造及び氷の製造を、容器内の液体を循環させながら行うこともできる。このほか、本願の製氷方法は、基礎氷ができるまでの間、液体の循環を停止させておくこともできる。
【発明の効果】
【0010】
本願の製氷装置及び製氷方法によれば、透明度の高い氷を製造することができる。
【図面の簡単な説明】
(【0011】以降は省略されています)
この特許をJ-PlatPat(特許庁公式サイト)で参照する
関連特許
島田工業株式会社
製氷装置及び製氷方法
5日前
タニコー株式会社
貯水槽
1か月前
株式会社コロナ
ヒートポンプ装置
1か月前
アクア株式会社
冷蔵庫
1か月前
アクア株式会社
冷蔵庫
2か月前
ホシザキ株式会社
製氷機
12日前
個人
ヒートポンプ型空気調和機
18日前
富士電機株式会社
冷却装置
11日前
富士電機株式会社
冷却装置
1か月前
株式会社ツインバード
スターリング機関
1か月前
富士電機株式会社
冷却装置
1か月前
シャープ株式会社
冷却庫
2か月前
シャープ株式会社
冷蔵庫
2か月前
シャープ株式会社
冷蔵庫
2か月前
富士ベンダーサービス株式会社
保管庫
20日前
シャープ株式会社
冷却庫
2か月前
富士電機株式会社
冷却システム
27日前
個人
液体窒素凝縮による冷凍サイクル
1か月前
シャープ株式会社
冷蔵庫
1か月前
シャープ株式会社
冷却装置
2か月前
三菱重工冷熱株式会社
低温冷水供給装置
18日前
シャープ株式会社
冷却装置
1か月前
株式会社ゼロカラ
冷凍装置
1か月前
シャープ株式会社
冷却装置
2か月前
株式会社前川製作所
冷凍機
2か月前
アクア株式会社
冷蔵庫
5日前
シャープ株式会社
冷蔵庫
26日前
FrostiX株式会社
急速冷凍装置
1か月前
ホシザキ株式会社
液体凍結装置
1か月前
シャープ株式会社
冷蔵庫
18日前
工機ホールディングス株式会社
冷蔵庫
2か月前
株式会社アイシン
冷暖房システム
4日前
島田工業株式会社
製氷装置及び製氷方法
5日前
タキゲン製造株式会社
冷蔵庫の庫内気圧調整装置
1か月前
株式会社オカムラ
故障予知システム
12日前
東芝ライフスタイル株式会社
冷蔵庫
1か月前
続きを見る
他の特許を見る