TOP
|
特許
|
意匠
|
商標
特許ウォッチ
Twitter
他の特許を見る
公開番号
2025127676
公報種別
公開特許公報(A)
公開日
2025-09-02
出願番号
2024024516
出願日
2024-02-21
発明の名称
冷蔵庫の庫内気圧調整装置
出願人
タキゲン製造株式会社
代理人
個人
主分類
F25D
23/00 20060101AFI20250826BHJP(冷凍または冷却;加熱と冷凍との組み合わせシステム;ヒートポンプシステム;氷の製造または貯蔵;気体の液化または固体化)
要約
【課題】2つの既存のベンチレータを簡易に結合して、二倍の性能を持つ一つの気圧調整装置を構成する。
【解決手段】庫内気圧調整装置1は、壁パネルPの開口部P1の庫内側前面の周縁部に固着される上下左右の固定板部22を周縁に具備する庫内ルーバー2と、当該庫内ルーバー2に固着される上部及び下部の2つのベンチレータ3,4とを具備する。ベンチレータ3,4は、鍔部34、44と、吸気側及び排気側の弁33,43が組み付けられる弁座部32,42とを有する弁枠体31,41を具備する。上部及び下部ベンチレータ3,4は、鍔部34,44の前面が庫内ルーバー2の固定板部22の内側面と通気口21間の板部23に固着される。庫内ルーバー2は、固定板部22を上部及び下部ベンチレータ3,4の鍔部34,44と重ねて開口部P1の前面側周縁部に固着される。
【選択図】図1
特許請求の範囲
【請求項1】
冷蔵庫の壁パネルに形成された矩形の開口部の庫内側前面の周縁部に固着される上下左右の固定板部を周縁に具備する庫内ルーバーと、当該庫内ルーバーに固着される上部及び下部の2つのベンチレータとを具備し、
前記ベンチレータは、横長矩形枠状をなす上下左右の鍔部と、吸気側及び排気側の弁が組み付けられる弁座部とを有する弁枠体を具備し、前記開口部の約1/2大の適合開口部の前面側周縁部に前記上下左右の鍔部を固着して単独使用可能に構成され、
前記庫内ルーバーは、矩形のアルミ板材に横方向細長の通気口を上下に相互間隔を置いて多数形成してなり、
前記上部ベンチレータは、前記上鍔部及び左右鍔部の前面が前記庫内ルーバーの上部及び左右固定板部の内側面に固着され、下鍔部の前面が前記庫内ルーバーの上下方向中央部に位置する上下2つの通気口間の板部に固着され、
前記下部ベンチレータは、前記下鍔部及び左右鍔部の前面が前記庫内ルーバーの下部及び左右固定板部の内側面に固着され、上鍔部の前面が前記庫内ルーバーの上下方向中央部に位置する上下2つの通気口間の板部に固着され、
前記庫内ルーバーは、前記上下左右の固定板部を前記上部及び下部ベンチレータの鍔部と重ねて前記開口部の前面側周縁部に固着されることを特徴とする冷蔵庫の庫内気圧調整装置。
発明の詳細な説明
【技術分野】
【0001】
本発明は、冷蔵・冷凍庫等の庫内と庫内の気圧を調整する装置に関する。
続きを表示(約 1,900 文字)
【背景技術】
【0002】
従来、冷蔵庫の内外圧力均衡化装置として、特許文献1に記載されたものが知られている。この装置は、冷蔵庫の庫壁に形成された貫通孔に嵌められ、かつ貫通孔を塞ぎうるボディを備える。ボディは、庫内側に向かって下方に傾斜した第1の傾斜壁部と、庫内側に向かって上方に傾斜した第2の傾斜壁部とを具備する。各傾斜壁部は、開口を有する。両傾斜壁部の上面側に、それぞれ開口を閉鎖するシリコンゴムからなる常閉弁が設けられる。各常閉弁の上端部が各傾斜壁部における開口よりも上方の部分に固定される。ボディの周縁のフランジが、ルーバーの周縁と重ねて開口の周縁にねじ止めされる。
【先行技術文献】
【特許文献】
【0003】
特開平9-269183号公報
【発明の概要】
【発明が解決しようとする課題】
【0004】
冷蔵庫は、その大きさ等種々の条件により、より大きな通気口を必要とすることがある。上記従来の内外圧力均衡化装置は、特定の大きさの通気口に適合するように設計、製作されるため、より大きな通気口を必要とする冷蔵庫に適用する場合には、装置に適合する大きさの通気口を複数形成し、これらに個別に装置を取り付けなければならず、作業が繁雑であルーバーかりでなく、外観を損ねるという問題点がある。
従って、本発明は、2つの既存のベンチレータを簡易に結合して二倍の性能を持つ一つの気圧調整装置を構成することを課題とする。
【課題を解決するための手段】
【0005】
以下の説明において添付図面の符号を参照するが、本発明はこれに限定されるものではない。
上記課題を解決するための、本発明に係る冷蔵庫の庫内気圧調整装置1は、冷蔵庫の壁パネルPに形成された矩形の開口部P1の庫内側前面の周縁部に固着される上下左右の固定板部22を周縁に具備する庫内ルーバー2と、当該庫内ルーバー2に固着される上部及び下部の2つのベンチレータ3,4とを具備する。ベンチレータ3,4は、横長矩形枠状をなす上下左右の鍔部34、44と、吸気側及び排気側の弁33,43が組み付けられる弁座部32,42とを有する弁枠体31,41を具備し、開口部P1の約1/2大の適合開口部の前面側周縁部に上下左右の鍔部34,44を固着して単独使用可能に構成される。庫内ルーバー2は、矩形のアルミ板材に横方向細長の通気口21を上下に相互間隔を置いて多数形成してなる。上部ベンチレータ3は、上鍔部34a及び左右鍔部34c、34dの前面が庫内ルーバー2の上部及び左右固定板部22a,22c、22dの内側面に固着され、下鍔部34bの前面が庫内ルーバー2の上下方向中央部に位置する上下2つの通気口21間の板部23に固着される。下部ベンチレータ4は、下鍔部44b及び左右鍔部44c,44dの前面が庫内ルーバー2の下部22b及び左右固定板部22c,22dの内側面に固着され、上鍔部44aの前面が庫内ルーバー2の上下方向中央部に位置する上下2つの通気口21間の板部23に固着される。庫内ルーバー2は、上下左右の固定板部22を上部及び下部ベンチレータ3,4の鍔部34,44と重ねて開口部P1の前面側周縁部に固着される。
【発明の効果】
【0006】
本発明によれば、単独で使用できる2つの既存のベンチレータを簡易に結合して、二倍の性能を持つ一つの気圧調整装置を構成することができる。
【図面の簡単な説明】
【0007】
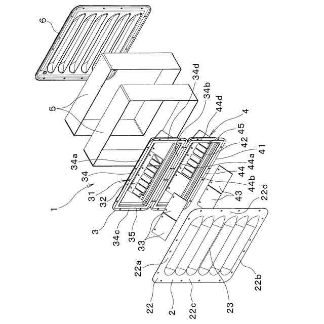
本発明に係る庫内気圧調整装置の分解斜視図である。
図1の庫内気圧調整装置の庫内ルーバーを除去した状態の正面図である。
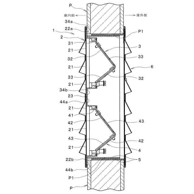
図1の庫内気圧調整装置の設置状態の断面図である。
【発明を実施するための形態】
【0008】
図面を参照して本発明の実施の形態を説明する。
庫内気圧調整装置1は、庫内ルーバー2と、これに固着される上部及び下部の2つのベンチレータ3,4とを具備する。
【0009】
庫内ルーバー2は、矩形のアルミ板材に横方向細長の通気口21を上下に相互間隔を置いて多数形成してなる。庫内ルーバー2は、冷蔵庫の壁パネルPに形成された矩形の開口部P1の庫内側前面の周縁部に固着される上下左右の固定板部22a,22b,22c,22dを周縁に具備する。
【0010】
ベンチレータ3,4は、それぞれ弁枠体31,41の弁座部32,42に、吸気側及び排気側の弁33,43が組み付けられてなる。弁枠体31,41は、横長矩形枠状をなす上下左右の鍔部34,44を具備する。
(【0011】以降は省略されています)
この特許をJ-PlatPat(特許庁公式サイト)で参照する
関連特許
タニコー株式会社
貯水槽
1か月前
株式会社コロナ
ヒートポンプ装置
1か月前
アクア株式会社
冷蔵庫
1か月前
アクア株式会社
冷蔵庫
2か月前
個人
ヒートポンプ型空気調和機
21日前
ホシザキ株式会社
製氷機
15日前
富士電機株式会社
冷却装置
14日前
富士電機株式会社
冷却装置
1か月前
富士電機株式会社
冷却装置
1か月前
株式会社ツインバード
スターリング機関
1か月前
個人
液体窒素凝縮による冷凍サイクル
1か月前
富士電機株式会社
冷却システム
1か月前
富士ベンダーサービス株式会社
保管庫
23日前
シャープ株式会社
冷蔵庫
1か月前
フクシマガリレイ株式会社
ショーケース
2日前
三菱重工冷熱株式会社
低温冷水供給装置
21日前
シャープ株式会社
冷却装置
2か月前
株式会社ゼロカラ
冷凍装置
1か月前
シャープ株式会社
冷却装置
1か月前
アクア株式会社
冷蔵庫
8日前
シャープ株式会社
冷蔵庫
29日前
シャープ株式会社
冷蔵庫
21日前
ホシザキ株式会社
液体凍結装置
1か月前
FrostiX株式会社
急速冷凍装置
1か月前
工機ホールディングス株式会社
冷蔵庫
2か月前
株式会社アイシン
冷暖房システム
7日前
島田工業株式会社
製氷装置及び製氷方法
8日前
株式会社オカムラ
故障予知システム
15日前
タキゲン製造株式会社
冷蔵庫の庫内気圧調整装置
1か月前
株式会社富士通ゼネラル
冷凍サイクル装置
1日前
株式会社富士通ゼネラル
冷凍サイクル装置
1日前
東芝ライフスタイル株式会社
冷蔵庫
1か月前
シャープ株式会社
収容庫および冷蔵庫
1か月前
三菱重工冷熱株式会社
冷却装置
23日前
三菱重工冷熱株式会社
冷却装置
1か月前
富士電機株式会社
店舗用冷却装置制御システム
15日前
続きを見る
他の特許を見る