TOP
|
特許
|
意匠
|
商標
特許ウォッチ
Twitter
他の特許を見る
公開番号
2025125902
公報種別
公開特許公報(A)
公開日
2025-08-28
出願番号
2024022161
出願日
2024-02-16
発明の名称
急速冷凍装置
出願人
FrostiX株式会社
代理人
個人
,
個人
主分類
F25D
13/06 20060101AFI20250821BHJP(冷凍または冷却;加熱と冷凍との組み合わせシステム;ヒートポンプシステム;氷の製造または貯蔵;気体の液化または固体化)
要約
【課題】形状の崩れやすい物品であっても、形を崩すことなく、急速に冷凍できる急速冷凍装置を提供する。
【解決手段】本発明の急速冷凍装置は、四角柱状の内部に載置した被冷凍物を冷凍するために、天井面、底面、及び、2つの側面に、冷媒が循環流通する管が当接している冷却プレートが配置されている。冷却プレートは、奥面及び入り口ドア面にも配置されている閉空間を構成する急速冷凍装置であるか、ベルトコンベア上の被冷凍物が四角柱状の内部を移動する間に、被冷凍物を冷凍する急速冷凍装置である。
【選択図】図1
特許請求の範囲
【請求項1】
四角柱状の内部に載置した被冷凍物を冷凍するために、天井面、底面、及び、2つの側面に、冷媒が循環流通する管が当接している冷却プレート又は内部に冷媒が流通する冷却プレートが配置された急速冷凍装置。
続きを表示(約 290 文字)
【請求項2】
前記四角柱状は、立方体形状である、請求項1に記載された急速冷凍装置。
【請求項3】
前記冷却プレートは、奥面及び入り口ドア面にも配置されている、請求項1又は請求項2に記載された急速冷凍装置。
【請求項4】
底面と、断面が円弧状又は楕円弧状である長尺状の壁面とが、冷媒が循環流通する管が当接している冷却プレート又は内部に冷媒が流通する冷却プレートにより構成された急速冷凍装置。
【請求項5】
ベルトコンベア上の被冷凍物が移動する間に、前記被冷凍物を冷凍する、請求項1又は請求項4に記載された急速冷凍装置。
発明の詳細な説明
【技術分野】
【0001】
本発明は、急速冷凍装置に関する。
続きを表示(約 2,600 文字)
【背景技術】
【0002】
近年、冷凍食品はその利便性とコスト、短い調理時間からニーズが高まっている。
特許文献1には、魚介類、肉等の冷凍において、氷スラリーを用いた急速冷凍によって高品質の冷凍が可能であり、解凍すれば凍結前の状態に戻る冷凍手法が記載されている。
特許文献2には、断熱構造体のキャビネットの内部に送風機が設けられた凍結庫内に収納された凍結対象の食材を冷風(エアブラスト)で凍結させる方法が記載されている。
【先行技術文献】
【特許文献】
【0003】
国際公開2017/086461号公報
特開2006-046675号公報
【発明の概要】
【発明が解決しようとする課題】
【0004】
しかしながら、特許文献1の発明は、生クリームケーキ等の形状が崩れやすい食品やウニなどの形の崩れやすい生鮮海産物を冷凍させようとした場合、冷凍対象物を真空パックすることができないので、冷媒が直接冷凍対象物に触れることになり、冷凍対象物の形が変形してしまうおそれがある。このため、形状が崩れやすい食品に対し、氷スラリーを用いた急速冷凍は困難であった。
また、特許文献2の発明では、冷風を冷凍対象物に吹き付けることになるが、冷風の速度が遅いと急速冷凍ができず、逆に冷風の速度が速いと食品が乾燥し、食品の風味・香りが空気流によって飛ばされ、冷凍品を解凍したときに冷凍前の美味しい状態に戻らないおそれがある。しかも、冷風の速度が速いと、冷凍対象物の形状が崩れてしまうおそれがある。
さらに、冷風式の場合、冷凍対象物を収納する空間内において、自然対流が発生し、底面付近よりも天井面付近の温度が高くなり、空間内の温度が不均一になるため、冷凍対象物も均一温度で凍結しないおそれがある。結果として、冷凍対象物の品質や形状に悪影響を及ぼすことに繋がりやすい。
【0005】
本発明は、形状の崩れやすい物品であっても、形を崩すことなく、急速に冷凍できる急速冷凍装置を提供することを目的とする。
【課題を解決するための手段】
【0006】
請求項1に記載された発明は、四角柱状の内部に載置した被冷凍物を冷凍するために、天井面、底面、及び、2つの側面に、冷媒が循環流通する管が当接している冷却プレート又は内部に冷媒が流通する冷却プレートが配置された急速冷凍装置である。
請求項2に記載された発明は、前記四角柱状は、立方体形状である、請求項1に記載された急速冷凍装置である。
請求項3に記載された発明は、前記冷却プレートは、奥面及び入り口ドア面にも配置されている、請求項1又は請求項2に記載された急速冷凍装置である。
請求項4に記載された発明は、底面と、断面が円弧状又は楕円弧状である長尺状の壁面とが、冷媒が循環流通する管が当接している冷却プレート又は内部に冷媒が流通する冷却プレートにより構成された急速冷凍装置である。
請求項5に記載された発明は、ベルトコンベア上の被冷凍物が移動する間に、前記被冷凍物を冷凍する、請求項1又は請求項4に記載された急速冷凍装置である。
【発明の効果】
【0007】
本発明によれば、形状の崩れやすい物品であっても、形を崩すことなく、急速に冷凍できる急速冷凍装置を提供することができる。
【図面の簡単な説明】
【0008】
本実施の形態が適用される急速冷凍装置の外観を示す斜視図である。
冷却プレートの構造を示す図である。
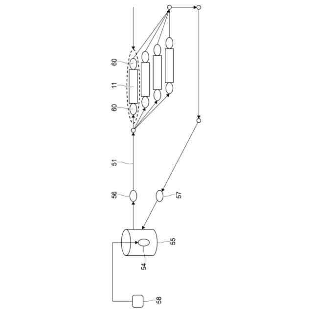
氷スラリー製氷機を示す図である。
氷スラリーの循環経路を示す図である。
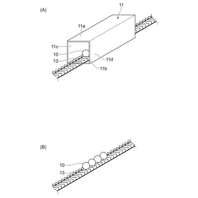
(A)は、本実施の形態が適用される急速冷凍装置の外観を示す斜視図であり、(B)は、引き出し式の冷凍対象物載置台を示す斜視図である。
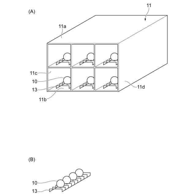
(A)は、本実施の形態が適用される急速冷凍装置の外観を示す斜視図であり、(B)は、ベルトコンベア式の冷凍対象物載置台を示す斜視図である。
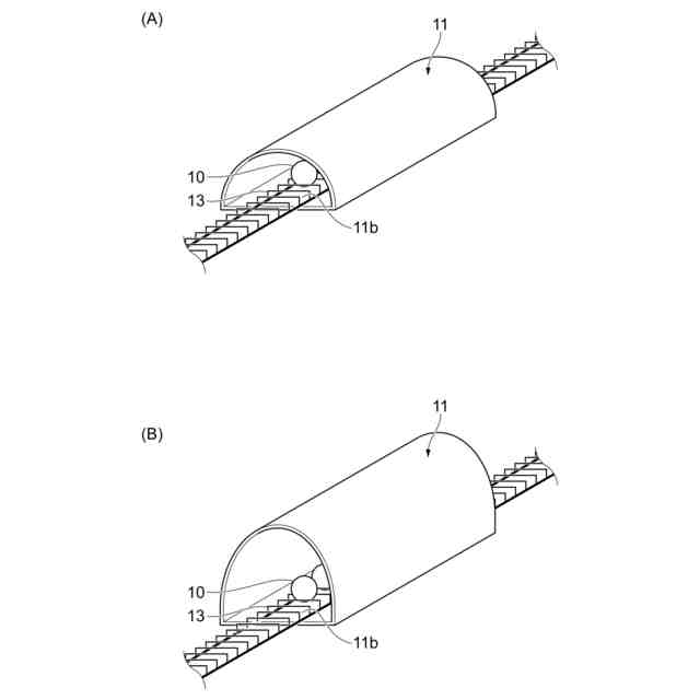
(A)は、冷却プレートの断面が円弧状の形状からなる壁を有する急速冷凍装置を示す図であり、(B)は、冷却プレートの断面が楕円弧状の形状からなる壁を有する急速冷凍装置を示す図である。
【発明を実施するための形態】
【0009】
以下、添付図面を参照して、本発明の実施の形態について詳細に説明する。
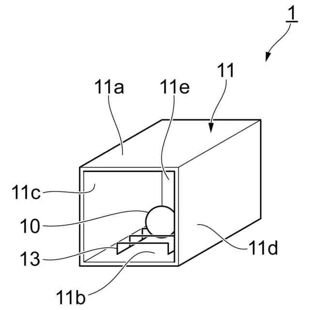
図1は、本実施の形態が適用される急速冷凍装置1の外観を示す斜視図である。
急速冷凍装置1は、冷凍対象物10を急速に冷凍させる装置であり、立方体の6つの面(天井面11a、底面11b、2つの側面11c、11d、奥面11e、(図示しない)入り口ドア面11f)に冷却プレート11が配置されている。ただし、図1では、入り口ドア面11fの冷却プレートは図示されておらず、冷却プレート11が省略され、内部が見える状態が示されている。急速冷凍装置1に収納された冷凍対象物10は、底面11b上に直接接触したまま凍結すると、冷凍対象物10が底面11bから離れにくくなり、冷凍対象物10の取出しが困難になる。このため、冷凍対象物10を載置するための冷凍対象物載置台13が底面11bの上に設けられている。冷凍対象物載置台13は、冷凍対象物10との接触面積はできるだけ小さく、しかも底面11bからの冷熱輻射を実質的に遮らない形状であることが好ましい。例えば、冷凍対象物載置台13は、コの字状の金属製のワイヤが複数配置されることで、冷凍対象物10を載置可能な台として構成されている。
【0010】
急速冷凍装置1を構成する収納セルは、冷凍又は冷蔵する物品を収納するための上面、底面、4つの側面から構成される空間である。収納セルの上面と底面には、断熱材及び/又は冷却プレート11が配置されていてよい。開閉式のドアは常時閉状態であるが、物品の搬入や搬出が行われる際にのみ開状態となる。このように、収納セルは、上面、底面、4つの側面を断熱材で閉じられた空間である。このため、冷気が逃げにくい構造を提供できる。例えば、収納セル12は、一辺の長さが30~50cmの立方体形状の空間である。
(【0011】以降は省略されています)
この特許をJ-PlatPat(特許庁公式サイト)で参照する
関連特許
タニコー株式会社
貯水槽
1か月前
アクア株式会社
冷蔵庫
1か月前
ホシザキ株式会社
製氷機
26日前
個人
ヒートポンプ型空気調和機
1か月前
富士電機株式会社
冷却装置
1か月前
富士電機株式会社
冷却装置
25日前
フクシマガリレイ株式会社
断熱扉
今日
富士電機株式会社
冷却装置
2か月前
ホシザキ株式会社
冷凍装置
4日前
個人
液体窒素凝縮による冷凍サイクル
1か月前
富士ベンダーサービス株式会社
保管庫
1か月前
富士電機株式会社
冷却システム
1か月前
ダイキン工業株式会社
冷凍装置
11日前
シャープ株式会社
冷蔵庫
1か月前
フクシマガリレイ株式会社
冷却貯蔵庫
4日前
フクシマガリレイ株式会社
ショーケース
13日前
三菱重工冷熱株式会社
低温冷水供給装置
1か月前
株式会社ゼロカラ
冷凍装置
2か月前
シャープ株式会社
冷却装置
1か月前
アクア株式会社
冷蔵庫
19日前
ダイキン工業株式会社
冷媒充填方法
11日前
シャープ株式会社
冷蔵庫
1か月前
シャープ株式会社
冷蔵庫
1か月前
フクシマガリレイ株式会社
商品販売システム
6日前
FrostiX株式会社
急速冷凍装置
1か月前
ホシザキ株式会社
液体凍結装置
1か月前
島田工業株式会社
製氷装置及び製氷方法
19日前
株式会社アイシン
冷暖房システム
18日前
東芝ライフスタイル株式会社
冷蔵庫
1か月前
タキゲン製造株式会社
冷蔵庫の庫内気圧調整装置
1か月前
株式会社富士通ゼネラル
冷凍サイクル装置
5日前
株式会社前川製作所
冷却装置
11日前
株式会社オカムラ
故障予知システム
26日前
株式会社富士通ゼネラル
冷凍サイクル装置
12日前
株式会社富士通ゼネラル
冷凍サイクル装置
12日前
東芝ライフスタイル株式会社
冷却装置
6日前
続きを見る
他の特許を見る